Fil:TOSLO-2017-82749-bilde10.jpg
Utseende
Størrelse på denne forhåndsvisningen: 448 × 600 piksler. Annen oppløsning: 523 × 700 piksler.
Opprinnelig fil (523 × 700 piksler, filstørrelse: 88 KB, MIME-type: image/jpeg)
Beskrivelse
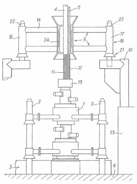
Saken gjaldt gyldigheten av tre patenter relatert til undervanns brønnhodefundamenter. Bilde 10. TOSLO-2017-82749
Filhistorikk
Klikk på et tidspunkt for å vise filen slik den var på det tidspunktet.
| Dato/klokkeslett | Miniatyrbilde | Dimensjoner | Bruker | Kommentar | |
|---|---|---|---|---|---|
| nåværende | 2. jan. 2022 kl. 13:08 | 523 × 700 (88 KB) | FredrikL (diskusjon | bidrag) | Saken gjaldt gyldigheten av tre patenter relatert til undervanns brønnhodefundamenter. Bilde 10. TOSLO-2017-82749 |
Du kan ikke overskrive denne filen.
Filbruk
Den følgende siden bruker denne filen: