Fil:TOSLO-2017-82749-bilde9.jpg
Størrelse på denne forhåndsvisningen: 741 × 599 piksler. Annen oppløsning: 843 × 682 piksler.
Opprinnelig fil (843 × 682 piksler, filstørrelse: 139 KB, MIME-type: image/jpeg)
Beskrivelse
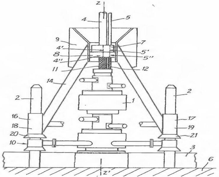
Saken gjaldt gyldigheten av tre patenter relatert til undervanns brønnhodefundamenter. Bilde 9. TOSLO-2017-82749
Filhistorikk
Klikk på et tidspunkt for å vise filen slik den var på det tidspunktet.
| Dato/klokkeslett | Miniatyrbilde | Dimensjoner | Bruker | Kommentar | |
|---|---|---|---|---|---|
| nåværende | 2. jan. 2022 kl. 13:07 | 843 × 682 (139 KB) | FredrikL (diskusjon | bidrag) | Saken gjaldt gyldigheten av tre patenter relatert til undervanns brønnhodefundamenter. Bilde 9. TOSLO-2017-82749 |
Du kan ikke overskrive denne filen.
Filbruk
Den følgende siden bruker denne filen: