TOSLO-2018-94073
| Instans: | Oslo tingrett - Dom og kjennelse |
|---|---|
| Dato: | 2020-10-08 |
| Publisert: | TOSLO-2018-94073 |
| Stikkord: | Patentrett, Patentinngrep, Oppfinnelseshøyde, Erstatning, Rimelig lisensavgift, Sakskostnader |
| Sammendrag: | Saken gjaldt gyldigheten av og inngrep i patent, samt forbud og pengekrav i tilfelle patentinngrep forelå.
Saken omhandlet utstyr som brukes i forbindelse med oljeproduksjon, der ventiltrærne står på havbunnen over brønnen og oljen føres derfra til produksjons-innretningen. Tingretten kom til at Stridspatentet var gyldig og Subsea Solutions (SSS) ble tilkjent dobbel lisensavgift med 6 millioner kroner Retten mente: Selv om ingen av partene vant saken fullt ut, kom retten til at Vetco skulle erstatte 75 % av Subsea Solutions sine sakskostnader med totalt kr 5.557.267. |
| Saksgang: | Oslo tingrett TOSLO-2018-94073 (sak nr. 18-094073TVI-OTIR/04) |
| Parter: | Subsea Solutions AS, Subsea Smart Solutions AS (advokat Thomas Hagen, advokat David Særsten Brambani, advokat Halvor Manshaus) mot Vetco Gray Scandinavia AS (advokat Gunnar Sørlie, advokat Emily Kathrine Firing, advokat Are Stenvik) |
| Forfatter: | Tingrettsdommer Per Kaare Nerdrum, Meddommer Tor Engebret Onshus, Meddommer Hans Langan |
| Lovhenvisninger: | Patentloven (1967) §1, §2, §3, §8, §39, §52, §56a, §58, §66, Voldgiftsloven (2004) §7, Tvisteloven (2005) §19-7, §20-2, §20-3, §20-4, §20-5, §20-8, §21-4, §26-5, §26-6, Tvistemålsloven (1915) §176, Rettsgebyrloven (1982) §2, §8, Tvangsfullbyrdelsesloven (1992) §4-1 |
Saken gjelder gyldigheten av og inngrep i patent NO 332 486, samt forbud og pengekrav i tilfelle patentinngrep foreligger.
1. Sakens teknologiområde, parter og øvrige aktører
1.1 Sakens teknologiområde
Saken handler om utstyr som brukes i forbindelse med oljeproduksjon, der ventiltrærne står på havbunnen over brønnen og oljen føres derfra til produksjons-innretningen. På toppen av ventiltreet sitter et lokk («ventiltrekappe» eller «kappe» – engelsk «tree cap») som er med på å isolere brønnen fra omgivelsene. Dette lokket kan fjernes for å gi tilgang til brønnen for diverse operasjoner.
I brønnen kan det dannes belegg og for å fjerne dette gjennomføres såkalt avleiringsbehandling ved at kjemikalier pumpes ned i brønnen for å løse opp avleiringene.
Hvis en har en brønnhendelse der en ikke lenger har full kontroll over forholdene i brønnen gjennomføres en såkalt brønndreping der tung væske pumpes ned i brønnen til vekten av væskesøylen balanser ut trykket nede i formasjonen.
1.2 Torfinn Borsheim og saksøkerne Subsea Solutions/Smart Subsea Solutions
Torfinn Borsheim (“Borsheim”) er oppført som eneste oppfinner av NO 332 486 («Stridspatentet»). Han er utdannet prosesstekniker, med arbeidserfaring fra blant annet brønntesting hos Schlumberger 1996-98, teknisk koordinator, undervanns prosjektkoordinator, undervanns prosjektmanager, undervannsingeniør mv hos Vetco (den gang ABB) 1998-2006, og brønningeniør hos Statoil 2006-2009. Fra 2009 har han drevet selvstendig konsulentvirksomhet særlig rettet mot stigerør-løs brønnintervensjon, og har herunder hatt oppdrag for Shell på Draugen-feltet i årene 2009-2014.
Borsheim har gjort flere patenterbare oppfinnelser. Foruten Stridspatentet er han også oppfinner av en anordning og fremgangsmåte for å forlenge levetiden av et ventiltre eller en navlestreng[1], og av en anordning og fremgangsmåte for å forlenge levetiden av et brønnhode[2].
Borsheim stiftet Subsea Smart Solutions AS i 2011, og er daglig leder for selskapet. Det er innehaver av Stridspatentet, og er opplyst å være eiet i dag av Borsheim med 30 %, av Habu Holding AS med 60 % og en privat investor med 5 %. Habu Holding AS er opplyst å være et privat investeringsselskap med fokus på energisektoren. Subsea Solutions AS stiftet 2016 har enerett til å markedsføre Stridspatentet på vegne av Subsea Smart Solutions AS. I det følgende benevnes begge selskaper på saksøker-siden «SSS» eller «Saksøker», men mindre det er nødvendig å skille særskilt mellom dem.
Side:4
1.3 Vetco Gray Scandinavia AS
Saksøkte Vetco Gray Scandinavia AS («Vetco») er en internasjonal leverandør av komplette undervanns-løsninger og -utstyr til oljeindustrien, samt tilhørende tjenester som feltingeniører, reparasjon og vedlikehold mv. Virksomheten i Norge ble kjøpt av ABB i 1981, som solgte den til britiske finansinstitusjoner i 2004, som solgte den videre til General Electrics («GE») i 2007. Virksomheten fusjonerte med Baker Hughes («Baker Hughes») i 2017, som er oppgitt å være en av verdens ledende leverandører av utstyr og tjenester til oljeselskaper. I mange av sakens dokumenter mellom 2007 og 2017 er virksomheten følgelig omtalt som GE Oil & Gas eller bare GE. I det følgende benevnes selskapet som Vetco, unntatt ved sitat fra dokumenter der andre selskapsnavn er benyttet.
Baker Hughes-konsernet har ca 56 000 ansatte totalt, hvorav Vetco skal ha drøyt 500 ansatte i Norge. Det er oppgitt at Vetco har en markedsandel på ca 1/3 i Norge og er leverandør til 25 av totalt 46 operatørselskaper på norsk sektor. Herunder har Vetco levert ventiltrær med tilhørende utstyr og tjenester til Shell som operatør på Draugen-feltet. Både GE og Baker Hughes anser Vetco som et teknologiselskap. Vetco er innehaver en rekke patenter selv, og evaluerer regelmessig rekkevidden av både egne og andres patenter.
1.4 Enpro
Enpro Subsea («Enpro») ble stiftet i 2011 og er et skotsk selskap som spesialiserer seg i undervanns produksjonsteknologi med datterselskap i Norge, USA og Ghana. I mai 2015 inngikk Enpro og Vetco en ikke-eksklusiv samarbeidsavtale om felles markedsføring og salg av systemer og tjenester for brønn-intervensjon[3]. Vetco og Enpro samarbeidet om i alle fall to avleiringsprosjekter – Draugen-feltet for Shell og et prosjekt utenfor Ghana. Samarbeidsavtalen mellom Vetco og Enpro ble etter det opplyste avsluttet ca 2018.
Tingretten nevner allerede her at Enpros daglige leder Ian Donald var oppfinner av både US 514-patentet med tidsprioritet fra 14 mai 1999 og av WO 2005/047646A1 med tidsprioritet fra 2003-2004, i tillegg til at han holdt MARS Scale Squeeze frokostpresentasjon i mai 2009[4]. Tingretten kommer tilbake til disses betydning nedenfor.
1.5 Shell (OKEA) og Draugen-feltet
Shell var 44,56 % deltaker og operatør på Draugen-feltet. Øvrige feltdeltakere er Petoro (47,88 %) og Neptune Energy Norge (7,56 %). I 2018 overtok OKEA alle Shells interesser i Draugen og Gjøa-feltet inkludert operatørskapet på Draugen mot et rent kontantoppgjør.
Draugen-feltet ble funnet i 1984 i den sørlige del av Norskehavet nordvest for Trondheim. Vanndybden er 250 meter, reservoartrykket ca 5 000 psi og feltet produserer olje fra to formasjoner på ca 1 600 meters dyp gjennom en bunnfast betonginnretning. Feltet ble satt i
Side:5
produksjon 19 oktober 1993, og benytter både plattform- og havbunnsbrønner. Oljen losses fra tanker i betong-innretningens sokkel via en flytende lastebøye til tankskip.
2. Kort om Stridspatentet og sakens bakgrunn
2.1 Stridspatentet
Søknaden for Stridspatentet ble innlevert 24 mai 2011 og gjort offentlig tilgjengelig 18 januar 2012[5]. Patentet ble meddelt 1 oktober 2012[6]. Patentet er benevnt «Fremgangsmåte og anordning for å tilføre væske for avleiringsbehandling og brønndreping til en undervannsbrønn». Det innehas av Subsea Solutions AS og angir Borsheim som oppfinner.
Patentets sammendrag lyder:
Tingretten kommer utførlig tilbake til patentkravene i pkt 7 nedenfor.
2.2 Sakens faktiske bakgrunn
Tingretten bygger på at SSS etter at patentsøknader var innlevert søkte å selge sine patentsøkte oppfinnelser til kunder og/eller få inn investorer på eiersiden i selskapet ved
Side:6
flere anledninger og gjennom flere år. I SSS’ årsberetning for 2011 avgitt 20 juni 2012 heter det således[7]:
«Aksjekapitalen er tapt som følge av en lang avtaleprosess med internasjonal aktør på norsk sokkel. Signering og bestilling var i utgangspunktet satt til mai 2012, men ble i stedet løftet opp på internasjonalt beslutningsnivå da systemet vårt ansees som viktig og ønskes implementert på alle brønner i hele verden. Ytterligere dokumentasjon ble etterspurt og dermed ble signering/bestilling utsatt. Styret har god tro på at produksjon starter opp høsten 2012 og dermed har gode utsikter til fortsatt drift.»
Enkelte dokumenter knyttet til disse forsøkene er undergitt taushetsplikt, jf tingrettens kjennelse av 14 januar 2020. Etter tvisteloven § 19-6 (5) skal en dom gi en konsentrert beskrivelse av sakens bakgrunn «... så langt det er nødvendig for å forklare avgjørelsen.» Sammenfatningsvis finner tingretten det tilstrekkelig å nevne
- At SSS ble bistått i dette arbeidet av et ledende norsk verdipapirforetak tilknyttet en større norsk bankgruppering, som utarbeidet en omfattende, konfidensiell presentasjon av SSS og dets produkter – muligens i 2014 («Presentasjonen»)[8]. Tingretten bygger på som mest sannsynlig at Presentasjonen ble gjort kjent for både Shell og Vetco etter inngåelse av særskilte konfidensialitetsavtaler, og at SSS modifiserte data-arket for sitt avleirings-produkt på Shells/Vetcos anmodning i februar 2013[9].
SSS sendte senere ytterligere en powerpoint-presentasjon av selskapet og dets produkter med særlig vekt på avleiringsbehandling til Vetco i juni 2014[10], og deretter en tredje presentasjon etter gjennomgang i møte 14 desember 2015[11]. Til tross for oppfordring fra Vetco under hovedforhandlingen unnlot SSS å påvise noen tekniske forhold i noen av disse presentasjoner som ikke også fremgår av Stridspatentet slik dette vil bli forstått av en fagperson;
- At Vetco både i 2012-13 og 2014 besluttet å ikke gå inn i SSS eller kjøpe SSS’ produkter. Den fornyede vurdering i 2014 var initiert av en henvendelse fra SSS’ side;
- At SSS gjennomførte nye presentasjonsmøter for Vetco i Norge 19 oktober og 14 desember 2015 på eget initiativ[12], hvoretter Vetco ønsket en oppfølgning i større teknisk detalj under ledelse av Vetcos Paul Stein i Aberdeen[13]. SSS ønsket at Vetco skulle signere en ny konfidensialitetserklæring før slikt møte. Både SSS og Vetco oversendte deretter flere utkast til slik erklæring, hvor den vesentlige forskjell var at SSS’ utkast inneholdt en beskrivelse av avtalens bakgrunn hvoretter SSS hadde utviklet og hadde enerett til et nytt og revolusjonerende avleiringssystem, samtidig som Vetco
Side:7
erkjente å ikke hadde noe system eller konsept tilknyttet levetidsforlengelser eller avleiringsbehandling tilsvarende SSS[14]. Vetco v/Stein meddelte 6 april 2016 at Vetco ikke kunne akseptere SSS tekstforslag[15].
SSS ved Borsheim kontaktet da Vetco v/Strand i Dusavik, og fikk denne til å signere SSS’ forslag til konfidensialitetserklæring inneholdende den omtvistede bakgrunnsbeskrivelse 4 mai 2016 på vegne av Vetco[16]. 11 mai 2016 kom Vetco vedStein tilbake med et nytt forslag til konfidensialitetserklæring hvor den omtvistede bakgrunnsbeskrivelse igjen var utelatt[17]. SSS opplyste 12 mai at Vetco ved Strand allerede hadde akseptert SSS’ avtaleforslag[18]. Samme dag meddelte Strand i epost til Borsheim at han følte seg lurt og misbrukt, og krevde at det avtaledokument han signerte 4 mai ble returnert og at den omtvistede bakgrunns-beskrivelse ble fjernet[19]. Så vidt vites svarte ikke SSS på Strands epost av 12 mai. Noe oppfølgende møte i større teknisk detalj ble ikke gjennomført etter dette;
- At Vetco presenterte en løsning for avleiringsbehandling inkludert en modifisert ventiltrekappe til Draugen-feltet for Shell 2 mai[20], 17 juni[21] og 21 juni 2016[22]. I samarbeid med Enpro presenterte Vetco en løsning for avleiringsbehandling også for Shell UK 4 oktober 2016[23] og gjennom presentasjon datert 28 oktober 2016[24].
På grunnlag av Vetcos pristilbud til Shell av 31 oktober og 15 desember 2016 utstedte Shell 21 november 2016 og 6 februar 2017 innkjøpsordre til Vetco på engineering og leveranse av tre modifiserte ventiltrekapper til Draugen-feltet for levering 21 juli 2017 «ex works Dusavik»[25]. Innkjøpsordren av 6 februar 2017 fastlegger særskilt at Shell kan kansellere bestillingen uten avbestillingsgebyr og at Vetco vil returnere eventuelt mottatt milepælsbetaling dersom «... infringement of the intellectual Property right of any third party is identified»;[26] og
- At SSS kontaktet Vetco på grunnlag av påstått patentinngrep og brudd på konfidensialitetserklæringer 7 oktober 2017. Vetco bestred å ha gjort noe rettsbrudd overfor SSS 30 november 2017[27]. Etterfølgende korrespondanse mellom partenes
Side:8
advokater og møte 23 januar 2018 medførte ikke enighet, jf brev av 1 og 7 desember 2017, 5 januar 2018, 5 og 28 februar, 2 mai, 4 juni og epost 14 juni 2018[28].
3. Prosesshistorie
SSS tok ut stevning 19 juni 2018 med krav om forbud, økonomisk kompensasjon og at Vetco hadde opptrådt i strid med god forretningsskikk[29]. I tilsvar 24 september 2018 påsto Vetco avvisning av kravet vedrørende god forretningsskikk, frifinnelse for inngreps- og kompensasjonskravet, og fastsettelsesdom for at Stridspatentet var ugyldig[30].
Tingretten avsa 8 februar 2019 kjennelse etter skriftlig behandling om at SSS’ krav bygget på markedsføringsloven måtte avvises som følge av avtalt voldgift[31]. Borgarting lagmannsrett forkastet SSS’ anke 4 juni 2019.
Tingretten avsa 12 september 2019 kjennelse om at Vetco måtte legge frem en rekke fremprovoserte dokumentbevis, samtidig som en del dokumentbevis ble besluttet undergitt taushetsplikt og muntlige forhandlinger for lukkede dører[32]. Etter anke besluttet Borgarting lagmannsrett i kjennelse 28 oktober 2020 visse utvidelser og innskrenkinger i Vetcos fremleggelsesplikt. I kjennelse av 14 januar 2020 oppdaterte tingretten virkeområdet for påbudet om taushetsplikt og forhandlinger for lukkede dører[33].
Hovedforhandling var opprinnelig berammet til oppstart 18 november 2019, men ble på partenes felles begjæring besluttet utsatt den 23 oktober 2019 på grunn av den da verserende tvist om bevisfremleggelse. Den 26 november 2019 ble hovedforhandling berammet til avholdelse over syv rettsdager fra 26 mai til 5 juni 2020.
Ved stevning 27 mars 2020 fremmet Vetco krav om at SSS’ fire styremedlemmer var solidarisk ansvarlige for eventuelle sakskostnader som SSS måtte bli pålagt i hovedsaken. Etter å ha mottatt tilfredsstillende garantistillelse begjærte Vetco det betingede omkostningskrav hevet den 20 april 2020, og hevningskjennelse for det betingede omkostningskrav ble avsagt 23 april 2020[34].
27 mars 2020 varslet Vetco at man ville føre professor Sangesland som partsoppnevnt sakkyndig vitne, og at hans rapport først kunne legges frem over påske. Professor Sangeslands rapport ble lagt frem 21 april 2020[35]. 5 mai 2020 varslet SSS at deres sakkyndiges vitnes rapport måtte legges frem etter saksforberedelsens avslutning. 14 mai 2020 begjærte SSS hovedforhandlingen omberammet, subsidiært at enkelte vedlegg til
Side:9
professor Sangeslands rapport ble avskåret. Vetco frafalt da de fleste, men ikke alle av rapportens vedlegg[36]. I kjennelse og beslutning av 20 mai 2020 besluttet tingretten å fastholde berammelsen av hovedforhandlingen, og å ikke avskjære de fortsatt omtvistede vedlegg til rapporten. SSS’ sakkyndige erklæring ble fremlagt 22 mai 2020[37].
Hovedforhandlingen ble gjennomført som berammet fra 26 mai til 5 juni 2020 over totalt åtte rettsdager hvorav to rettsdager var forkortet, i leide lokaler på hotell Bristol. På grunn av Covid-19 - situasjonen ble forhandlingene overført som videokonferanse til Vetcos partsrepresentant bosatt i USA, tolker, partsoppnevnt sakkyndig vitne og allmenheten. Tilstede i salen var inntil 5 personer fra hver side, samt rettens tre medlemmer. Med ett unntak avla alle vitner forklaring i salen. På grunn av en beklagelig betjeningsfeil fra rettens side foreligger likevel ikke lydopptak fra bevisføringen slik det var besluttet, jf tvisteloven § 13-7 (1).
Det ble avgitt forklaring av fem ordinære vitner og i alt fire partsoppnevnt sakkyndige vitner, og foretatt slik dokumentasjon som rettsboken sammenholdt med sakens digitale utdrag viser. Det ble benyttet et faktisk hovedutdrag på 2 544 sider (lagret som «Faktisk utdrag endelig.pdf» og henvist til her som «U» + sidetall) og et faktisk tilleggsutdrag på 985 sider (lagret som «Faktisk tilleggsutdrag endelig.pdf» og henvist til her som «TU» + sidetall). Under hovedforhandlingen la partene frem totalt 14 hjelpedokumenter mv, som ble vedlagt rettsboken og er henvist til som «dok # 1-14». I tillegg la partene frem hvert sitt juridiske utdrag på henholdsvis 1 268 sider og 936 sider – henvist til som henholdsvis «JU SSS» og «JU Vetco» + sidetall.
Side:10
4. Saksøkers – SSS’ - påstandsgrunnlag
SSS har i det vesentlige anført:
4.1 Ugyldighet
Stridspatentet oppfyller både kravet til nyhet og oppfinnelseshøyde:
Det må skilles mellom fagets alminnelige kunnskap og teknikkens stand, som også omfatter beskyttede forretningshemmeligheter og intern-kunnskap utenfor fagets alminnelige kunnskap. Fagets alminnelige kunnskap omfatter bare det en ansatt fagperson rettmessig kan «ta med seg» ved jobbskifte, og avgrenses typisk mot både enkeltartikler og patentskrifter. Prioritetsdato 24 mai 2011 avgrenser det tidsmessige innhold av både fagets alminnelige kunnskap og teknikkens stand.
Fagpersonens begrensede kombinasjonsevne og manglende oppfinneriske evne er særlig viktig ved gyldighets-vurderingen for kombinasjonsoppfinnelser som den foreliggende, siden ingen av oppfinnelsens enkeltelementer vil være nye. Stridspatentet er videreført og godkjent både i Europa, USA og Kina med samme kravsordlyd som i Norge, uten innsigelser i noe land. Tingretten er ikke forelagt mothold som ikke allerede er vurdert administrativt. Swingball- og Biomar – doktrinen tilsier varsomhet med å overprøve de ulike patentverks vurdering – dette gjelder særlig for mothold MARS.
Fagpersonen i saken vil være en brønningeniør med arbeidserfaring innen avleirings- og brønndrepings-operasjoner, ikke et tverrfaglig team slik Vetco anfører.
En oppfinnelse mangler nyhet dersom alle trekk kan utledes «direkte og utvetydig» fra en utførelsesform i ett mothold, eventuelt supplert med fagets alminnelige kunnskap. Intet slikt mothold finnes i saken. Særlig kan ikke motholdet MARS Scale Squeeze frokostpresentasjon kombineres med US 514-patentet[38], slik Vetco anfører. Selv om mange av presentasjonens PowerPoint-bilder inneholder en marg-henvisning til det amerikanske patentnummer, gir nummer-henvisningen verken konkret informasjon om at det refererte dokument gir mer detaljert informasjon om bestemte egenskaper enn basis-dokumentet, eller hvilke bestemte egenskaper dette skulle omfatte.
Stridspatentet har også oppfinnelseshøyde: Ingen av sakens mothold fremstår som noe lovende utgangspunkt for oppfinnelsen. Særlig vil horisontale ventiltrær være lite relevante som mothold, og irrelevante som nærmeste mothold på grunn av ulikheten mellom vertikale og horisontale ventiltrærs bruk og funksjon. Andre mothold enn MARS ligger så langt unna avleiringsoperasjoner at de av den grunn er uegnet som nærmeste tekniske mothold – gjennomgående gir de anvisning på bruk av verktøy som wire og ikke
Side:11
pumpejobber, samtidig som de også krever annen type fartøy/rigg enn Stridspatentet. MARS ble særlig vurdert og forkastet ved Nordisk Patentinstitutts gransking[39].
Stridspatentets tekniske problem er å finne en alternativ måte å utføre avleiringsbehandling og/eller brønndreping ved pumpeoperasjoner som bedre ivaretar hensynet til sikkerhet og kostnader, jf Nordisk Patentinstitutts tilnærming. Alle andre mothold enn MARS ligger så langt unna avleiringsbehandling at det for disse foregriper patentets løsning å inkludere denne oppgave i det objektive tekniske problem.
SSS anfører at fagpersonen ikke ville, i kontrast til kunne, kommet frem til Stridspatentets løsning med utgangspunkt i noen av sakens mothold for å løse sakens objektive tekniske problem med en rimelig forventning om å lykkes. Stridspatentet har oppfinnelseshøyde, og er gyldig.
Subsidiært anføres at Stridspatentets selvstendige krav 1 og 6 i alle fall er gyldige når ett eller flere av de uselvstendige krav inkluderes. I så fall antas rettsfølgen å ligge innenfor de nedlagte påstander.
4.2 Inngrep
Innledningsvis anføres at Vetco både har unnlatt å fremlegge dokumentasjon, fremlagt dokumentasjon som er «sladdet» i vekslende omfang, og endret forklaring på flere punkter underveis i saken. I tillegg er tekniske tegninger endret i strid med bransjepraksis, formentlig på grunn av saken her. En eventuell bevistvil vedrørende inngrepsgjenstandens og inngrepshandlingers innhold må da gå utover Vetco.
Vetco erkjenner å ha forevist Shell utførelsens angitt på «approved» tegning av 29 juni 2017 («2017-tegningen»)[40], og erkjenner at denne inneholder alle Stridspatentets trekk. I tillegg er 2017-tegningen erkjent markedsført også overfor DANA Petroleum, Petrofac og Shell UK. Derved foreligger erkjent patentinngrep ved utbud.
SSS anfører som mest sannsynlig
- at Vetco og Enpro tilbød Shell et «holistisk» system som angitt i 2017-tegningen for bruk på Draugen,
- at Shell godkjente og kontraherte leveranse av et slikt system, og
- at Vetcos foretatte leveranse av tre modifiserte ventiltrekapper til Draugen er en påbegynt leveranse av et samlet system som gjør inngrep i Stridspatentet.
Sammenholdt med sakens øvrige beviser gjør de senere modifiserte tegninger som
Side:12
- NC-tegning datert 12 november 2018 med sladdinger og korrigering av hydrauliske linjer («2018-tegningen»)[41],
- uferdig utkast til nytt system datert 3 desember 2019 («2019-utkastet»)[42], og/eller
- tegning datert 9 januar 2020 forevist professor Sangesland og inntatt i dennes sakkyndige erklæring («2020-tegningen»)[43],
det ikke mest sannsynlig at Shell bare har bestilt, fått levert og installert et antall modifiserte ventiltrekapper for Draugen som en selvstendig og avsluttet komponentleveranse. SSS anfører at det er mest sannsynlig at de leverte og installerte ventiltrekapper inngår i et helhetlig, prosjektert, sikkerhetsvurdert og av Shell godkjent system for brønnintervensjon, og at dette system mest sannsynlig er utformet som fremstilt i 2017-tegningen. Vetco og Enpro samarbeidet om å markedsføre «holistiske» systemer. Det har en sterk formodning mot seg at Shell/OKEA installerer enkeltstående komponenter på produserende undervannsbrønner som ikke inngår i en ferdig utviklet, sikkerhetsvurdert system-helhet som er besluttet tatt i bruk. Opplysningen om at OKEA senere har utsatt ibruktakelse av Vetcos leveranse til dom foreligger i saken her trekker i samme retning. I tillegg kommer at de etterfølgende tegninger ikke er innholdsmessig konsistente, ved at toppventilen er i behold på U s 2329 og fjernet på U s 2327.
Alle Stridspatentets trekk vil være til stede når brønnintervensjonen gjennomføres. Ved at fremgangsmåte-kravet ikke stiller særlige krav om gjennomføringsrekkefølge, unngår ikke Vetco inngrep i fremgangsmåtepatentet ved å variere rekkefølgen.
Selv om retten skulle finne at en toppventil i Stridspatentets forstand krever permanent tilkopling og at Vetcos tilbudte system innebærer fjerning av toppventilen etter avsluttet intervensjon, er alle de tre vilkår for ekvivalens oppfylt: Vetcos system løser alle de samme problemer som Stridspatentet; modifikasjonene er nærliggende for fagpersonen og tilhører ikke fri teknikk. Vetcos påståtte fjerning av injeksjonshode er et både upraktisk, nærliggende og samtidig utjenlig grep for å gå klar av patentkravenes ordlyd, som innhentes av ekvivalens-læren.
4.3 Forbud
Det foreligger fullbyrdet inngrep og vilkårene for forbud etter patentloven § 56 a første punktum er oppfylt. Subsidiært har Vetco kommet så langt i utviklingsløpet at også vilkårene for forbud etter bestemmelsens annet punktum er oppfylt.
4.4 Pengekrav
Vetco har handlet forsettlig eller minst grovt uaktsomt: Vetco var vel kjent med Stridspatentets eksistens og omfang gjennom flere presentasjoner fra SSS over flere år, og
Side:13
foretok gjentatte IP-evalueringer både i 2014 og 2016, hvoretter angivelig «egen» løsning ble utbudt 2 mai 2016 og solgt til kunden Shell som SSS hadde fått frem[44]. Vetco har valgt å ikke legge frem de interne IP-evalueringer, samtidig som vitnet Olsen erkjente at tekniske tegninger er endret i anledning saken for å redusere risikoen for å bli dømt for inngrep. Det svekker ikke Vetcos forsett om man feilbedømte Stridspatentets rekkevidde i sitt bevisste forsøk på å designe seg rundt Stridspatentet.
Alle de fire utmålingsalternativer i § 58 første ledd bokstav a-c jf annet ledd anføres og det høyeste bes lagt til grunn. Begge saksøkere er påført tap og krever erstatning sammen slik lovforarbeidene gir anvisning på:
- Skadeserstatning etter bokstav b: Shell/OKEAs utsettelse av å utføre avleiringsoperasjoner ca hvert annet år på grunn av saken tilsier at SSS ville oppebåret slike inntekter fra Draugen om Vetcos inngrep tenkes bort. Vetcos oppnådde vederlag påstås strategisk lavt: Stridspatentet halverer produksjonstapet ved å halvere avleiringsoperasjonens varighet fra fem til to og en halv dag, muliggjør gjenopptatt produksjon ved avleiringsavbrudd pga dårlig vær med videre, og reduserer kostnadene til skip og mannskap. Draugen produserer 25 000 fat/døgn, som alene gir en besparelse pr avleiringsoperasjon på 30-35 millioner kr forutsatt oljepris på USD 50/fat. Operatørs/felteieres betalingsvilje må antas tilsvarende.
I tillegg har Vetcos inngrep i 2016 holdt SSS ute fra sitt patent-beskyttede enemarked i fire år – kundene foretrekker komplette og ressurssterke systemleverandører som Vetco fremfor små nisje-leverandører når Vetco tilbyr seg å levere «det samme» som SSS. I tillegg til selve markedstapet kommer tapet av 4 år av Stridspatentets begrensede beskyttelsestid – allerede. Dertil har inngrepet i seg selv svekket markedets oppfatning av Stridspatentets slagkraft og rekkevidde. Den samlede erstatningsutmåling må bli skjønnsmessig, men både markedets og drifts-besparelsenes størrelse tilsier et høyt erstatningsnivå;
- Vetcos vinning etter bokstav c: Erstatningsgrunnlaget omfatter Vetcos netto vinning ved inngrepet, fratrukket direkte og variable kostnader. Vetco, som har bevisbyrden for kostnadsfradragets eventuelle størrelse, har anført et dekningsbidrag på 27 %, men uten å legge frem dokumentasjon til tross for at konkrete beregninger skal foreligge. Vinningen utgjør minimum 27 % av 9 834 027 kr[45] + ca 1 million i engineeringtjenester + anslåtte besparelser for hele utviklingsarbeidet som påstås å utgjøre mange millioner kr; og
Side:14
- Rimelig lisensavgift og erstatning etter bokstav a: «Rimelig lisensavgift» fastsettes ut fra bransjestandard eller praksis på det aktuelle, tilknyttede eller sammenlignbare områder, eller i mangel av dette ved skjønn. Oslo tingrett bygget i Neodrill-saken på en resultatgrad på 50-70 % i relatert bransje, og i SPG-AstraZeneca - saken på 25 % som rimelig lisensavgift. Praksis fra meklingsnemnda for arbeidstakeroppfinnelser anføres til støtte for en lisensstruktur bestående av et forhåndsbeløp og en kvantumsvariabel del, dog slik at et prevensjons-påslag for rettsbruddet må tillegges nemndas lisensnivåer.
Vilkårene for dobbel lisensavgift etter § 58 annet ledd er oppfylt. Rimelig dobbelt lisensnivå anføres å utgjøre ca 40 - 70 millioner kr.
I tillegg kommer erstatning for skadene gjennom Stridspatentets svekkede oppfattede slagkraft og rekkevidde i markedet og fire tapte år av Stridspatentets levetid - så langt.
4.5 Sakskostnader
Prinsipalt anføres at saken må anses vunnet i det vesentlige dersom inngrepskravet fører frem, jf tvisteloven § 20-2.
Dersom inngrep ikke foreligger, men Stridspatentet finnes gyldig, påstås SSS å ha fått medhold av betydning etter tvisteloven § 20-3. Sakens samlede tyngdepunkt har ligget i ugyldighetsspørsmålet, og Vetco kan bebreides for at det kom til sak, både
- gjennom valget av Enpro i stedet for SSS som leverandør på Draugen;
- for skiftende forklaringer om at Vetco hadde utviklet et produkt/løsning i 2016 til at det i dag angivelig bare foreligger en skisse eller ide; og
- gjennom fortielsen av at Vetco mente å ha et likt system som SSS selv, mens man i flere runder mottok hemmelig informasjon om SSS’ system.
I tillegg kommer partenes ulike styrkeforhold. Vetco har vidløftiggjort saken vesentlig, blant annet gjennom å anføre en rekke alternative, perifere og utilstrekkelige mothold, og gjennom ca 800 sider teknisk dokumentasjon vedlagt professor Sangeslands erklæring kort tid før hovedforhandlingen som SSS har måttet analysere og imøtegå, selv om det deretter ble trukket ut.
Kravet etter markedsføringsloven er endelig omkostningsavgjort gjennom lagmannsrettens avvisningskjennelse. SSS hadde god grunn til å få prøvd HIPPS Cap frem til bevismessig avklaring, jf § 20-2 (3) bokstav a, og valgte å trekke kravet vedrørende HIPPS Cap på grunn av manglende bevismessig avklaring som følge av Vetcos mangelfulle redegjørelse for faktiske forhold og nektelse av å etterkomme bevisprovokasjoner. Vetcos allokering av 10 % av totalkostnadene til HIPPS Cap er alt for høyt – eget anslag er 40 timer eller 135 000 kr.
Side:15
Vetcos sakskostnader er for høye som følge av egen vidløftiggjøring av saken. SSS har ikke vidløftiggjort saken. Etter hva som kom frem under hovedforhandlingen kan ikke SSS klandres for å ikke ha tatt Vetcos uttalelser i prosesskrivene for «god fisk». Vetcos prosessfullmektigers salærkrav er nesten to millioner kr eller 47,5 % høyere enn saksøkers, og bygger på 372,5 eller 30,8 % flere timer enn SSS, til tross for at de også anvender høyere timesats. Vetcos salærkrav er verken rimelig, nødvendig eller forholdsmessig.
Sakkyndig Mangersnes har bistått SSS med patentfaglige råd siden sakens oppstart i 2018. I motsetning til professor Sangesland utarbeidet sakkyndige Wessel og Herland hele sin rapport selv, og måtte på kort tid gjennomgå 800 sider dokumentbevis som Vetco først la frem for så å trekke det tilbake. Sakkyndig Fatnes var SSS’ opprinnelige sakkyndige vitne og startet sitt arbeid i god tid før hovedforhandlingen. Han måtte fratre som følge av at Vetco kontaktet hans arbeidsgiver, og hans forutgående arbeid var både relevant og nødvendig.
Kostnadene til Borsheims eget arbeid var inntatt i den foreløpige omkostningsoppgave ved hovedforhandlingens avslutning, og ble da ikke kommentert. Han har utført et svært omfattende arbeid med saken over flere år med å fremskaffe dokumentasjon, imøtegå Vetcos anførsler om tekniske bevis og gjennomgå de mange anførte mothold. Oppgavene var nødvendige, og ekstern bistand hadde vært dyrere.
4.6 SSS’ påstand:
I inngrepssaken:
1. Vetco Gray Scandinavia AS forbys å tilvirke, utby, bringe i omsetning eller anvende den i saken omtalte anordning, samt å innføre eller besitte den i saken omtalte anordning i slik hensikt.
2. Vetco Gray Scandinavia AS forbys å anvende eller tilby å anvende den i saken omtalte fremgangsmåte eller utby den for anvendelse her i riket.
3. Vetco Gray Scandinavia AS dømmes til å betale økonomisk kompensasjon til Subsea Solutions AS og Subsea Smart Solutions AS fastsatt etter rettens skjønn.
4. Vetco Gray Scandinavia AS dømmes til å erstatte sakskostnadene til Subsea Solutions AS og Subsea Smart Solutions AS.
I ugyldighetssaken:
1. Subsea Solutions AS frifinnes.
2. Vetco Gray Scandinavia AS dømmes til å erstatte sakskostnadene til Subsea Solutions AS.
Side:16
5. Saksøktes - Vetcos - påstandsgrunnlag
Vetco anførte allment at saksanlegget gjennom SSS’ omfattende bevisprovokasjoner i flere omganger fremstår som en «fisketur», der Vetco ikke har villet dele flere av sine forretningshemmeligheter med en annen markedsaktør enn saken reelt krever. SSS klargjorde sin forståelse av Stridspatentets dekningsområde først under hovedforhandlingen, og da med opportunistisk innhold – vidt for inngrepskravet og snevert for ugyldighetsspørsmålet.
5.1 Ugyldighet
Stridspatentet påstås ugyldig i sin helhet, idet ingen av de uselvstendige krav tilfører noe oppfinnerisk. Tingrettens fulle prøvelsesrett er uomtvistet mellom partene, det foreligger ingen avslått patentsøknad, og Nordisk Patentinstitutt så ikke frokostpresentasjonen som viser til US 514-patentet. Alle anførte mothold påstås relevante: Stridspatentet omfatter ikke bare en modifisert ventiltre-kappe, men et intervensjonssystem hvor en slik kappe inngår som ett av flere elementer. Fagpersonen forstår at modifiserte ventiltre-kapper er aktuelle for – og kan tilpasses – både vertikale og horisontale ventiltrær.
Fagpersonen vil være et tverrfaglig team på ingeniørnivå med kompetanse og erfaring på utvikling, konstruksjon, produksjon og anvendelse av undersjøiske intervensjonssystemer; inkludert ventiltrær, ventiltrekapper, barrierer, væskeinjeksjonssystemer, slangeforbindelser, kontrollsystemer og marine operasjoner.
Fagets alminnelige kunnskap utgjøres av lærebøker, håndbøker, standarder og den innsikt er fagperson erverver gjennom sitt arbeid. «Kill and scale»-verktøys eksistens, formål og virkemåte i hovedtrekk inngikk i fagets alminnelige kunnskap ved prioritetsdagen, jf patentbeskrivelsens innledning[46]. Derimot tar innledningen feil når den forutsetter at ventiltrekapper med åpning for intervensjon var ukjent for fagpersonen.
Stridspatentet mangler nyhet fordi det direkte og utvetydig kan utledes av ett mothold, sammenholdt med fagets alminnelige kunnskap og dokumenter motholdet uttrykkelig henviser til:
- Zinc[47] viser modifiserte ventiltrekapper for intervensjonsoperasjoner, og beskriver alle Stridspatentets trekk, med unntak for «påkoplingssøyle» med ventiler, nødfrakoplingsanordning og slangeforbindelse til fartøy som fagpersonen uten videre vil forstå;
- Prado[48] viser modifiserte ventiltrekapper for intervensjonsoperasjoner, og beskriver alle Stridspatentets trekk, med unntak for «søyleventiler» og slangeforbindelse til fartøy som fagpersonen uten videre vil forstå;
Side:17
- Doyle[49] viser modifiserte ventiltrekapper for intervensjonsoperasjoner, og beskriver alle Stridspatentets trekk, med unntak for «kroneventil» i ventiltreet, intervensjonsverktøy med «søyleventiler» og «hurtigutløsbar kopling», «slangeforbindelse til fartøy» og styrbarhet som fagpersonen uten videre vil forstå; og
- MARS Scale Squeeze frokostpresentasjon[50] sammenholdt med US 514-patentet[51] viser til sammen alle Stridspatentets trekk. Fagpersonen forstår presentasjonens fortløpende marghenvisning til US-patentet som en generell, inkorporerende henvisning med det innhold at UWP er ment kombinert med den modifiserte ventiltrekappen.
Stridspatentet mangler også oppfinnelseshøyde: Hele teknikkens stand er tilgjengelig for det tverrfaglige team som her utgjør fagpersonen. Alle de fire nyhets-motholdene gjelder både samme tekniske område og samme tekniske problem som Stridspatentet, nemlig å opprettholde brønnens integritet under påkopling av intervensjonsverktøy. MARS Scale Squeeze har flest felles trekk med Stridspatentet, men også de andre tre er lovende utgangspunkter for oppfinnelsen.
Med utgangspunkt i MARS Scale Squeeze vil det objektive problem kanskje være å opprettholde barriere under tilkopling til ventiltrekappen. Med utgangspunkt i ett av de andre tre motholdene vil det objektive problem kanskje være å tilveiebringe en forbedret anordning/fremgangsmåte for avleiringsbehandling og brønndreping.
I alle fire tilfeller ville fagpersonen valgt Stridspatentets løsning med en rimelig forventning om å lykkes:
- Dersom retten finner at påkoplingssøylen i MARS Scale Squeeze mangler den andre ventil og/eller nødfrakopling, vil begge trekk være nærliggende sikkerhetstiltak kjent fra fagets alminnelige kunnskap; og
- Med utgangspunkt i Zinc, Prado eller Doyle vil fagpersonen finne det nærliggende å kombinere motholdet med et kjent verktøy for væske-intervensjon som Oceaneering AIT[52], som kan brukes med ethvert ventiltre, har nødfrakopling og to ventiler.
Stridspatentet er således ugyldig, og Vetco må frifinnes for sakens øvrige krav.
5.2 Subsidiært: Inngrep
Patentvernets omfang bestemmes av patentkravene. Inngrep krever at alle elementer i et selvstendig patentkrav må gjenfinnes i identisk eller ekvivalent form («all elements rule»).
Side:18
Innholdet i Vetcos løsning er på det rene og tilstrekkelig dokumentert. Ved inngrepsvurderingen må det skilles mellom
- Vetcos ventiltrekappe, som er prosjektert, tilvirket og levert med gjennomgående løp og minikappe, men uten ventil og hvor minikappen utgjør eneste barriereelement[53]. Den inneholder åpenbart ikke alle Stridspatentets elementer, og er derfor intet inngrep i dette; og
- Vetcos injeksjonssystem, som anføres å bare foreligge i to alternative og ikke detaljutviklede konsepter:
- 2017-tegningen[54], som inneholder injeksjonsverktøy med to isolasjonsventiler og injeksjonshode med tilbakeslagsventil og kuleventil. Denne er godkjent internt i Vetco, men ikke av kunden; og
- 2019-skissen[55], som inneholder injeksjonsverktøy med to isolasjonsventiler og nødfrakopling, og et injeksjonshode helt uten ventiler som koples direkte på ventiltrekappen. 2019-skissen er vurdert tilstrekkelig sikker av Vetco, og den er forevist OKEA – uten tilbakemelding foreløpig.
Vetcos prosedyre for til- og frakopling kan ikke dokumenteres fordi de ikke er utviklet, men hovedtrekkene fremgår av installasjonssekvensen av 17 juni 2016[56]:
- Minicap fjernes før injeksjonsverktøyet koples til – i denne fase mangler ventiltrekappen barriereelementer og produksjonen må innstilles,
- Intervensjonsverktøyet koples til, intervensjonsoperasjonen gjennomføres og intervensjonsverktøyet koples fra, og
- Minicap re-installeres, og da først kan produksjon gjenopptas.
- Nødfrakopling ved dårlig vær, «drift-off» for overflatefartøyet, lekkasje med videre innebærer at hele undervannsdelen settes midlertidig igjen, siden frakoplingsmekanismen er plassert på fartøysiden av SSM[57]. Undervannsdelen er en midlertidig barriere, men fjernes før minicap re-installeres og produksjon gjenopptas. SSS’ spekulasjon om at undervannsdelen kan etterlates som barriere etter gjenopptatt produksjon mangler rot i virkeligheten – tanken er ikke tenkt og langt mindre utbudt til Shell eller andre; zinkanoder mot korrosjon er plassert på minicapen og ikke på intervensjonsverktøyet (de grå runde skivene på U s 86 er balansevekter og ikke anoder slik SSS’ prosessfullmektig foreslo for professor Sangesland under krysseksaminasjon); trålerbeskyttelsen kan neppe lukkes over injeksjonshodet slik at permanent standby-båt kreves; med videre.
Side:19
Etter hovedforhandlingen avhenger inngreps-spørsmålet av om toppventilen i Stridspatentets forstand må være installert i oppgraderingsmodulen mens brønnen produserer olje. Vetcos injeksjonssystem faller utenfor patentkravene fordi
- Vetcos «oppgraderingsmodul» mangler toppventil, og derved også mellomrør «koplet til en toppventil». Av samme grunn kan heller ikke fremgangsmåtetrekkene «å kople en påkoplingssøyle ... til toppventilen» eller «å åpne ... toppventilen» utføres med Vetcos injeksjonssystem;
- Vetcos injeksjonshode ikke inngår i Vetcos «oppgraderingsmodul», men i Vetcos «påkoplingssøyle». Det karakteristiske og sentrale trekk i Stridspatentet at toppventilen inngår i oppgraderingsmodulen, med den virkning at den utgjør et barriere-element slik at produksjon ikke må avbrytes ved tilkopling av intervensjonssystemet, mangler i Vetcos system. Med Vetcos system må barrieren tvert om brytes ved hver eneste tilkopling av intervensjonsverktøyet; og
- Stridspatentets «oppgraderingsmodul» og «påkoplingssøyle» er alternative og gjensidig utelukkende, fysisk avgrensede begreper – Vetcos injeksjonshode kan ikke vekselvis inngå i dem begge, avhengig av om injeksjonssystemet er tilkoplet eller ei.
Ekvivalens-lærens tre vilkår er uomtvistet, men beskytter bare mot uvesentlige og «noenlunde identiske» modifikasjoner. Vetcos injeksjonssystem mangler både det vesentlige element toppventilen og den sentrale og karakteristiske tekniske effekt å muliggjøre tilkopling uten å bryte barriere. Dertil tilhører Vetcos system den frie teknikk: Ventiltrekappe med minicap er kjent fra Zinc og Doyle, og injeksjonsverktøy er kjent fra Oceaneering AIT og MARS Scale Squeeze.
Vetcos skisserte injeksjonssystem gjør ikke inngrep i Stridspatentet.
5.3 Atter subsidiært: Forbud
Forbudskravet retter seg mot 2017-tegningen[58], som erkjennes utbudt til Shell på Draugen. Vilkårene for forbud erkjennes oppfylt for denne, forutsatt gyldighet og inngrep som drøftet ovenfor.
Prosjektering, tilvirkning og levering av modifiserte ventiltrekapper er ikke – og kan ikke være - inngrepshandlinger, fordi de bare omfatter en del av Stridspatentet (oppgraderingsmodulen).
Side:20
5.4 Atter subsidiært: Pengekrav
Patentloven § 58 krever fullbyrdet og ikke bare forberedt «patentinngrep». Tilvirkning og levering av modifiserte ventiltrekapper faller utenfor dette. Kravet om økonomisk kompensasjon kan bare bygges på Vetcos utbud av det skisserte injeksjonssystem.
Vetco har verken utvist simpel eller grov uaktsomhet, men har tolket Stridspatentet aktsomt og designet seg rundt dette. Vetco utelot Stridspatentets viktigste trekk (toppventilen koplet til et mellomrør) fra sin løsning, og derved også den sentrale og karakteristiske tekniske effekt at tilkopling kan skje uten barrierebrudd mens produksjon opprettholdes. Hvis Vetcos system likevel favnes av patentkravene etter rettens syn, må Vetcos subjektive forhold være unnskyldelig.
Om de tre kompensasjonsalternativer bemerkes særskilt:
- Lisensavgift påløper normalt ikke før salg, og oppstart-avgift er særlig uvant. Intet er bevisført for tingretten vedrørende lisensieringsomfang eller lisensnivå for noen aktør. SSS har heller ikke gitt Vetco noen markedsadgang – tvert om prøver SSS å nekte Vetco adgang til markedet gjennom saksanlegget;
- Erstatning: SSS har ikke sannsynliggjort noe tap. Operatørene foretrekker større leverandører som kan levere sammensatte systemer og ikke bare enkeltkomponenter – så også Shell som anbefalte SSS å ta med Vetco, som allerede hadde rammeavtale med faste priser for ventiltrær. Vetco har ikke fratatt SSS andre markedsmuligheter – ingen salgsforsøk overfor andre kunder er sannsynliggjort, og Vetco leverer ikke avleiringstjenester. Patentet er ikke erstatningsmessig svekket, selv om bransjen avventer søksmålets utfall. Vetco har i intet tilfelle utvist kvalifisert uaktsomhet som kan begrunne erstatningsansvar for rent formuestap, jf blant annet Roxar-dommen; og
- Vinningsavståelse: Vetco har tjent på salg av tre modifiserte ventiltrekapper, men har ingen vinning på salg av patent-inngripende system. Subsidiært utgjør netto vinning 27 %, for en bransje der 5-30 % utgjør normalt dekningsbidrag. Vetco har ingen fremtidige følgeinntekter i sikte, og SSS’ eget estimat av juni 2014 bekrefter at Vetco ikke underpriset ventiltrekappene til Shell[59].
Vetco har ingen besparelse på egne utviklingskostnader i saken – ingen av SSS’ presentasjoner inneholdt noe som en fagperson ikke kan lese av det offentlig tilgjengelige Stridspatent. Sparte utviklingskostnader kan heller ikke kreves erstattet i tillegg til oppnådd vinning.
Vetco må i alle tilfeller frifinnes for kravet om økonomisk kompensasjon.
Side:21
5.5 Sakskostnader
Vetco har krav på sakskostnader for det frafalte HIPPS-Cap-kravet etter § 20-2 – beløpets størrelse må anslås ved skjønn.
SSS’ inngrepskrav påstås sentralt og saksutløsende – ugyldighetskravet er defensivt og avledet. Vetco bør tilkjennes fulle omkostninger etter § 20-3 dersom inngrepskravet ikke fører frem, uavhengig av om Stridspatentet kjennes ugyldig eller ei. SSS kan verken tilkjennes sakskostnader etter § 20-3 eller § 20-4.
SSS’ omkostningsoppgave er unødvendig høy: Saksanlegget fremstår som nevnt samlet som en «fisketur», som er vesentlig vidløftiggjort gjennom omfattende og tallrike provokasjoner tilknyttet inngrepsspørsmålet alene, samtidig som SSS utsatte å avklare egen forståelse av patentkravene til selve hovedforhandlingen. Vetco klargjorde allerede i tilsvaret at HIPPS Cap må fjernes fra ventiltreet ved avleiringsoperasjoner og derfor falt utenfor Stridspatentets dekningsområde[60]. U s 748 fremlagt 29 november 2018 ga SSS all nødvendig informasjon for å vurdere inngrepsspørsmålet. SSS etterfølgende krav om bevistilgang i to instanser var unødvendige, og må bæres av SSS selv.
I tillegg er SSS’ kostnader til sakkyndige vitner unødvendig høye: Mangersnes avga ingen rapport, og hans salær på 629 437 kr for deltakelse under hovedforhandlingen synes urimelig høyt. Det samme er SSS’ samlede utgifter til sakkyndige med ca 2,8 millioner, sammenholdt med professor Sangeslands honorar for en rapport av tilnærmet samme omfang på 562 800 kr. Beløpet tilsvarer ca en femdel av SSS’ totale utgifter til sakkyndige, eller en tredel av hva som kreves dekket for Wessel og Herlands tilsvarende arbeid.
Fratrådt sakkyndig Fatnes opplyste til sin arbeidsgiver at han ikke hadde noe oppdrag i saken, jf TU s 855. I så fall er salærkravet ubegrunnet. Selv om dette skulle være uriktig, må SSS være nærmest til å bære risikoen for Fatnes’ manglende avklaring av oppdraget overfor sin arbeidsgiver.
Endelig motsetter Vetco seg kravet om særskilt godtgjøring for Borsheim, jf tvisteloven § 20-5 (1) tredje punktum. Sakens omfang skyldes SSS vidløftiggjøring. Ytterligere kostnader til sakens tekniske spørsmål utover SSS’ i alt fire sakkyndige med både teknisk og patentfaglig kompetanse har ikke vært rimelig.
5.6 Vetcos påstand:
1. Vetco Gray Scandinavia AS frifinnes.
2. Patent NO 332 486 kjennes ugyldig.
3. Subsea Solutions AS og Subsea Smart Solutions AS dømmes til å erstatte Vetco Gray Scandinavia AS’ sakskostnader.
Side:22
Rettens vurdering
6. Sammendrag
Tingretten har kommet til
- At Stridspatentet er gyldig;
- At både Presentasjonene og 2017-løsningen griper inn i Stridspatentet, direkte eller ved ekvivalens. Gjennom utbud til Shell finnes Vetco å ha begått inngrep i Stridspatentets krav 6 og 1. Det nedlegges forbud for den anordning og fremgangsmåte som beskrives i Presentasjonene og i 2017-løsningen;
- At 2019-skissen ikke griper direkte inn i Stridspatentet. Skissens innhold er alt for uavklart, usikker og ufullstendig til at retten kan foreta noen ekvivalensvurdering med tilstrekkelig bredde;
- At SSS tilkjennes dobbel lisensavgift med seks millioner kroner, samt delvis dekning av sakskostnader etter tvisteloven § 20-3.
I det følgende skal tingretten begrunne sitt syn mer utførlig.
Innledningsvis peker tingretten på at partene gjennomgående har vært enige om de aktuelle lovreglers eksistens og innhold. Tvisten gjelder bevisbedømmelse og subsumpsjon alene.
Flere av motholdene fremlagt for tingretten er utformet på engelsk uten særskilt oversettelse[61]. Tingretten har omtalt disses innhold og læring på norsk etter egen oversettelse; ved behov supplert med at det engelske ord er kursivert og inntatt i parentes og anførselstegn («xxx»).
Tingretten har sett helt bort fra innholdet i whereas-klausulene i «non-disclosure agreement» signert 4 mai 2016[62] ved sin bedømmelse av saken. Slik vitnet Strands underskrift ble innhentet har dokumentets innledende beskrivelse ingen selvstendig bevisverdi for sakens tvistespørsmål, jf Strands epost til Borsheim av 12 mai 2016 fremlagt som dokument # 9.
Side:23
7. Tolking av patentkravene
7.1 Patentkravenes inndeling trekk-for-trekk
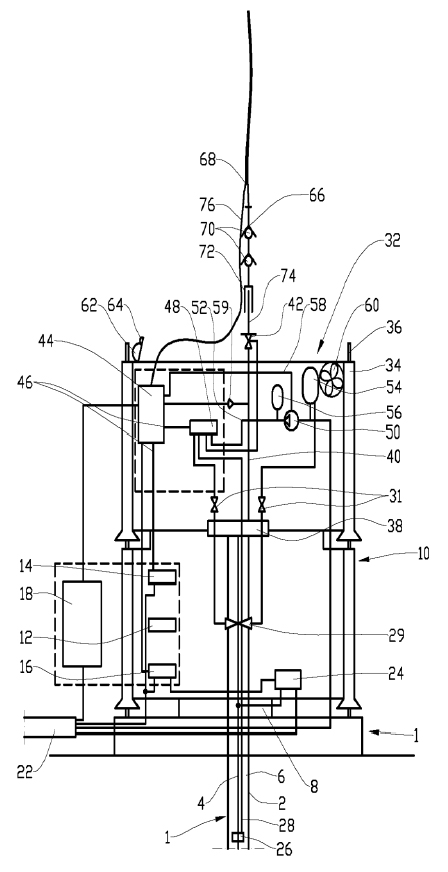
Det er tilstrekkelig for tingretten å vurdere de selvstendige anordnings- og fremgangsmåtekrav. Anordningskravet lyder:[63]
«6. Anordning for å tilføre væsker for avleiringsbehandling og brønndreping til en undervannsbrønn (1) hvor undervannsbrønnen (1) er forsynt med et ventiltre
10 (10) som har en kroneventil (29) og en kopling for en ventilkappe (30), k a r a k t e r i s e r t v e d at en oppgraderingsmodul (32) er anbrakt på ventiltreet (10), idet oppgraderingsmodulen (32) omfatter en ventilkappe (38) som via et mellomrør (40) er koplet til en toppventil (42) ved oppgraderingsmodulens (32) øvre parti, og hvor en påkoplingssøyle (66) omfattende minst to
15 søyleventiler (70) og en hurtigutløsbar kopling (72) er påkoplbar til toppventilen (42), og hvor påkoplingssøylen (66) er kommuniserbart koplet til et fartøy via en slangeforbindelse (68), idet i det minste brønnhodet (10) eller oppgraderingsmodulen (32) etter påkopling er styrbare.»
Fremgangsmåtekravet lyder:[64]
«1. Fremgangsmåte for å tilføre væsker for avleiringsbehandling og brønndreping til en undervannsbrønn (1) hvor undervannsbrønnen (1) er forsynt med et ventiltre (10) som har en kroneventil (29) og en kopling for en ventiltrekappe (38),
5 k a r a k t e r i s e r t v e d at fremgangsmåten omfatter:
- å anbringe en oppgraderingsmodul {32) på ventiltreet (10), idet oppgraderingsmodulen (32) omfatter en ventilkappe (38) som via et mellomrør (40) er koplet til en toppventil (42) ved oppgraderingsmodulens (32) øvre parti,
- å kople en påkoplingssøyle (66) omfattende minst to søyleventiler (70) og en
10 hurtigutløsbar kopling (74) til toppventilen (42), idet påkoplingssøylen (66) kommuniserer med et fartøy via en slangeforbindelse (68);
- å styre i det minste oppgraderingsmodulen (32) eller ventiltreet (10) fra fartøyet;
- å åpne kroneventilen (29), toppventilen (42) og søyleventilene (70); og
15 - å pumpe væske fra fartøyet via slangen (68), påkoplingssøylen (66) og oppgraderingsmodulen (32) ned i undervannsbrønnen (1).»
Partene har vært enige om patentkravenes inndeling trekk-for-trekk. Langt på vei er Stridspatentets utforming av anordnings- og fremgangsmåte-kravets ulike trekk både språklig likeartet og innholdsmessig sammenfallende, sett bort fra det opplagte at anordningskravet 6 fremstiller et substantiv og fremgangsmåtekravet 1 et verb. I tabellen under har tingretten sammenstilt anordnings- og fremgangsmåtekravet trekk-for-trekk, ved å særskilt utheve den ordlyd som bare finnes i ett av kravene og gjengi dette i [klammer].
I det følgende referer tingretten til det enkelte kravstrekk ved dets bokstav der trekket er likelydende utformet eller den språklige forskjell uten betydning for tolkingen av de to hovedkrav, og ellers ved både tall og bokstav:
Side:24
| Trekk i krav 6 |
Trekk i krav 1 |
|
| 6 A | Anordning [Fremgangsmåte] for å tilføre væsker for avleiringsbehandling og brønndreping til en undervannsbrønn (1) |
1 A |
| 6 B | hvor undervannsbrønnen (1) er forsynt med et ventiltre (10) som har en kroneventil (29) og en kopling for en ventil[tre]kappe (30), |
1 B |
| karakterisert ved at [fremgangsmåten omfatter] | ||
| 6 C | en oppgraderingsmodul (32) er anbrakt på ventiltreet (10), [å anbringe en oppgraderingsmodul (32) på ventiltreet (10)] |
1 C |
| 6 D | idet oppgraderingsmodulen (32) omfatter en ventilkappe (38) som via et mellomrør (40) er koplet til en toppventil (42) ved oppgraderingsmodulens (32) øvre parti, |
1 D |
| 6 E | og hvor en påkoplingssøyle (66) omfattende minst to søyleventiler (70) og en hurtigutløsbar kopling (72) er påkoplbar til toppventilen (42), [- å kople en påkoplingssøyle (66) omfattende minst to søyleventiler (70) og en hurtigutløsbar kopling (74) til toppventilen (42),] |
1 E |
| 6 F | og hvor påkoplingssøylen (66) er kommuniserbart koplet til et fartøy via en slangeforbindelse (68), [idet påkoplingssøylen (66) kommuniserer med et fartøy via en slangeforbindelse (68)]; |
1 F |
| 6 G | idet i det minste brønnhodet (10) eller oppgraderingsmodulen (32) etter påkopling er styrbare. [- å styre i det minste oppgraderingsmodulen (32) eller ventiltreet (10) fra fartøyet;] |
1 G |
| ‐ å åpne kroneventilen (29), toppventilen (42) og søyleventilene (70); og |
1 H | |
| ‐ å pumpe væske fra fartøyet via slangen (68), påkoplingssøylen (66) og oppgraderingsmodulen (32) ned i undervannsbrønnen (1). |
1 I |
7.2 Tolking av Stridspatentets trekk A – E
Utgangspunktet for fortolkningen av patentkravene er ordenes vanlige, objektive betydning slik de oppfattes for fagpersonen innen det relevante fagområde. Undervannsteknologiområdet preges både av anglo-amerikansk språkbruk, hyppig bruk av akronymer, og at ulike leverandører kan gi sine produkter og/eller produkt-elementer særegne betegnelser også når de ligner eller har samme funksjon som andre leverandørers. I mangel av en innholdsmessig entydig fagterminologi vil den objektive ordlyd måtte tillegges stor vekt.
Ved tolkingen kan veiledning også hentes fra patentbeskrivelsen, tegninger og eventuell søknadskorrespondanse etter nærmere retningslinjer. Stridspatentets beskrivelse er disponert slik at den innledende del beskriver oppfinnelsens bakgrunn[65], den midtre del sammen med patentkravene beskriver oppfinnelsen som sådan[66], mens den avsluttende del sammen med figur 1 – 4 beskriver et foretrukket utførelseseksempel[67] som ikke uten videre avgrenser Stridspatentets fulle innhold og rekkevidde[68].
Side:25
Etter patentforskriftens § 6 skal patentkravet både angi teknikkens stilling (om nødvendig), og det nye og særegne ved oppfinnelsen. Tingretten oppfatter Stridspatentet slik at trekk AB angir teknikkens stilling på det for oppfinnelsen relevante teknikk-område, og at trekk CG/I angir det påstått nye og særegne ved oppfinnelsen.
Trekk A: Stridspatentet omfatter bare tilførsel av væsker til en undervannsbrønn. Utenfor dette faller både
- Brønner plassert andre steder enn under vann, som plattformbrønner («topsides») eller brønner på landjorden. På Draugen-feltet finnes både havbunns- og plattformbrønner;
- Tilførsel av andre stoffer enn væsker, så som fast stoff, gasser eller plasma. Stridspatentet omfatter imidlertid alle væsker, inklusive kjemikalier i flytende form;
- Det å ta eller trekke væsker ut av brønnen; og
- Innsetting og uthenting av utstyr eller data til/fra undervannsbrønnen inkludert måleoperasjoner.
I tillegg er Stridspatentet formålsbestemt, ved at det bare omfatter tilføring av væsker «for avleiringsbehandling og brønndreping». Tilføring av væske for andre formål enn disse to faller da utenfor Stridspatentet.
Fagpersonen vil forstå at Stridspatentets formål både favner «rene» avleiringsbehandlinger og «rene» brønndrepinger gjennom tilføring av væske – patentets formål er ikke begrenset til å bare omfatte operasjoner som både fjerner avleiringer og dreper brønnen i samme operasjon.
Trekk B: «Undervannsbrønn» omfatter språklig sett både letebrønner og produksjonsbrønner. Ved at trekk B beskriver brønnen utstyrt med et ventiltre med kroneventil, forstår imidlertid fagpersonen at Stridspatentet bare retter seg mot produksjonsbrønner. For letebrønner benyttes ikke ventiltre, men en «BlowOut Preventer» («BOP»), som er en vesentlig større og tyngre innretning enn et ventiltre (engelsk «Christmas Tree» eller akronymet «XT»)[69]. I tillegg angir beskrivelsens innledende del som en ulempe ved kjent teknikk at tilførsel av tung væske via produksjonsrøret «... innebærer at nærliggende brønner også må stenges ned.»[70] Denne ulempe er bare aktuell for produksjonsbrønner. Endelig lærer beskrivelsen helt avslutningsvis at etter arbeidets utførelse og påkoplingssøylens frakopling inntar «styreenheten 44 ... igjen produksjonsmodus.»[71] Tingretten finner derfor at letebrønner faller utenfor Stridspatentets dekningsområde.
Side:26
Språklig favner «ventiltre (10)» både vertikale og horisontale ventiltrær. Begge typer ventiltrær inneholder i utgangspunktet de samme ventiler og ivaretar de samme funksjoner. Forskjellen mellom vertikale og horisontale ventiltrær er blant annet at
- et vertikalt ventiltre har en masterventil og en kroneventil montert i hovedløpet, og monteres på brønnhodet etter at produksjonsrøret er installert i brønnen og hengt av i brønnhodet, i motsetning til
- et horisontalt ventiltre som har to kroneplugger i stedet for ventiler i hovedløpet, og monteres på brønnhodet før produksjonsrøret[72].
SSS anførte under hovedforhandlingen at Stridspatentet ikke lar seg utøve på et horisontalt ventiltre fordi en rekke ikke omtalte ventiler også må åpnes for å kunne utøve fremgangsmåtepatentet, og at fagpersonen vil forstå at stridspatentet bare omfatter vertikale ventiltrær. Vetco har anført at også horisontale ventiltrær omfattes av Stridspatentets dekningsområde.
Tingretten finner at fagpersonen vil forstå at Stridspatentet er utformet med sikte på vertikale og ikke også horisontale ventiltrær: Trekk B beskriver et ventiltre «som har en kroneventil». Patentbeskrivelsen lærer om kroneventilen at
- den utgjør to barrierer sammen med toppventilen;
- at den sammen med kroneventilen og søyleventilene kan stenges ved avdrift av fartøyet fra undervannsbrønnen og ved endt operasjon; og
- at den «... styres på i og for seg kjent måte via ROV-opererte ventiler 31.»[73]
Vertikale ventiltrær er i henhold til allment akseptert fagterminologi utstyrt med en kroneventil («production swab valve») i produksjonsløpet, jf ISO-standard 13628-4 fra 2010[74], beskrivelsen[75], SSS’ hjelpedokument # 2 figur 1 og 2[76] og professor Sangeslands figur 3 og 4[77]. Tingretten finner at trekk B uten videre gir fagpersonen anvisning på at Stridspatentet omfatter vertikale ventiltrær.
Horisontale ventiltrær er derimot typisk utstyrt med en (eller to) kroneplugg(er) i produksjonsløpet (engelsk «crown plugs») og en kroneventil/«swab ventil»/ASV[78] plassert i ringrommet. Kroneplugger lar seg ikke styre av ROV slik beskrivelsen gir anvisning på, men kan trekkes og settes ved hjelp av et særskilt setteverktøy kjørt på kabel («wireline»). I tillegg vil ikke horisontale ventiltrærs ASV-ventil i ringrommet kunne ivareta oppgaven
Side:27
som nødvendig andre barriere sammen med toppventilen, slik beskrivelsens midtre del lærer[79].
Vetco har pekt på at ASV gjør det mulig å overføre væske fra over kronepluggene til så vel
- ringrommet (via ASV og AMV);
- produksjonsrøret (via ASV, XOV og PMV); og
- via vingventilen (PWV) til produksjonsrøret.
Beskrivelsen inneholder imidlertid intet om at også disse ytterligere ventiler må åpnes for at oppfinnelsen skal kunne utføres i tillegg til ventilene angitt i trekk 1 H. I tillegg vil fagpersonen være kjent med at en gjennomføring av både avleiringsoperasjoner og brønndreping via «diagonal» adkomst fra ringrommet vil være merkbart mindre effektive enn direkte gjennom produksjonsløpet, både på grunn av mindre tverrsnitt og av trykktapet som følge av de mange krappe retningsendringer væskestrømmen i så fall må passere. Tingretten har kommet til at fagpersonen vil forstå at trekk B, sammenholdt med beskrivelsen, innebærer at horisontale ventiltrær faller utenfor Stridspatentet.
Tingretten kommer utførlig tilbake til horisontale ventiltrærs betydning for Stridspatentets gyldighet i pkt 9 nedenfor.
Ifølge trekk B er ventiltreet endelig utstyrt med «... en kopling for en ventil[tre]kappe (30).» I kjent fagterminologi er en «ventiltrekappe (30)» som angitt i trekk 1 B velkjent, i motsetning til en «ventilkappe (30)» angitt i trekk 6 B som er ukjent. Begge kapper er dertil gitt samme illustrasjons-nummerering (30), og beskrivelsen lærer for både anordnings- og fremgangsmåtekravet at ventiltreet «er forsynt med en ventiltrekappe 30 og omfatter ellers et stort antall ikke viste komponenter som er kjent for en fagmann»[80]. Unnlatelsen av å ikke vise det store antall komponenter fagpersonen kjenner fra før trekker i retning av at fagpersonen også kjenner ventil[tre]kappen fra før. Videre lærer beskrivelsen i tilknytning til figur 2 at oppgraderingsmodulens innebyggede ventiltrekappe 38 «har de samme funksjoner som ventiltrekappen 30, men som i tillegg er forsynt med» to nærmere angitte trekk[81]. Etter en samlet vurdering finner tingretten at en fagperson vil forstå at utformingen av trekk 6B gjennom bruken av begrepet «ventilkappe (30)» skyldes en ren lapsus, og at han vil lese trekket som «ventiltrekappe (30)» både for fremgangsmåtekravet og for anordningskravet. Noe annet er heller ikke anført i saken. Den samme lapsus er også skrevet inn i trekk D, jf nedenfor.
Fagpersonen forstår – i samsvar med alminnelig fagterminologi -
- at ventiltrekappen er tett og utgjør én av minimum to nødvendige barrierer når den er koplet til ventiltreet;
Side:28
- at ventiltrekappen er koplbar og kan koples både på og fra ventiltreet; og
- at ventiltrekappen når den er koplet til ventiltreet er plassert over og ikke under kroneventilen.
Trekk C-D gir samlet anvisning på både en «oppgraderingsmodul», et «mellomrør» og en «toppventil» med nærmere beskrevet egenskaper og plassering. Ingen av disse tre begreper hadde noe entydig meningsinnhold i kjent fagterminologi pr Prioritetsdagen:
«Oppgraderingsmodulen» omtales i både bestemt og ubestemt form entall, men aldri i flertall. Stridspatentet gir således anvisning på bare én og ikke flere oppgraderingsmoduler for det enkelte ventiltre.
Orddelen «modul» tilsier isolert sett at oppgraderingsmodulen utgjør en enhet som er bygget og montert samlet på treet, i motsetning til plassbyggete flerkomponent-systemer.
Orddelen «Oppgradering» tilsier at modulen tilfører noe nytt eller oppdaterer noe eksisterende på ventiltreet. Kravets ordlyd suppleres her av beskrivelsen, som lærer at modulen «anvendes typisk for å overkomme svakheter i eksisterende utstyr»[82], men uten at beskrivelsen konkretisere hvilke svakheter det siktes til. I tillegg lærer beskrivelsen samme sted at oppgraderingsmodulen også kan omfatte annet nyttig utstyr som ikke inngår i oppfinnelsen som sådan, som hydrauliske pumper og ventiler for både høyt og lavt trykk, kjemikalie-pumper og også andre ventiler enn hydrauliske ventiler. I det foretrukne utførelseseksempel er således oppgraderingsmodulen i tillegg utstyrt med både en truster (60), en lyskilde (62) og et kamera (64)[83].
Trekk C plasserer oppgraderingsmodulen «på» ventiltreet. Dette forutsetter fysisk kontakt mellom de to. Samtidig defineres ikke oppgraderingsmodulens plassering i forhold til ventiltreet derved entydig – både plasseringer oppå, ved siden av eller under ventiltreet kan antakelig alle være «på» - språklig sett. Men en plassering «i nærheten av» ventiltreet vil ikke være «på» ventiltreet.
I tillegg beskriver trekk D at oppgraderingsmodulen «omfatter» en «ventilkappe 38». Som for trekk 6 B oppfatter tingretten «ventilkappe» i trekk D som en ren lapsus for «ventiltrekappe 38», jf ovenfor. Tingrettens forståelse forsterkes ved at beskrivelsens avsluttende og foretrukne utførelseseksempel gir anvisning på en oppgraderingsmodul «som er forsynt med en innebygget ventiltrekappe 38 som komplementært passer på ventiltreet 10 og som har de samme funksjoner som ventiltrekappen 30, ...», med tillegg av to særskilt angitte tilleggstrekk[84].
Side:29
Når trekk D i tillegg gir anvisning på at oppgraderingsmodulen «omfatter» en ventiltrekappe, finner tingretten at en oppgraderingsmodul i Stridspatentets forstand skal ivareta alle ventiltrekappens ordinære funksjoner, i tillegg til de to særskilt angitt tilleggstrekk.
Kravene plasserer ikke oppgraderingsmodulen tidsmessig. Beskrivelsen lærer derimot at den «kan være anbrakt på ventiltreet på et tidligere tidspunkt»[85]. Sett i sammenheng med beskrivelsen av fremgangsmåten ved endt operasjon om å «typisk» kople påkoplingssøylen fra oppgraderingsmodulen ved toppventilen[86], finner tingretten at Stridspatentet både omfatter
- Ventiltrær som er utstyrt med oppgraderingsmodul fra da det ble bygget nytt;
- Ventiltrær som har fått ettermontert oppgraderingsmodul forut for den aktuelle intervensjonsoperasjon; og
- Ventiltrær som får ettermontert oppgraderingsmodul i forbindelse med gjennomføringen av den aktuelle intervensjonsoperasjon;
uavhengig av om oppgraderingsmodulen forblir montert på ventiltreet eller fjernet etter avslutningen av den aktuelle intervensjonsoperasjon eller ei.
«Mellomrør»: Trekk D gir anvisning på at ventiltrekappen er koplet til en toppventil med nærmere angitt plassering «via et mellomrør (40)». Beskrivelsen gir ingen nærmere anvisning av hva det mener med et «mellomrør»[87], og på figur 2-4 er mellomrøret 40 bare fremstilt som en heltrukken linje.
Språklig er et rør beskrevet som henholdsvis
- «Åpne, hule sylindre»[88];
- «Et rørformet snitt eller en hul sylinder, vanligvis, men ikke nødvendigvis med sirkulært tverrsnitt»[89]; og/eller
- «Ein langstrakt struktur med gjennomgåande hol, laga av eit hardt materiale som metall, plast eller liknande, ... Tilsvarande strukturar av mjuke materiale kallast slangar. Ordet røyr vert òg brukt om hole sylindrar som er tette i eine enden, som til dømes reagensrøyr, og om somme tekniske komponentar som er heilt lukka og lufttette, som til dømes radiorøyr»[90].
Tingretten bygger på at et mellomrør i Stridspatentets forstand er et hulrom med faste vegger, eller en åpen sylinder. Funksjonelt kjennetegnes patentets mellomrør av å være en kanal som kan lede væske fra toppventilen til ventiltrekappen. Både innvendig og
Side:30
utvendig gjengede rør, sveisede, klinkede, valsede og hamrede rør, metall-, sement- og plastikk-rør er alle rør. Også en blokk-boring vil funksjonelt sett være et rør i Stridspatentets forstand.
Trekk D plasserer mellomrøret mellom ventiltrekappen og en tilkoplet toppventil ved oppgraderingsmodulens øvre parti, og kopler toppventilen til ventiltrekappen «via» mellomrøret. Tingretten forstår dette slik at væske-strømmen mellom ventiltrekappen og toppventilen skal flyte «via» eller gjennom mellomrøret fra toppventil til ventiltrekappe. I de fleste utførelser vil nok mellomrøret også befinne seg fysisk direkte mellom ventiltrekappen og toppventilen, uten at dette fremstår som noe selvstendig vilkår.
«Toppventil ved oppgraderingsmodulens øvre parti»: Toppventilen kan være en hvilken som helst type ventil (hydraulisk, ROV-operert, tilbakeslagsventil med videre)[91] som kan utgjøre en brønn-barriere[92]. Av trekk E fremgår at toppventilen også skal være egnet for tilkopling av påkoplingssøylen. Beskrivelsen lærer videre at toppventilen også er «velegnet» for påmontering av lokk og løfteøre når den er avstengt[93], og at den kan ta mot «væsker som benyttes for å fjerne avleiringer samt for brønndreping.»[94]
Trekk D krever bare at toppventilen er plassert «ved» oppgraderingsmodulens «øvre parti»; dvs i nærheten av og ikke nødvendigvis «oppå» denne. Dette gir en viss fleksibilitet i toppventilens plassering, så lenge den plasseres over oppgraderingsmodulens midtpunkt/midtlinje, og ikke for langt fra toppen. I tillegg finner tingretten at betegnelsen «toppventil» er språklig til hinder for at noen annen ventil plasseres enda høyere på oppgraderingsmodulen enn «toppventilen».
SSS har anført at Stridspatentet ikke krever at toppventilen er permanent montert. Vetco har anført at toppventilen er permanent installert som en del av oppgraderingsmodulen, og ivaretar barrierekravet både under produksjon og under på- og avkopling av injeksjonshodet.
Tingretten finner at Stridspatentet utvilsomt beskriver at toppventilen er permanent montert; dvs både før intervensjonsoperasjonen, under gjennomføringen av denne inkludert ved operasjonsavbrudd ved avdrift mv, og også etter avsluttet intervensjonsoperasjon og gjenopptatt produksjon. Allerede trekk D gir anvisning på at oppgraderingsmodulens ventiltrekappe «er» koplet (i presens), og ikke bare «kan» koples eller er «koplbar», til toppventilen. I samme retning trekker også
Side:31
- beskrivelsens angivelse av at «en betydelig ulempe» ved kjent teknikk er at ventiltrekappen ikke kan fjernes ved lekkasje i nedihulls sikkerhetsventiler, og at Oppfinnelsens formål er å avhjelpe eller redusere i det minste en av de nevnte ulemper ved kjent teknikk[95]. Oppfinnelsen avhjelper ikke denne ulempe om ikke toppventilen er påkoplet den modifiserte ventiltrekappe; og
- anvisningen i beskrivelsens alminnelige del av at toppventilen inngår i oppgraderingsmodulen som «anbringes ... på ventiltreet etter at ventiltrekappen er fjernet»[96], og at toppventilen sammen med kroneventilen «utgjør ... to barrierer» slik at «(P)åkoplingssøylen kan koples til toppventilen uten først å måtte fjerne en ventiltrekappe. Undervannsbrønnens integritet opprettholdes derfor under påkopling av påkoplingssøylen selv om undervannsbrønnens øvrige ventiler har feilet eller lekker»[97].
Etter patentloven § 8 annet ledd skal patentkravene som angir patentets beskyttelsesomfang være klare og tydelige og ha støtte i beskrivelsen. Stridspatentet lærer intet om at toppventilen kan fjernes fra oppgraderingsmodulen, verken i kravene eller i beskrivelsen. Tingretten finner at trekk D ikke også omfatter utførelser der toppventilen ikke er koplet til oppgraderingsmodulen.
Trekk E beskriver en «påkoplingssøyle» som omfatter minst to «søyleventiler (70)» og en «hurtigutløsbar kopling (74)», og hvor påkoplingssøylen skal være «påkoplbar» til toppventilen beskrevet i trekk D. Heller ikke «påkoplingssøyle» eller «søyleventil» har noe entydig meningsinnhold i kjent fagterminologi pr Prioritetsdagen:
Orddelen «søyle» tilsier både at påkoplingssøylen er utformet lengre enn den er bred, og at den utstrekker seg i vertikal- og ikke i horisontal-planet.
I tillegg fremgår det direkte av trekk E at påkoplingssøylen kan koples til toppventilen. Beskrivelsen supplerer på dette punkt av at påkoplingssøylen dertil «kan koples til toppventilen uten først å måtte fjerne en ventiltrekappe»[98], også om undervannsbrønnens øvrige ventiler har feilet eller lekker.
Påkoplingssøylen omfatter ifølge trekk E to elementer: For det første «minst to søyleventiler». Beskrivelsen klargjør at søyleventilene både kan være tilbakeslagsventiler, hydraulisk styrt og/eller ROV-opererte[99], og at de kan, men ikke må, være av ulike slag. I
Side:32
Stridspatentets foretrukne utførelseseksemplar vises eksempelvis to likeartede tilbakeslagsventiler[100].
Foranlediget av Vetcos anførsler bemerkes at betegnelsen «søyleventil» etter tingrettens syn ikke beskriver søyleventilenes form, men disses plassering i en påkoplings-«søyle». Stridspatentet gir ingen støtte for en slik særegen forståelse.
For det andre omfatter påkoplingssøylen «en hurtigutløsbar kopling (72)». Om denne lærer beskrivelsens midtre del at koplingen er «tilkoplbart til toppventilen», og «innrettet for å kunne løse ut ved uforutsette hendelser»[101]. I det foretrukne utførelseseksemplar er den hurtigutløsbare koplingen « av i og for seg kjent utførelse» plassert «(P)å et høydenivå i brukstilstand under søyleventilene», og «omfattende et nedre utløsbart parti som komplementært passer til toppventilen»[102]. Tingretten forstår av dette at den hurtigutløsbare koplings utførelse følger av kjent teknikk utenfor Stridspatentet.
Den hurtigutløsbare koplings relative plassering i forhold til søyleventilene innenfor påkoplingssøylen er ikke nærmere definert. Utførelseseksemplaret i figur 2, jf beskrivelsen plasserer den hurtigutløsbare koplingen mellom toppventilen og de to (eller flere) søyleventilene[103], men inviterer ikke uten videre til den antitetiske tolking at også Stridspatentet er slik begrenset. Trekk 1 E i fremgangsmåtepatentet gjør det klart at det er påkoplingssøylen som sådan, og ikke den hurtigutløsbare kopling, som skal koples til toppventilen. Ved en nøyaktig lesing finner tingretten at også anordningspatentets trekk 6 E gjør det klart at det er påkoplingssøylen og ikke nødvendigvis den hurtigutløsbare kopling som skal være påkoplbar til toppventilen.
7.3 Stridspatentets trekk F-I
Trekk F – I reiser ikke særlige tolkingsspørsmål av betydning for saken her. Tingretten nevner likevel at trekk F og I omtaler et «fartøy» som er kommuniserbart koplet til påkoplingssøylen med en slange, og som kan pumpe væske via slangen, påkoplingssøylen og oppgraderingsmodulen ned i undervannsbrønnen. Fartøyets egenskaper og størrelse beskrives ikke nærmere, utover å forutsette at det kan drive av fra undervannsbrønnen[104]. I det foretrukne utførelseseksemplar er fartøyet ikke vist[105]. Både flytende rigger og skip, inklusive skip av DP-klasse II og III, faller da innenfor Stridspatentet.
I tillegg angir trekk H at både kroneventilen, toppventilen og søyleventilene åpnes for at den patenterte fremgangsmåte kan utøves. Fagpersonen forstår uten videre at også sikkerhetsventilen (SCSSV) må åpnes for at tilført væske skal kunne nå ned i brønnen.
Side:33
I tillegg nevnes at trekk 6 G omtaler fjernstyring av «brønnhodet (10)», mens trekk 1 G omtaler fjernstyring av «ventiltreet (10)». I beskrivelsen er henvisningstallet 10 gjennomgående knyttet til «et ventiltre» eller «ventiltreet»[106]. Tingretten bygger i det følgende på at kravenes trekk 6 G inneholder en ren skrivefeil når det tilsynelatende anviser fjernstyring av «brønnhodet (10)» og ikke av «ventiltreet (10)».
Side:34
8. Motholdene
8.1 Zinc
«Zinc» er en presentasjon gitt ved Offshore Technology Conference («OTC») 3-6 mai 1993 under overskriften «An Overview of the Zinc Subsea Tree and Wellhead System»[107]. Zinc-prosjektet var et gass- og kondensatfelt i Mexico-gulfen ca 50 miles sør for Grand Isle, Louisiana på ca 1 500 fot dypt vann over forholdsvis løse bunnmasser og forholdsvis normalt reservoartrykk (ca 5 000 psi). Injeksjon av metanol var planlagt på Zync for å forebygge hydratdannelse[108], men ikke injeksjon av andre væsker for andre formål.
Zincs sammendrag fokuserer på hvordan initial- og driftskostnader kan begrenses, blant annet ved å designe undervanns-installasjonen med særskilt sikte på tilkopling og bruk av lavkostnads intervensjonsmetoder[109]. Zinc benyttet et vertikalt ventiltre, og en ventiltrekappe utstyrt med
- en chokeventil i produksjonsløpet plassert i ventiltrekappen i stedet for i ventiltreet, for lettere tilgang ved eventuell utskifting eller reparasjon av chokeventilen[110];
- to stk ¾ tommers ventiler for kjemikalie-injeksjon i produksjonsløpet;
- en ROV-operert kroneventil i produksjonsløpet over chokeventilen, som normalt er stengt og gir én barriere under minikappen; og
- en ROV-opererbar minikappe oppå ventiltrekappen som utgjorde barriere i tillegg til kroneventilen. Ved å fjerne minikappen fikk man vertikal tilgang til produksjonsløpet, samtidig som hydraulisk kontroll av ventiltreet forble hos produksjonsplattformen[111].
Zinc skiller mellom konvensjonell brønnintervensjon («conventional workover») som involverer borerigg, stigerør til plattform og fjerning av ventiltreet, og på den annen side lettere «wireline workover» som ikke krever fjerning av ventiltreet og ikke nødvendigvis bruk av plattform heller[112]. Zinc lærer at slike lettere kabel-teknikker muliggjør bruk av en undersjøisk «lubricator», som tingretten forstår er et trykksluse-verktøy som plasseres på toppen av et vertikalt ventiltre eller et brønnhode og som muliggjør inn- og utføring av mekanisk redskap/verktøy mellom plattform og et levende produksjonsløp under trykk. Zinc beskriver særskilt at dersom alle brønnens sikkerhetsventiler svikter slik at ventiltrekappen ikke kan fjernes, kan en spesialbygget «re-entry package» montert på borerør føres via kabel ned til og gjennom «lubricator» etter at minicapen er fjernet, føres ned i produksjonsløpet og reetablere barrierer, hvoretter ventiltrekappen kan fjernes og alle
Side:35
ønskelige nedihulls-operasjoner kan utføres[113]. Samtidig opplyser Zinc at arbeidsbåter for slike kabelteknikker ikke var tilgjengelig i Mexico-gulfen dengang.
Så langt tingretten forstår beskriver Zinc enkelte operasjoner gjennomført med bare én enkel barriere.
8.2 Prado
«Prado» er en presentasjon gitt ved OTC 3-6 mai 1999 under overskriften «Spool-Tree Development for 2500-m Water Depth»[114]. Presentasjonen beskriver utviklingen av et såkalt spole-ventiltre («spool christmas tree»), og ble avholdt allerede mens løsningen var på design-stadiet. Etter konferansen skulle Prado testes på verft i oktober/november 1999 og deretter installeres og testes på brønn[115]. Testresultatene ble ikke opplyst tingretten.
Prado beskriver et horisontalt ventiltre designet for 5 000 psi trykk plassert på 2 500 m dypt vann utenfor Brasil, utstyrt med tre uavhengige kveilerørs-spoler for henholdsvis produksjonsrør på 5 1/8 tommer, ringromsrør (Annulus) på 2 1/16 tommer og navlestreng.
Prado beskriver blant annet gjennomføring av lett brønnintervensjon med tilgang til produksjonsrøret ved hjelp av en såkalt overhalings-BOP («workover BOP») uten at ventiltrekappen må fjernes først[116], ved at en fast ventiltrekappe ble erstattet med et rør med ventil i de gjennomgående ringroms- og produksjonsløp.
Prado forklarer ikke særskilt hva som konkret menes med lett brønnintervensjon. Fagpersonen vil imidlertid vite at tilkopling av overhalings-BOP gir full tilgang til brønnen, og muliggjør både avleiringsbehandling og brønndreping via ringrommet. Etter eventuell fjerning av det horisontale ventiltres kroneplugger gir en overhalings-BOP også direkte tilgang til produksjonsløpet.
Prado benytter ventiltreets øvre tilkopling til vekselvis ventiltrekappen, overhalings-BOP og setteverktøyet («tree running tool»), og disses tilkopling er derfor likeartet utformet[117]. En hurtig-frakopling styrbar fra overflaten muliggjør frakopling av utstyret fra ventiltreets stigerør for borestrengen som vist i figur 6, uten at det fremgår særskilt hvordan begge ender av det som i så fall koples fra hverandre tettes.
Ventiltrekappen beskrives ved at den under produksjon etablerer barriere mot produksjonsløpet gjennom en «metal sealing» ovenfor kabelpluggen («wireline plug») i
Side:36
tillegg til produksjonspluggen, og har en pakningsskive («VX gasket») som siste barriere[118]. Ventiltrekappens rolle under brønnintervensjon beskrives ikke særskilt.
I tillegg beskriver Prado en ekstern trykk-kappe («external pressure cap»). Denne tilveiebringer en hydraulisk bro mellom ventiltreets funksjoner og navlestrengen mot overflaten i produksjonsfasen, og mellom ventiltreets funksjoner og overhalings-BOP under brønnintervensjoner[119].119 Trykk-kappen er utstyrt med et ROV-opererbart kontrollpanel for det tilfelle at produksjonsplattformens opprinnelige hydrauliske kontroll over ventiltreet skulle mistes.
Prado beskriver ingen kroneventil. Derimot benytter Prado en metallplugg plassert høyt i produksjonsløpet. Ved å fjerne pluggen mekanisk og benytte en særskilt «metall-motmetall» forsegling muliggjør Prado intervensjon direkte i produksjonsløpet. Prado beskriver heller ingen påkoplingssøyle særskilt.
8.3 Doyle
«Doyle» er en patentsøknad av mars 1986 som viser et tidlig, horisontalt ventiltre med en modifisert ventiltrekappe[120]. Doyle lærer at ventiltreets øvre del er konfigurert til å både passe til den modifiserte ventiltrekappe, og - når ventiltrekappen er fjernet - til BOP og stigerørs-systemet ved brønnintervensjon (under «workover»)[121].
Doyles ventiltrekappe er dertil modifisert gjennom å være utstyrt med en sekundærtrekappe som gir mulighet for tilgang og tilkopling for et mindre kabelbasert BOP system som forenkler gjennomføringen av generelle kabelbaserte intervensjonsarbeider i brønnen[122]. Modifikasjonen omfatter også plassering av en kroneventil («swab valve») i primærtrekappen for økt barrieresikkerhet både ved generelle kabelbaserte intervensjonsarbeider og ved fjerning av sekundærtrekappen. I Doyles krav 6 er imidlertid sekundærtrekappen bare beskrevet som plassert på primærtrekappen og tilpasset for å muliggjøre tilgang ved hjelp av kabelverktøy[123].
Side:37
Doyle lærer at også kronepluggen, som er plassert øverst i innløpet til produksjonsrørhengeren («tubing hanger manifold body») og kan fjernes mekanisk ved hjelp av kabelbasert verktøy, bidrar til barrieresikring[124].
Etter rettens syn omhandler Doyles kabeloperasjoner ved bruk av mekanisk verktøy og utstyr gjennom sekundærtrekappen mot produksjonsløpet, men ikke tilførsel av væske. Doyle gir så vidt sees ingen selvstendig læring i retning av å tilføre brønnen væske eller hvordan dette i så fall kan gjøres; verken gjennom ventiltrekappen eller gjennom andre kanaler, jf Stridspatentets trekk A. Doyles sekundær-trekappe suppleres av en kroneventil i primærtrekappen (i stedet for i Stridspatentets oppgraderingsmodul), men Doyle mangler både Stridspatentets toppventil ved oppgraderingsmodulens øvre parti (trekk D) og de etterfølgende trekk E, F, G, H og I.
8.4 MARS Scale Squeeze frokostpresentasjon
MARS Scale Squeeze frokostpresentasjon («Frokostpresentasjonen») ble gitt av Ian Donald i mai 2009 under overskriften «Operational and Economic benefits of using MARS for Well Stimulation»[125]. MARS er et akronym for Multiple Application Reinjection System, og kjennetegnes ved at man ved hjelp av særskilt installert brønnutstyr kan lede produksjonsstrømmen bort fra dennes normale strømningsvei fra brønn til plattform, behandle produksjonsstrømmen på ulike vis, og deretter lede den tilbake til strømningsveien på samme eller et annet punkt. MARS har blitt beskrevet som en «retrofit access port» forklart som en «USB-inngang for brønnhodet» for fremtidige produksjonsoptimaliserende tiltak[126], og kan benyttes mot både vertikale og horisontale ventiltrær.
Teknologien ble presentert for tingretten gjennom totalt fem ulike presentasjoner avgitt både før og etter Stridspatentets Prioritetsdato 24 mai 2011. Gjennomgående synes presentasjonene mer utformet med sikte på å fungere som presentasjons- og salgsmateriell enn som teknisk dokumentasjon i snever forstand. Foruten Frokostpresentasjonen er også fremlagt
- presentasjonen «Delivering Strategic options for maximum recovery throughout life of field», Subsea Asia 2008, på U s 506-42 («Asia-presentasjonen»);
- presentasjonen «Using MARS Technology for improving Oil Recovery and Reducing Production Risk», SPE 132274 av juni 2010 på U s 730-40 («2010-presentasjonen»). Både Frokost-, Asia- og 2010-presentasjonene ble altså avholdt før Stridspatentets Prioritetsdato;
Side:38
- presentasjonen «Subsea Liquid Sampling Using Flow-through Technique», udatert og avholdt på uopplyst tidspunkt etter 1 desember 2009, på U s 48-72. Tingretten må da bygge på at det ikke er sannsynliggjort at denne presentasjon var offentlig tilgjengelig før Stridspatentets Prioritetsdato; og
- presentasjonen «Subsea Well Fluid Intervention Using MARS», SPE 146267 av november 2011 på TU s 655-60. Denne ble avholdt først etter Stridspatentets Prioritetsdato.
På dette grunnlag bygger tingretten på at det ved vurderingen av de ulike MARSpresentasjoners tekniske innhold og hva en fagperson ville forstå pr Stridspatentets Prioritetsdato må skilles mellom
- MARS konfigurert med en eller to boringer, der det etter Prioritetsdato er opplyst at utførelsen med enkelt-boring benyttes for blant annet injeksjon av væsker og/eller kjemikalier og brønndreping, mens utførelsen med dobbelt-boring benyttes for måling, separasjon av faste stoffer og «boosting technologies»[127]; og særlig
- MARS utformet for å tilføre en koaksial væskestrøm inn i ventiltre-konvolutten via enten strupeventilen (benevnt «MARS via Choke») eller ventiltrekappen «MARS via Treecap»[128]. Av disse to ligger MARS via Treecap nærmere Stridspatentets løsning enn MARS via Choke.
Den tallmessig hyppigste utførelse er samtidig MARS via Choke, som viser MARSverktøyet koplet til en modifisert strupeventil («choking valve») beliggende i produksjonsstrømmen etter vingventilen ved ventiltreet produksjonsutløp, og ikke i ventiltrekappen[129]. I denne utførelse ledes produksjonsstrømmen ut fra en modifisert, permanent installert strupeventil som muliggjør en «koaksial væskestrøm» gjennom en rørsløyfe til en «Universal Work Platform» («UWP») eller «Injection Skid» som er en plate plassert på utsiden av og oppå ventiltre og ventiltrekappe[130]. På denne platen kan det plasseres verktøy for å behandle produksjonsstrømmen på ulikt vis ved hjelp av et over tid økende antall nærmere angitte såkalte MARS-moduler. Produksjons-strømmen ledes deretter tilbake via den modifiserte MARS-strupeventilen mot ventiltreets produksjonsutløp og videre bort fra brønnen mot plattform.
I U s 53 læres videre at MARS via strupeventil for enkeltboring kan oppgraderes med et injeksjonsrør med et tverrsnitt på 5,41 kvadrattommer for blant annet avleiringsbehandling, nedihulls injeksjon av væske eller kjemikalier, rørskylling, hydratbehandling og brønndreping. På grunn av denne presentasjons usikre dato ser tingretten bort fra denne ved vurderingen av Stridspatentets gyldighet.
Side:39
De åtte funksjons-alternativene avbildet på U s 661 viser at væskestrømmen også kan snus ved vanninjeksjonspumping og WI/WAG-konvertering, slik at væske eller gass hentes fra plattform eller fra andre kilder tilkoplet MARS-sløyfen oppå arbeidsplattformen og føres tilbake gjennom MARS-modulen og strupeventilen og ned i produksjonsløpet[131]. Så vidt skjønnes opphører brønnen i slike tilfeller å være en produksjonsbrønn, for å bli benyttet som en brønn for injeksjon av vann eller vann/gass ned i reservoaret.
Frokostpresentasjonen oppgir i tilknytning til Shells installasjon av MARS på henholdsvis Bittern-feltet i 2008 og Pierce-feltet i 2009 at man via strupeventilen oppnådde et nytt og trygt tilgangspunkt mot både reservoar og rørsystem, og at produksjonen ble optimalisert gjennom sikrere, raskere og rimeligere, og derfor hyppigere, avleiringsoperasjoner[132]. Chevrons avleiringsoperasjoner på Lobito Tomboco-feltet i desember 2009 benyttet MARS via Choke[133]. Samme presentasjon opplyser videre at «MARS modified chokes» pr 2010 også ble vurdert montert på ventiltreet på nye felt ved disses systemintegrasjonstest, for å spare 8-12 timers ettermonteringstid[134]. Endelig vises at også utskifting av kritisk måleutstyr kunne gjennomføres ved hjelp av MARS via Choke[135].
Frokostpresentasjonen omhandler avleiringsoperasjoner («scale squeeze») særskilt. På U s 667-70 oppgis som designkriteria for MARS via Choke blant annet
- injeksjonspunkt for avleiringskjemikalier med minimums injeksjonskapasitet (10 fat/minutt), uten at injeksjons-punktets utforming og plassering i ventiltre-arkitektur og væskestrøm belyses nærmere;
- at MARS-systemet ikke må forhindre intervensjonen og opprettholde strupeventilens funksjonalitet, og
- Beskyttelse ved fartøy-avdrift, som læres ivaretatt gjennom en hurtig-frakoplingsmodul
plassert på slangen mellom ventiltreet på havbunnen og overflatefartøyet[136].
Illustrasjonen viser imidlertid ikke hvordan hurtigfrakoplingsmodulen er utformet eller opereres for å oppnå den forespeilede virkning.
Frokostpresentasjonen suppleres på dette punkt av 2010-presentasjonen ved opplysning om at arbeidsplattformen MARS benytter på og oppå ventiltreet for de ulike MARS-moduler (UWP) omfatter alle nødvendige systemer for brønnkontroll og avdrift av overflatefartøyet
Side:40
gjennom et «breakaway manifold system»[137]. Heller ikke her konkretiseres imidlertid midlene og metodene for å nå det beskrevne resultat særskilt.
Frokostpresentasjonen omtaler også avleiringsoperasjoner mot flerbrønns oljefelt særskilt[138]. Det læres at væske injiseres direkte i brønnen via ventiltreet fra et overflatefartøy, at produksjon fra øvrige brønner kan opprettholdes og at økt produksjonsrate oppnås for lavere kostnader, men vises ikke mer konkret hvor på ventiltreet injisering skjer; hvordan injiseringsverktøyet utformes eller hvordan injiseringsvæsken kommer ned i brønnen, enn det som følger av Mars via Choke i sin alminnelighet.
I Asia 2008-presentasjonen ble koaksial MARS-teknologi anført å kunne benyttes både ved avleiringsbehandling og brønndreping[139]. Så vidt skjønnes siktes det også her til Mars via Choke.
MARS via Treecap finnes bare omtalt før Stridspatentets Prioritetsdato i 2010-presentasjonen. Her heter det at MARS via Treecap er «... similar to the subsea variant, but the co-axial flowpath is located in the tree bore as opposed to the retrievable choke body.»[140] En illustrasjon viser MARS via Treecap benyttet med en flerfase-pumpe for å øke væsketrykket i produksjonsstrømmen videre bort fra brønnen mot plattform med forhøyd trykk, samtidig som selve rørgjennomføringen i ventiltrekappen er skjult bak en tekstboks[141]. Flerfase-pumpene bestilt til King-prosjektet i desember 2007 beskrives som utført på separate fundament ved siden av brønnhodene[142].
2010-presentasjonen beskriver hovedfordelen ved å benytte MARS til avleiringsoperasjoner slik:[143]
«Where scale treatment is planned to be carried out on an as required basis, this can be done by either using a rig or intervention vessel to squeeze the well directly, alternatively a direct squeeze from the production facility can be achieved by using an existing test or production flowline. Depending on the severity of the scaling issue, the system architecture and the frequency of the operation, these options can have significant OPEX and Production impact.
The main benefit of MARS in these circumstances is that MARS is deployed from a suitable RSV or field vessel, and once the MARS choke is installed, only the production from well being treated is affected thereby minimizing the production impact.
Side:41
In 2008 Shell UK installed the first MARS based subsea well intervention system to carry out scale squeeze operations on a North Sea well. To enable optimum production from existing subsea wells, Shell required chemical (scale) squeeze approx every six months. By upgrading the subsea trees to accept MARS, Shell was able to optimize their scale squeeze operations.
...
To date, these systems have been retrofitted subsea onto existing hardware on the Shell UK Bittern field while further systems will be installed onto the next operational Xmas trees during systems integration testing. In addition to Bittern, Shell UK has adopted the MARS Well treatment for the Pierce field.» (uthevet av tingretten).
Tingretten finner etter dette å måtte bygge på at avleiringsoperasjoner og/eller brønndreping ved hjelp av MARS utelukkende synes beskrevet gjennomført via strupeventilen og ikke via ventiltrekappen, jf rettens uthevelser i sitatet ovenfor. Så vidt sees beskriver ingen av de tre rettidige presentasjoner nærmere hvordan MARSgrensesnittet mot ventiltrekappen utformes eller tilkopling gjennomføres, eller beskriver bruk av MARS via Ventiltrekappe til noe annet formål enn å øke produksjonsstrømmens pumpetrykk fra ventiltre mot plattform.
Tingretten kommer tilbake til MARS’ betydning som mothold i saken nedenfor.
8.5 US 514-patentet
US 514-patentet er et amerikanske fremgangsmåtepatent med prioritetsdato 14 mai 1999 med overskriften «Recovery of production fluids from an oil or gas well»[144], og med Ian Donald som en av to oppfinnere. Patentet retter seg mot det problem å øke produksjonsstrømmens trykk fra lavtrykksbrønner[145], og beskriver at dette typisk gjøres i kjent teknikk ved å installere en pumpe etter vingventilen ved ventiltreets produksjonsutløp («PWV») eller ved å installere en pumpe fra rigg. Ulempene ved kjent teknikk er at installasjon av trykkpumpe er en vanskelig operasjon som krever produksjonsstans mens operasjonen gjennomføres, og/eller kostbar brønnintervensjon fra rigg.
US 514-patentet beskriver en ventiltrekappe med to løp – et produksjonsløp og et ringromsløp, og lærer å lede produksjonsvæske fra et punkt i det ene løpet over i det andre løpet, hvilket muliggjør behandling av produksjonsvæsken med trykkøkende pumpe eller kjemikalier før produksjonsvæsken tilbakeføres til et senere punkt i det første løpet.
US 514 lærer både at uttaket av produksjonsvæske typisk kan skje gjennom en kappe på ventiltreet[146], eller ved hjelp av en væskeuttaks-sammenstilling («flow diverter assembly»)[147]. For ventiltrekappe-alternativet læres at kappen kan utstyres med pumpe
Side:42
eller behandlingsverktøy, samtidig som produksjonsstrømmen i de fleste utførelser vil bli ledet i rør («tubing»/«conduit») til og fra ventiltrekappen for å bli behandlet utenfor denne. Denne utforming synes å ha flere fellestrekk med Mars via Treecap, jf pkt 8.4 ovenfor.
For væskeuttaks-sammenstillings-alternativet læres at denne typisk er utformet i kvalitetsstål eller andre metaller og utstyrt med nødvendige forseglingsmidler, som kan lede produksjonsstrømmen bort fra et punkt i ventiltreets ene løp over i det andre løpet, og har virkemidler («means») for å lede produksjonsstrømmen tilbake til et annet punkt i det første løpet for å bli gjenvunnet («recovery») via det første løpets utløp. Også for væskeuttaks-sammenstillingen lærer beskrivelsen at produksjonsstrømmen etter å ha blitt ledet ut fra det første løpet passerer en trykkøkende pumpe («booster pump») eller et kjemisk avleiringsbehandlende apparat («squeeze or scale chemical treatment apparatus»)[148], ledes tilbake til den andre løpet og derfra på tvers («to a crossover») tilbake til det første løpet og dette løps utløp.
Væskeuttaks-sammenstillingens bruksområde angis å typisk omfatte undervannsbrønner i produksjon eller under testing, men den kan også brukes i undersjøiske injeksjonsbrønner, landbaserte oljeproduserende injeksjonsbrønner og geotermiske brønner[149]. Den trykkøkende pumpen kan drives av ulike energibærere[150]. Forseglingene mellom ventiltrekappen og ventiltreets boringer kan utformes som både O-ring eller oppblåsbare forseglinger, samtidig som metall-til-metall-pakninger foretrekkes[151]. Ventiltrekappen beskrives som egnet for kostnadseffektiv ettermontering på eksisterende ventiltrær uten inngrep i eksisterende rørledninger og minimal inngripen i eksisterende kontrollsystemer. Væskeuttaks-sammenstillingen utformes i henhold til det eksisterende ventiltres utførelse på en speilende eller samvirkende måte som både muliggjør å isolere pumpen fra produksjonsløpet, og samtidig etablere en omkjørings-sløyfe («bypass loop»)[152]. Sammenstillingens utførelse beskrives ikke mer konkret. Væskeuttaks-sammenstillingen synes å omfatte MARS via Choke, selv om verken kravene eller beskrivelsen i US 514-patentet knytter væskeuttaks-sammenstillingen til choke-ventilen konkret.
US 514-patentet beskriver således verken hvordan uttaket av produksjonsstrømmen gjennom ventiltrekappen konkret gjøres, eller hvordan væskeuttaks-sammenstillingen er utformet eller hvor i ventiltreet den benyttes. For et patent som bare inneholder fremgangsmåtekrav er det heller ikke påkrevd.
Side:43
8.6 Oceaneering AIT
Oceaneering er et amerikansk børsnotert selskap stiftet i 1964, som fra å være et regionalt dykkerfirma i dag leverer ingeniør-baserte varer og tjenester til oljeindustrien, romfart, forsvarsindustri og fornøyelsesparker over hele verden. Herunder opererer Oceaneering en stor og ledende ROV-flåte.
Selskapets Acid Injection Tool («AIT») er et syreinjeksjonsverktøy beskrevet i 2009 og 2010 som muliggjorde pumpejobber utført på produserende undervannsbrønner uten å måtte benytte rigg og stigerør til fartøy[153]. AIT ble satt ut, kontrollert og tatt opp igjen fra et lettere overflatefartøy og muliggjorde levering av flytende kjemikalier til brønnen gjennom to kveilerørs-forbindelser fra fartøyet («dual coil tubing unit»). En gjennomsnittlige tilførsel av 5,2 fat/min beskrives[154]. To kveilerør fremheves som fordelaktig fremfor ett både på grunn av kveilerørspolens mindre fotavtrykk på dekk og lavere tyngdepunkt med tilhørende bedret stabilitet for overflatefartøyet, og raskere rengjøring av kveilerørforbindelsen etter avsluttet intervensjon[155].
Selve injeksjonshodets designspesifikasjoner omfatter
- «Dual Bore Isolation», dvs to ventiler plassert i serie mellom ventiltreet og overflatefartøyet. En av ventilene opereres av ROV og den andre akustisk;
- Ca 150 fot lang slangeforbindelser («flying leads») med ROV-operert «kobra-hode» til hver kveilerørs-forbindelse som begge koples til injeksjonshodet ved hjelp av ROV etter at dette er koplet til brønnens ventiltrehode. E&P-artikkelen lærer at AIT kan kombineres med praktisk talt alle setteverktøy på markedet («capable of operating with virtually any tree running tool on the market»)[156]; og
- Akustisk styrt hurtigutløsbar nitrogengass-drevet nødfrakopling («acoustic operated emergency shut-off and disconnect system») som «skyter» kobrahodene løs fra injeksjonshodet og forsegler både injeksjonshodet og kobrahodene uten utslipp til det ytre miljø ved hjelp av «puppet valves». Derved kan intervensjonsfartøyet forlate brønnen ved høy sjø, teknisk svikt og/eller tap av dynamisk posisjonering for senere påkopling uten at noe utstyr må tas opp til overflaten.
Ved bruk av AIT overtar ikke intervensjonsfartøyet kontroll over brønn og ventiltre – brønnkontroll opprettholdes av produksjonsrigg under intervensjonsprosessen. Videre beskrives ikke særskilt hvordan AIT får tilgang gjennom ventiltrekappen, utover at AIT er utformet med sikte på fleksibilitet, slik at det kan benyttes sammen med «virtually any tree running toll on the market».
Side:44
8.7 Egen patentsøknad
I Stridspatentets beskrivelse av kjent teknikk heter det[157]:
10 «Under petroleumsutvinning har det vist seg nødvendig å tilføre væske til brønner for å behandle disse, det vil si å forhindre dannelse av eller fjerne avleiringer. Det har også vist seg nødvendig å kunne tilføre tung væske til brønnen for såkalt brønndreping.
15 Ifølge kjent teknikk utføres slikt arbeid på undervannsbrønner ved at en ventiltrekappe fjernes fra et på undervannsbrønnen montert ventiltre ved hjelp av et egnet verktøy. Deretter senkes og koples et såkalt "kill og scale"-verktøy som har slangeforbindelse til et fartøy, til ventiltreet, hvoretter innpumping av væske i undervannsbrønnen kan finne sted.
20 Denne kjente teknikk har flere ulemper. En betydelig ulempe er at ventiltrekappen må fjernes, noe som reduserer antall barrierer mellom brønnstrømmen og omgivelsene. Dersom det oppdages lekkasje i en undervannsbrønns ventiler så som den nedihulls sikkerhetsventil kan det hende at eneste barriere er ventiltreets kroneventil (eng: swab valve) og ventiltrekappen. Ventiltrekappen kan da av sikkerhetsmessige årsaker ikke fjernes.
Eneste mulighet er da å tilføre tung væske via produksjonsrøret, noe som innebærer at nærliggende brønner også må stenges ned.»
Side:45
9. Gyldighet
Patentloven § 2 første ledd krever at oppfinnelser som skal meddeles patent må inneha både nyhet og oppfinnelseshøyde. Bestemmelsen lyder:
«Patent meddeles bare på oppfinnelser som er nye i forhold til hva som var kjent før patentsøknadens inngivelsesdag, og som dessuten skiller seg vesentlig fra dette.»
9.1 Fagpersonen
Både nyhet og oppfinnelseshøyde vurderes med utgangspunkt i en tenkt, idealisert skikkelse - «Fagpersonen» - som
- både forutsettes å ha full kjennskap til all allment tilgjengelig kunnskap i hele verden inkludert teknikkens stand på Prioritetstidsdagen og som har en normal evne til å utnytte all denne kunnskap på en god og fagmessig måte, inkludert en viss evne til å kombinere kunnskapen og å foreta nye nærliggende konstruksjoner; og
- som samtidig helt mangler selvstendige, oppfinneriske evner[158].
Konkretiseringen av Fagpersonen må skje med utgangspunkt i Stridspatentets teknologiområde og en realistisk vurdering av hva slags fagfolk som er nærmest til å gjøre oppfinnelser av det foreliggende slag.
Oppfinnelsen i saken her tilhører det mekaniske teknologiområde, og aktualiserer ikke bruk av kunnskap eller konstruktive trekk hentet fra fjerntliggende eller spesielt avanserte teknologiområder. Den er en kombinasjonsoppfinnelse som retter seg mot en særskilt sammensetning av i og for seg kjente enkeltelementer som rør, ventiler og koplinger for å utføre kjente brønnintervensjoner på en annen måte. Formuleringen av Stridspatentets to selvstendige krav retter seg således ikke så mye mot enkelt-elementenes utforming som mot enkelt-elementenes sammensetning og samvirke på overordnet og konseptuelt nivå.
Tingretten har kommet til at Fagpersonen i saken her vil være en brønningeniør med operativ og praktisk erfaring fra gjennomføring av avleirings- eller brønndrepingsoperasjoner.
Særlig for kombinasjonsoppfinnelser som den foreliggende vil det kunne være et skille mellom det oppfinnerisk konseptuelle på den ene side, og på den annen side den fler- eller mangesidige fag- og håndverksmessige detaljutforming og utprøvning av et utførelseseksemplar som utnytter oppfinnelsen på en teknisk god måte. Tingretten finner det ikke sannsynlig at oppfinnelser som den foreliggende mest sannsynlig vil bli gjort av et
Side:46
tverrfaglig team som omfatter alle de aktuelle fag- og erfaringsområder som vil kunne inngå i den fagmessige utvikling av et utførelseseksemplar, slik Vetco gjorde gjeldende.
9.2 Nyhet
Partene har vært enige om at ett allment tilgjengelig mothold som – sammenholdt med fagets alminnelige kunnskap - vil gjøre Fagpersonen i stand til å utøve alle oppfinnelsens trekk uten urimelig byrde eller eksperimentering, vil være nyhetshindrende etter patentloven § 2 første og annet ledd. «Fagets alminnelige kunnskap» er et snevrere kunnskapsbegrep enn «teknikkens stand», og vil typisk omfatte innholdet i alminnelig kjente lære- og håndbøker, samt den fagkunnskap som den enkelte medarbeider ordinært opparbeider seg i sitt arbeid og er berettiget til å benytte i ny virksomhet ved et eventuelt jobbskifte[159]. Utenfor fagets alminnelige kunnskap faller således eksempelvis beskyttede forretningshemmeligheter, enkelt-artikler eller konferansepresentasjoner, særskilte patentskrifter eller vitenskapelige artikler.
Ved nyhetsvurderingen finner tingretten at Frokostpresentasjonen og US 514-patentet må anses som to ulike og ikke ett samlet mothold, slik Vetco har anført. Retten har da bygget på at de fleste av Frokostpresentasjonens enkeltbilder gjengir US 514-patentets patentnummer tydelig lesbart «på høykant» i den stående grafiske stolpe i venstre billedkant. Foruten patentnummeret fremstår den grafiske stolpes øvrige designelementer som et utsnitt av en i hovedsak lyseblå kollasj der både enkeltbokstaver og utsnitt av ord-, figur- og fargeelementer fremgår, eksempelvis figurmerket MARS med farge-aksent i rødt og (formentlig) ordet «recovery». Stolpens eneste fullstendig synlige designelement er imidlertid patentnummeret «på høykant».
Presentasjonens muntlige innhold ble ikke bevisført for tingretten, og US 514-patentets innhold sees ikke nærmere omtalt i noen av presentasjonens enkeltbilder. Det er da ikke mest sannsynlig at US 514-patentets nærmere innhold ble forklart eller belyst under presentasjonen i større grad, enn hva som fremgår av lysbildene.
Tingretten bygger på at det i visse tilfeller kan være rettslig adgang til å supplere ett mothold med innholdet av et annet, også ved nyhetsvurderingen. Dette kan være aktuelt dersom det første mothold uttrykkelig referer til den annet dokument, samtidig som det av referansen fremgår at det andre dokument inneholder mer detaljert informasjon om enkelte trekk i det første dokument[160]. En ren henvisning til et meddelt patents nummer, uten noen sannsynliggjort angivelse av hva som der finnes og hvordan dette forholder seg til innholdet av det første dokument, er imidlertid ikke tilstrekkelig.
Side:47
Videre finner tingretten at Frokostpresentasjonen, Asia-presentasjonen og 2010-presentasjonen må anses som ulike mothold som ikke kan kombineres i forhold til nyhetskravet. Samtidig finner tingretten at det ved vurderingen av hva MARS-teknologien beskrevet i Frokostpresentasjonen inneholder kan hentes veiledning også fra Asiapresentasjonen og 2010-presentasjonen.
Tingretten har kommet til at ingen av de mothold Vetco har anført som nyhetshindrende, foregriper alle Stridspatentets trekk. Konkret finner tingretten:
- At Zinc mangler både toppventilen i Stridspatentets trekk D, hele påkoplingssøylen med to søyleventiler og hurtigutløsbar kopling i trekk E, og påkoplingssøylens kommuniserbare slangeforbindelse til overflatefartøy som styrer ventiltreet eller oppgraderingsmodulen etter trekk F og G.
I tillegg kommer at Zincs uttalte formål er å lette utskifting av strupeventilen, samtidig som Zinc beskriver injeksjon av metanol for å forebygge hydratdannelse og mulighet for brønndreping fra plattform. Med hydratdannelse forstår tingretten at lette gassmolekyler fyller hulrommene i vannmolekylenes gitterstruktur og danner plugger i rørledninger ved nærmere betingelser[161]. Alt dette faller utenfor Stridspatentets formål, som er behandling av avleiringer eller brønndreping fra overflatefartøy[162]. Fagpersonen ville ikke supplert Zincs manglende trekk gjennom fagets alminnelige kunnskap;
- At Prado mangler de to søyleventilene og den hurtigutløsbare kopling mellom toppventil og påkoplingssøyle i Stridspatentets trekk E og den kommuniserbare slangeforbindelse i trekk F.
Prado muliggjør Stridspatentets formål, men benytter en overhalings-BOP som både er kjent teknikk og en vesentlig større og tyngre anordning enn Stridspatentets oppgraderingsmodul med toppventil og påkoplingssøyle, og som krever større og tyngre infrastruktur enn Stridspatentets løsning. I tillegg retter Prado seg mot et horisontalt ventiltre uten Stridspatentets toppventil, og nødvendiggjør en komplisert, men ikke oppfinnerisk, omruting av tilført væske fra ringrommet til produksjonsløpet som reduserer den tilførte væskes effekt på grunn av mindre tverrsnitt og væskestrømmens mange krappe retningsendringer. Fagpersonen ville ikke supplert Prados manglende trekk gjennom fagets alminnelige kunnskap;
- At Doyle mangler både kroneventilen i Stridspatentets trekk B, hele påkoplingssøylen med to søyleventiler og en hurtigutløsbar kopling i trekk E, og påkoplingssøylens
Side:48
kommuniserbare slangeforbindelse til overflatefartøy som styrer brønnhodet eller oppgraderingsmodul etter trekk F og G.
I tillegg retter ikke Doyle seg mot Stridspatentets formål vedrørende avleiringsbehandling eller brønndreping, men mot montering av et nytt horisontalt ventiltre. Fagpersonen ville ikke supplert Doyles manglende trekk gjennom fagets alminnelige kunnskap; og
- At Frokostpresentasjonens MARS via Choke slik den vises på U s 661 og s 668 både mangler den oppgraderte ventiltrekappe med toppventil i Stridspatentets trekk D, hele påkoplingssøylen med to søyleventiler og en hurtigutløsbar kopling i trekk E, og påkoplingssøylens kommuniserbare slangeforbindelse til overflatefartøy som styrer brønnhodet eller oppgraderingsmodul etter trekk F og G. Det vises heller ikke tilførsel av væske fra overflatefartøy til brønn, men uttak av brønnstrøm fra choke-ventilen for behandling og tilbakeføring mot ventiltreets produksjonsutløp. Fagpersonen ville ikke supplert Frokostpresentasjonens manglende trekk gjennom fagets alminnelige kunnskap.
MARS via Treecap er ikke omtalt i Frokostpresentasjonen som Vetco har anført som nyhetshindrende, men derimot i 2010-presentasjonen. Illustrasjonen på U s 732 skjuler imidlertid rørgjennomføringen i ventiltrekappen bak en tekstboks. 2010-presentasjonen kaster ellers intet lys over hvordan MARS via Treecap leder væske ut eller inn gjennom ventiltrekappen eller hvordan ventiltrekappen i så fall bør modifiseres, og mangler derfor Stridspatentets oppgraderte ventiltrekappe med toppventil i trekk D, hele påkoplingssøylen med to søyleventiler og en hurtigutløsbar kopling i trekk E, og påkoplingssøylens kommuniserbare slangeforbindelse til overflatefartøy som styrer brønnhodet eller oppgraderingsmodul etter trekk F og G. Det vises heller ikke tilførsel av væske fra overflatefartøy til produksjonsbrønn som er Stridspatentets formål, men uttak av brønnstrømmen fra ventiltrekappen for behandling og tilbakeføring ved choke-ventilen mot ventiltreets produksjonsutløp. Fagpersonen ville heller ikke supplert 2010-presentasjonens manglende trekk gjennom fagets alminnelige kunnskap.
Vetco har verken anført US 514-patentet, Oceaneering AIT eller Stridspatentets beskrivelse av kjent teknikk som selvstendig nyhetshindrende. For fullstendighetens skyld bemerker tingretten at også US 514-patentet – som MARS via Treecap – nødvendigvis må innebære en modifikasjon av ventiltrekappen, men uten at det vises hva modifikasjonen består i. Derved mangler også US 514-patentet både Stridspatentets oppgraderte ventiltrekappe med toppventil i trekk D, hele påkoplingssøylen med to søyleventiler og en hurtigutløsbar kopling i trekk E, og påkoplingssøylens kommuniserbare slangeforbindelse til overflatefartøy som styrer brønnhodet eller oppgraderingsmodul etter trekk F og G. I tillegg kommer at US 514-patentet ikke retter seg mot Stridspatentets formål som er å
Side:49
tilføre brønnen væske for avleiringsbehandling eller brønndreping, men mot behandling av brønnstrømmen og retur av denne mot ventiltreets produksjonsutløp.
Stridspatentet oppfyller kravet til nyhet.
9.3 Oppfinnelseshøyde
Partene har vært enige om
- at patent også krever oppfinnelseshøyde slik dette kommer til uttrykk i vesentlighetskravet i patentloven § 2 første ledd in fine;
- at dette innebærer at oppfinnelsen ikke må ha vært nærliggende for Fagpersonen, dvs at Fagpersonen ikke ville ha forsøkt å løse oppfinnelsens problem på den i patentkravene angitte måte med en rimelig forventing om å lykkes;
- at teknikkens stand skal tas i betraktning i sin helhet, slik at flere mothold kan kombineres; og
- at denne skjønnsmessige vurdering normalt struktureres gjennom en såkalt «problem-løsnings»-tilnærming i tre trinn bestående av bestemmelse av nærmeste mothold og oppfinnelsens objektive tekniske problem, etterfulgt av en vurdering av om patentets løsning var nærliggende.
9.3.1 Nærmeste mothold
Det nærmeste mothold er det som inneholder den kombinasjon av konstruktive trekk som samlet gir det mest lovende utgangspunkt for oppfinnelsen, med ståsted i oppfinnerens situasjon og hans subjektive problem. Normalt har nærmeste mothold tilsvarende anvendelse eller formål som oppfinnelsen, eller tilhører i det minste det samme eller et nært tilknyttet teknisk område som oppfinnelsen. Dersom flere mothold kan ligge like nært, må de begge vurderes for at oppfinnelseshøyden skal kunne finnes tilstrekkelig[163].
Partene har gitt ulik anvisning på hva som utgjør Stridspatentets nærmeste mothold. SSS anførte at ingen av sakens mothold utgjør noe lovende utgangspunkt for oppfinnelsen. Vetco anførte at MARS Scale Squeeze har flest felles trekk med Oppfinnelsen, men at alle sakens øvrige mothold også utgjør lovende utgangspunkter for Oppfinnelsen.
Med ståsted i oppfinnerens situasjon og hans subjektive problem finner tingretten at ingen av sakens mothold fremstår som spesielt lovende utgangspunkt for oppfinnelsen. Oppfinnerens subjektive problem knytter seg etter tingrettens syn til hvordan man ved gjennomføring av avleiringsbehandlinger eller brønndreping gjennom et vertikalt ventiltre skal håndtere barrieretapet fjerning av ventiltrekappen innebærer på en raskere og billigere måte, samtidig som det doble barrierekrav overholdes.
Side:50
- Oceaneering AIT retter seg ikke mot oppfinnerens subjektive problem, ved at AIT verken modifiserer ventiltrekappen eller håndterer barrieretapet ved fjerning av denne. I stedet fjerner AIT ventiltrekappen og kopler seg rett på ventiltreet i samsvar med kjent teknikk. AIT utgjør derfor ikke noe lovende utgangspunkt for løsning av oppfinnerens subjektive problem. Dette gjelder etter tingrettens syn til tross for at AIT inneholder flere funksjonelle likhetstrekk med oppfinnelsens løsning; ved at AIT både leverer flytende kjemikalier direkte i brønnen, benytter to serieplasserte ventiler mellom ventiltre og overflatefartøy, ivaretar behovet for en hurtigutløsbar og sikker kopling mellom ventiltre og overflatefartøy, og benytter et lettere og billigere overflatefartøy[164]. Til tross for flere funksjonelle likhetstrekk er AIT derfor ikke sakens nærmeste mothold;
- MARS‘ hovedformål er å behandle produksjonsstrømmen på vei fra brønnhodet mot ventiltreets produksjonsutløp, ikke å tilføre væske fra overflatefartøyet til brønn. MARS muliggjør samtidig avleiringsbehandling, men så vidt skjønnes bare av avleiringer i stigerøret fra brønnhodet opp til plattform, og ikke fra brønnhodet og ned i produksjonsrørets tverrsnitt. MARS via Treecap pretenderer å kunne transportere væske gjennom ventiltrekappen, men inneholder intet som belyser hvordan. Det samme gjelder US 514-patentet. Verken MARS eller US 514-patentet fremstår da som et lovende utgangspunkt for å håndtere barrieretapet fjerning av ventiltrekappen medfører ved intervensjon i brønnen;
- Prado og Doyle modifiserer ventiltrekappen for tilkopling av henholdsvis overhalings-BOP og kabelbasert BOP-system, som begge er vesentlig større, tyngre og derfor dyrere utstyr enn Stridspatentet. Prado muliggjør tilførsel av væske til brønnens ringrom. I tillegg kan Prado kople overhalings-BOP eller setteverktøy raskere til ventiltreet, ved at ventiltrekappen, som er utstyrt med rør med ventil i hvert løp, ikke må fjernes før tilkopling.
Doyle modifiserer ventiltrekappen for enklere tilkopling av kabelverktøy, men tilfører ikke brønnen væske, som er en forutsetning for avleiringsbehandlinger eller brønndreping.
I tillegg omfatter både Prado og Doyle horisontale og ikke vertikale ventiltrær. Selv om begge typer ventiltrær utfører samme funksjoner, er utforming og struktur så ulike at fagpersonen ikke intuitivt ville velge å ta utgangspunkt i en horisontal løsning for å løse et vertikalt problem. Særlig gjelder dette når de eksisterende horisontale løsninger heller ikke løser det vertikale ventiltres problem for et horisontalt ventiltre; og
Side:51
- Zinc retter seg mot et vertikalt ventiltre, er tilrettelagt for injeksjon av væske gjennom to ¾ toms ventiler for fjerning av hydrat-dannelser i brønn og rørledninger under ventiltreet på ulike steder («various points»), og fokuserer på reduksjon av driftskostnader gjennom blant annet modifikasjon av utstyr inklusive ventiltrekappen for fremtidige tilkoplinger[165]. Selv om Zinc uttrykkelig lærer at konvensjonell brønnintervensjon krever borerigg, stigerør til plattform og fjerning av ventiltreet, fremstår Zinc som et mer lovende utgangspunkt enn de mothold som er vurdert ovenfor.
I tillegg angir Stridspatentets beskrivelse av kjent teknikk at ventiltrekappen må fjernes før «kill and scale»-verktøy med tilhørende slangeforbindelse koples til ventiltreet og væske pumpes inn. Beskrivelsen omfatter samme formål og oppgave som oppfinnelsen, men gir samtidig uttrykk for en fordom om at ventiltrekappen må fjernes. Tingretten vil i det følgende vurdere både Zinc og Stridspatentets egen beskrivelse som sakens nærmeste mothold.
9.2.2 9.3.2 Oppfinnelsens objektive tekniske problem
Tingretten bygger på at et patents objektive problem ikke nødvendigvis må angis i beskrivelsen, som i høyden inneholder patentets subjektive problem. Et patents objektive problem er oppnåelsen av de objektive tekniske trekk som mangler i det nærmeste mothold; eller sagt på en annen måte: Differansen mellom de objektive tekniske trekk i oppfinnelsen og i det nærmeste mothold. Det objektive tekniske problem må således ikke formuleres slik at det foregriper eller inneholder pekere mot oppfinnelsens løsning[166].
Partene har angitt også Stridspatentets objektive tekniske problem ulikt.
Zinc mangler alle objektive tekniske trekk i oppfinnelsens trekk C-G, dvs både ventiltrekappens oppgraderingsmodul med toppventil i trekk C og D; påkoplingssøylen med to søyleventiler og hurtigutløsbar kopling som er påkoplbar til toppventilen i trekk E; og den kommuniserbare slangeforbindelse mellom påkoplingssøyle og overflatefartøy som muliggjør styring av henholdsvis ventiltre eller oppgraderingsmodul fra fartøyet i trekk EF.
Med utgangspunkt i Zinc blir da oppfinnelsens objektive tekniske problem å tilveiebringe en dobbelt-barriere over kroneventilen som også muliggjør på- og fra-kopling av påkoplingssøylen på ventiltrekappen uten å måtte fjerne denne. Derved kan avleiringsoperasjoner eller brønndreping forberedes eller avbrytes mens brønnen opprettholder produksjon med tilhørende løpende verdiskapning, samtidig som brønnintervensjonen kan gjennomføres fra et lett og derved rimeligere DP 2-fartøy i stedet for et større og dyrere DP 3-fartøy eller plattform. Oppfinnelsen oppnår denne effekt
Side:52
gjennom kombinasjonen av en modifisert ventiltrekappe med en «overflødig» toppventil som muliggjør påkopling av påkoplingssøylen direkte på ventiltrekappen mens produksjon pågår, og en påkoplingssøyle som i seg selv ivaretar dobbelt-barriere og har slangeforbindelse for væsketilførsel og styring fra intervensjonsfartøyet.
Også Stridspatentets beskrivelse av kjent teknikk mangler alle objektive tekniske trekk i oppfinnelsens trekk C-G. Oppfinnelsens objektive tekniske problem med utgangspunkt i beskrivelsen blir – som for Zinc – å tilveiebringe en dobbelt-barriere over ventiltreets kroneventil som muliggjør på- og fra-kopling av et «kill and scale»-verktøy av kjent type på ventiltrekappen uten å måtte fjerne denne.
9.2.3 9.3.3 Var Stridspatentets løsning nærliggende?
Det tredje trinn i problem-løsnings - tilnærmingen er å vurdere om Fagpersonen med utgangspunkt i det nærmeste mothold ville (ikke bare kunne, men også ville) valgt Stridspatentets løsning med en rimelig forventning om å lykkes uten å anvende oppfinneriske evner[167].
Zinc lærer Fagpersonen at ventiltrekappen kan modifiseres for å gjøre chokeventilen lettere tilgjengelig for utskifting eller reparasjon ved hjelp av ROV ved å plassere den på siden av ventiltrekappen beskyttet mot uønsket ytre påvirkning av en «bøtte», og ved å utstyre ventiltrekappen med en mini-kappe som kan koples av og på ventiltrekappen ved hjelp av ROV. Etter tingrettens syn ville imidlertid Fagpersonen ikke uten bruk av oppfinneriske evner ha kombinert Zinc med Oceaneering AIT, som ikke modifiserer ventiltrekappen, men fjerner denne helt med tilhørende barrieretap for plassering av et særskilt setteverktøy i ventiltrekappens sted i samsvar med kjent teknikk. Tingretten peker herunder på at Zinc av mai 1993 lå relativt langt tilbake i tid ved Prioritetsdato i mai 2011, at Zincs løsninger ikke vites å ha blitt videreutviklet i mellomtiden, og at oppfinnelsen derfor ikke kan sies å ha ligget «i luften» med Zinc som nærmeste mothold.
Fagpersonen ville lettere ha kunnet kombinere Zinc med MARS, som foreslår at det går an å modifisere en ventiltrekappe slik at en væskestrøm kan ledes gjennom kappen, men uten å vise hvordan. I tillegg viser MARS at en væskestrøm kan ledes fra ventiltreets produksjonsrom til dets ringrom og tilbake igjen. MARS lærer imidlertid ikke Fagpersonen hvordan ventiltrekappen skal modifiseres for å opprettholde dobbel barriere ved væsketilførsel til brønnen. Det gjør heller ikke Zinc, som sikrer brønnen med én plugg i stedet for med en ventil, og som heller ikke opprettholder dobbel barriere ved alle operasjoner. Verken MARS via Choke eller via Treecap gir Fagpersonen noen peker mot hvordan man opprettholder dobbelt barriere ved påkopling av «kill and scale»-verktøy til ventiltrekappen.
Side:53
Etter tingrettens syn ville ikke Fagpersonen kombinert Zinc og MARS med AITs to seriekoplede ventiler med en rimelig forventning om å lykkes – til det ligger AIT for langt unna Zincs og MARS’ modifiserte ventiltrekapper ved å forutsette fjerning av hele ventiltrekappen med tilhørende barrieretap før tilkopling, og uten å håndtere dette barrieretapet særskilt.
Etter tingrettens syn blir nærliggende-vurderingen forholdsvis sammenfallende, om man erstatter Zinc med Stridspatentets beskrivelse av kjent teknikk som nærmeste mothold. Selv med utgangspunkt i Stridspatentets beskrivelse gir ingen av de fremlagte mothold Fagpersonen noen peker mot hvordan ventiltrekappen bør modifiseres for å opprettholde dobbelt barriere ved tilførsel av væske til brønnen.
Tingretten finner at oppfinnelsens to-delte løsning med å utstyre ventiltrekappen med en ekstra toppventil slik at to barrierer ble oppretthold ved tilkopling av «kill and scale»-verktøyet, og ved å utstyre «kill and scale»-verktøyet med to ventiler i serie slik at dette alene ivaretok det doble barriere-krav etter tilkopling og funksjonstesting til ventiltrekappen, ikke var nærliggende.
Stridspatentet er gyldig.
Side:54
10. Inngrep
10.1 Innledning
Patentloven § 1 første ledd gir innehaveren av et gyldig patent enerett til å utnytte oppfinnelsen i nærings- eller driftsøyemed. Eneretten omfatter blant annet både tilvirking, utbud, omsetning og anvendelse av beskyttet produkt, og anvendelse eller tilbud om anvendelse eller utbud av anvendelse her i riket av en beskyttet fremgangsmåte, jf patentloven § 3 første ledd nr 1 og 2. Eneretten omfatter også tilbud eller leveranse av midler som er vesentlige i oppfinnelsen, og dertil både egnet og bestemt for å utøve oppfinnelsen på nærmere vilkår etter reglene om middelbart patentinngrep i patentloven § 3 annet ledd. Patentvernets rekkevidde bestemmes av patentkravene, og veiledning for forståelsen av disse kan hentes i beskrivelsen, jf patentloven § 39.
Avgjørelsen av om patentvernet er krenket; dvs om det foreligger inngrep i patentet, skjer i to trinn: Først må patentkravene tolkes med mulig støtte i beskrivelse og figurer, jf dommens pkt 7 ovenfor. Dernest må det foretas en skjønnsmessig identitetssammenligning mellom tolkningsresultatet og den påståtte inngrepsgjenstand. Dersom alle tolkningsresultatets konstruktive trekk gjenfinnes i inngrepsgjenstanden, foreligger såkalt direkte inngrep.
I tillegg omfatter patentvernet også utførelsesvarianter som er «likeverdige» med den patenterte oppfinnelse. Hvilken grad av likeverdighet som kreves for at patentinngrep foreligger bestemmes etter en såkalt ekvivalenslære, som antas innholdsmessig sammenfallende både etter norsk internrett og den europeiske patentkonvensjon (EPC) artikkel 69, jf tolkningsprotokollen inntatt i EPCs revisjonsakt av 29 november 2000[168]. Partene har ikke vært uenige om ekvivalenslærens innhold formulert gjennom tre nødvendige og kumulative vilkår[169]. De tre ekvivalens-vilkår er at
- Den angivelige inngrepsgjenstand løser samme problem som Stridspatentet;
- De foretatte modifikasjoner må ha vært nærliggende for Fagpersonen; og
- Den angivelige inngrepsgjenstand må ikke tilhøre den frie teknikk.
Dersom alle de tre vilkår er oppfylt, foreligge ofte patentinngrep. Konstatering av inngrep krever likevel en samlet identitetsvurdering.
I saken her må tingretten både ta stilling til om de påståtte inngrepsgjenstander faktisk griper inn i Stridspatentets patentvern i direkte eller ekvivalent form, og hvilken bruk Vetco mest sannsynlig har gjort av disse.
Side:55
10.2 Anførte inngrepsgjenstander
10.2.1 Vetcos leverte, modifiserte ventiltrekapper
Vitnet Olsen forklarte at Shell en gang før årsskiftet 2015-16 tok initiativ til at Vetco skulle utvikle et avleiringssystem for Draugenfeltet. Olsen var systemingeniør med ansvar for å koordinere Vetcos utviklingsarbeid overfor Shell fra januar-februar 2016.
Vetco gjennomførte presentasjoner for Shell Norge 2 mai, 17 juni og 21 juni 2016 - samlet «Presentasjonene»[170]. Deretter utviklet, produserte og leverte Vetco tre modifiserte ventiltrekapper for Draugen på grunnlag av avtaledokumenter av henholdsvis 31 oktober, 21 november og 15 desember 2016 samt 6 februar 2017 med avtalt leveranse 21 juli 2017[171]. Tingretten legger til grunn at alle tre ventiltrekapper er levert, og at minst én av dem er montert på ventiltre på Draugen-feltet.
Vitnet Windspoll forklarte at en ventiltrekappe ble montert på brønn G 5 i august 2017. Vitnet Olsen forklarte at kappene ble levert høsten 2017, og at Vetco antakelig bisto med personell på stedet ved monteringen - før eller rundt 9 november 2017, jf U s 45. Det er verken avgjørende for tingrettens resultat om Shell /OKEA har montert en eller to av de tre leverte ventiltrekapper, eller når i 2017 dette skjedde.
De leverte ventiltrekapper skal være utformet i samsvar med delvis sladdete konstruksjonstegninger datert 7 juli 2017 og udaterte fotografier[172]. Sammenlignet med Draugens tidligere ventiltrekapper er de leverte ventiltrekapper modifisert blant annet gjennom en rørforbindelse fra produksjonsløpet gjennom ventiltrekappen uten at rørforbindelsen inneholder noen stengbar ventil ovenfor ventiltreets kroneventil. Vetcos modifiserte ventiltrekappe etablerer barriere mot det ytre miljø bare ved hjelp av en minikappe («blindcap»), som kan monteres av og på ved hjelp av ROV.
De leverte ventiltrekapper inneholder ikke alle Stridspatentets trekk, verken i identisk eller ekvivalent form. Ventiltrekappene mangler både toppventilen ved oppgraderingsmodulens øvre parti i trekk D; og påkoplingssøylen med minst to søyleventiler og hurtigutløsbar kopling påkoplbar til toppventilen med slangeforbindelse og styrbarhet etter trekk E, F og G. SSS har ikke anført for tingretten at leveransen av de modifiserte ventiltrekapper skulle innebære middelbart patentinngrep etter § 3 annet ledd.
10.2.2 Vetcos skisser til injeksjonshode («Subsea Safety Module – SSM»)
Vetco har lagt frem fire prinsippskisser av ulik dato som vedrører Vetcos utforming av et avleiringssystem med bunnmodul og injeksjonshode tilpasset de leverte, modifiserte ventiltrekapper:
Side:56
- 2017-tegningen er datert 29 juni 2017 og har filnavn A298356 Rev NC. NC skal bety «No Change», og 2017-tegningen er opplyst å være en førsteutgave som ble lagret og datert etter gjennomført risikovurdering for å dokumentere utviklingsarbeidets status pr angitt dato. Den består av totalt seks delvis sladdete sider, og ble fremlagt i saken 6 desember 2019[173];
- 2018-tegningen er datert 12 november 2018 og har filnavn A298356 Rev NC Dedacted[174]. Den består av side en og to av totalt seks delvis sladdete sider, og ble fremlagt i saken 7 august 2019[175];
- 2019-skissen er datert 3 desember 2019 og har filnavn A298356 Rev A. Den består av seks sider, som alle er merket «Utkast». Av disse er side tre-seks både delvis sladdet og merket «work in progress – not updated to Rev A»[176]. Ved fremleggelsen for tingretten 3 desember 2019 ble det opplyst at 2019-skissen viste «... et system under utvikling potensielt tilgjengelig for kunder i midten av 2020»[177]; og
- 2020-tegningen er datert 9 januar 2020 og har filnavn A298356. Den er fremlagt som figur 30 til professor Sangeslands sakkyndige erklæring av 21 april 2020[178].
I tillegg inneholder også Presentasjonene av 17 og 21 juni 2016 systemtegninger og fremgangsmåtebeskrivelser av interesse for saken[179].
Etter tingrettens syn er både 2017-, 2018- og 2020-tegningene (samlet «2017-løsningen») innholdsmessig sammenfallende på de punkter som har betydning for saken, ved at alle tre viser en delt løsning med
- en atskilt bunnmodul («SSM») plassert på havbunnen ved siden av et tradisjonelt vertikalt ventiltre med blant annet en kroneventil («PSV») og to produksjonsmasterventiler («PMV» og PSSV») i produksjonsløpet. Bunnmodulen inneholder blant annet to seriekoplete ventiler ISV1 og ISV2 og en undersjøisk kontrollmodul («SCM») som kontrolleres elektrisk fra intervensjonsfartøyets kontrollstasjon. Videre har intervensjonsfartøyets pumpestasjon en slangeforbindelse til bunnmodulen bestående av et eller flere slangeløp som alle er utstyrt med hurtigutløsbar kopling («EQD/Weak Link») mot bunnmodulens kontrollmodul – over
Side:57
de to seriekoplete ventiler. Også slangeforbindelsens hurtigutløsbare koplinger er elektrisk styrbare fra intervensjonsfartøyets kontrollstasjon[180]; og
- en trykksterk komposittrør-forbindelse fra bunnmodulen under de to ISV1-2 - ventilene som kan koples til den modifiserte ventiltrekappes øvre parti etter at dennes blindkappe er fjernet[181]. Rørforbindelsen har et injeksjonshode utstyrt med to ventiler i serie angitt som en tilbakeslagsventil og en kuleventil («Check Valve & Ball Valve») ved tilkoplingen til ventiltrekappen.
Videre inneholder ventiltreets øvre parti en annen undersjøisk kontrollmodul («SCM»), som er koplet hydraulisk til to av produksjonsløpets ventiler (både «PMV» og «PSSV»), men ikke til Lower Master Valve («LMV») som kontrolleres av produksjonsenheten alene. De tre tegninger viser alle et ROV-opererbart hydraulisk kontrollpanel på ventiltreet. Kontrollpanelet gir ROV kontrollstasjonen mulighet til å kontrollere PSV-ventilen i produksjonsløpet – dvs kroneventilen i Stridspatentets trekk Bs forstand - ved hjelp av hydrauliske «Hot Stabs», men verken PMV eller PSSV dypere ned i produksjonsløpet[182].
2019-skissen avviker fra de andre tre tegninger på de for saken relevante punkter ved
- at bunnmodulens undersjøiske kontrollmodul («SCM») som var elektrisk styrbar fra intervensjonsfartøyets kontrollstasjon er fjernet. I stedet gir 2019-skissen ROV kontrollstasjonen hydraulisk kontroll med flere av bunnmodulens komponenter, herunder de to seriekoplete ventilene ISV1-2 og slangeforbindelsenes hurtigutløsbare koplinger mot bunnmodulen, som her er benevnt «EQD Connectors»[183];
- at komposittrør-forbindelsen fra bunnmodulen til ventiltrekappen er erstattet med en «Jumper»-forbindelse. Tingretten kan ikke se noen for saken betydningsfull forskjell mellom komposittrør-forbindelsen i 2017-løsningen og «Jumperen» i 2019-skissen, isolert sett; og
- at både tilbakeslagsventil og kuleventil er fjernet fra injeksjonshodet som koples til ventiltrekappen. 2019-skissens injeksjonshode inneholder således ingen egen ventil. Heller ikke Jumperen synes å ha særskilt styrbare ventiler ved noen av sine tilkoplingspunkter, verken mot bunnmodul eller ventiltrekappe. Derimot synes Jumperen å ha ROV-styrt tilkopling ved begge tilkoplingspunkter.
Side:58
Presentasjonenes systemtegninger av 2016 viser til sammenligning en delt løsning med[184]
- en atskilt bunnmodul (benevnt «Injection skid») plassert på havbunnen ved siden av et tradisjonelt vertikalt ventiltre med blant annet en kroneventil («PSV») og to produksjonsmasterventiler («PMV» og PSSV») i produksjonsløpet. Bunnmodulen inneholder blant annet to seriekoplete ventiler ISV1 og ISV2, modulen «Subsea Injection Control Unit – SICU» og to moduler «Subsea Hydraulic Unit – SHU1 og SHU2», som alle kontrolleres elektrisk fra intervensjonsfartøyet gjennom dettes væskeførende slangeforbindelse til bunnmodulen[185]. I tillegg kan vesentlige funksjoner i bunnmodulen også kontrolleres hydraulisk av ROV via nummererte Hot Stabs - HS1-2 og HS 5 mot de hydrauliske enheter SHU1-2, og HS 3 mellom de to seriekoplete ventiler ISV1-2. Alle de fem viste Hot Stabs er utstyrt med to seriekoplete ventiler.
Slangeforbindelsen fra intervensjonsfartøyet er utstyrt med en hurtigutløsbar kopling for både dennes væskeførende og elektriske forbindelse (benevnt «Weak Link & EQD Emergency Quick Disconnect») plassert på slangeforbindelsen et stykke over slangeforbindelsens tilkopling til bunnmodulen, og derved over de to seriekoplete ventiler. Også slangeforbindelsens hurtigutløsbare kopling er elektrisk styrbar fra intervensjonsfartøyet[186]; og
- en kombinert hydraulisk og elektrisk rørforbindelse fra bunnmodulen under de to seriekoplete ISV-ventilene som kan koples til den modifiserte ventiltrekappes øvre parti etter at dennes blindkappe er fjernet. Rørforbindelsen har et injeksjonshode utstyrt med to ventiler i vertikal serie ved tilkoplingen til ventiltrekappen, som er utformet for ROV-betjening. U s 1759 viser i tillegg en illustrasjon av en undervannsbrønn med en antatt ventil IHCV plassert i den modifiserte ventiltrekappe over kroneventilen PSV.
Rørforbindelsen mellom bunnmodul og ventiltre er koplet hydraulisk til tre av produksjonsløpets ventiler (både «PSV», «PMV» og «PSSV»), slik at alle disse tre ventiler er styrbare fra intervensjonsfartøyet. Derimot kontrolleres Lower Master Valve («LMV») bare fra produksjonsenheten.
10.2.3 Vetcos utbudte fremgangsmåte
Vetco har opplyst at selskapet ennå ikke har utformet noen prosedyrer for bruk av Vetcos modifiserte ventiltrekapper og det tilhørende avleiringssystem som fortsatt er under utvikling, men anførte at de fremtidige prosedyrers sannsynlige hovedtrekk fremgår av installasjonssekvensene inntatt i Presentasjonen av 17 juni 2016[187]. Etter tingrettens syn kaster også Presentasjonenes øvrige beskrivelser av fremgangsmåter og forespeilede
Side:59
resultater lys over hvilke fremgangsmåter Vetco forespeilet for Shell for bruk på Draugenfeltet[188].
Tingretten finner sannsynliggjort at Vetco har beskrevet fremgangsmåter som innebærer:
- at Vetcos modulære systemdesign muliggjorde montering og/eller fjerning av systemet både samlet og trinnvis, avhengig av hva blant annet vær og fartøytype krevde[189];
- at bunnmodulen med tilkoplet slangeforbindelse mot ventiltrekappen inkludert injeksjonshode senkes fra intervensjonsfartøyet slik at injeksjonshodet landes først på havbunnen nær ventiltreet. Bunnmodulen landes deretter på havbunnen bortenfor ventiltreet innenfor den tilkoplede slangeforbindelses lengde slik at injeksjonshodet ikke flyttes fra ventiltreet[190];
- at ROV plukker opp enden av slangeforbindelsen med injeksjonshode, kopler injeksjonshodet til den modifiserte ventiltrekappen og fjerner Hot Stab fra denne[191]. Presentasjonene lærer ikke særskilt at ventiltrekappens blindkappe må fjernes før injeksjonshodet koples til ventiltrekappen. Tvert om lærer Presentasjonene at «ROV makes up injection head ROV clamp interface» og «ROV removes control hose hot stab from parking position on head and installs in receptacle on tree cap»[192]. Presentasjonene lærer videre at «Barrier elements are already in situ, and as close to the well entry point a possible», ved siden av en illustrasjon som viser et brønnhode utstyrt med en ventil («IHCV») plassert i ventiltrekappen over kroneventilen[193]. På dette punkt forstår tingretten Presentasjonene slik at de lærer at Vetcos blindkappe kan trekkes med bibehold av dobbel barriere gjennom kroneventilen og IHCV.
2017-løsningen viser på dette punkt til sammenligning ingen ventil i den modifiserte ventiltrekappe over kroneventilen PSV, men to ventiler montert i serie plassert i injeksjonshodet. 2019-skissen mangler på sin side egne ventiler både i ventiltrekappen ovenfor kroneventilen og i injeksjonshodet;
- at slangeforbindelsen mellom intervensjonsfartøyet og bunnmodulen («injection riser») deretter senkes ned mot havbunnen, og koples til bunnmodulen ved hjelp av ROV[194];
Side:60
- at intervensjonsfartøyet overtar kontrollen over ventiltreet før avleiringsoperasjonens oppstart, og opprettholder kontroll over ventiltreet under avleiringsoperasjonen og frem til etter dennes avslutning[195];
- at nødfrakopling ved dårlig vær, «drift-off» for intervensjonsfartøyet, lekkasje med videre i alle tilfeller gjennomføres ved å aktivere den hurtigutløsbare koplingen plassert på fartøysiden av bunnmodulen/ SSM – over de to seriekoplete ventiler ISV1-2. Intervensjonsfartøyet kan kople slangeforbindelsen tilbake til bunnmodulen/SSM når forholdene tilsier det, uten at noe utstyr må hentes opp til overflaten og med fortløpende opprettholdelse av barriere gjennom ISV1-2[196]. Produksjon kan derved gjenopptas under nødfrakopling.
Tingretten deler Vetcos vurdering av at de grå runde skivene synlig på U s 86 av Vetcos modifiserte ventiltrekappe antakelig er balansevekter og ikke sink-anoder, slik SSS’ prosessfullmektig foreslo for professor Sangesland under krysseksaminasjon. Etter tingrettens syn er ventiltrekappenes sink-anoder antakelig utformet på kjent vis og synlige på U s 86 rett under sylinderens innsnevring; og
- at Vetcos avleiringssystem også kan flyttes fra et ventiltre til et annet uten at noe utstyr må bringes opp til overflaten[197].
10.3 Hvilke tegninger griper inn i Stridspatentet – direkte eller ved ekvivalens?
Partene er enige om at Stridspatentets trekk A, B, C, F og G kan gjenfinnes i alle Vetcos fire tegninger og i Presentasjonene. I det følgende skal tingretten vurdere trekk E og D mer utførlig. Vetco har anført at inngrepsspørsmålet avgjøres av om Vetcos toppventil i stridspatentets forstand er installert i oppgraderingsmodulen også når avleiringsoperasjonene ikke pågår og brønnen produserer olje. Etter tingrettens syn er ikke inngrepsspørsmålet fullt så enkelt:
10.3.1 Trekk E
Stridspatentets påkoplingssøyle gjenfinnes i Vetcos bunnmodul/SSM med injeksjonshode og mellomliggende rørforbindelse («Flying Lead» eller «Jumper»). Vetcos bunnmodul omfatter minst to søyleventiler (ISV1+2) både i Presentasjonene, i 2017-løsningen og i 2019-skissen.
Alle utforminger av Vetcos avleiringssystem omfatter også en hurtigutløsbar kopling. Denne er plassert
- på fartøysiden av søyleventilene ved stigerørets tilkopling til bunnmodulen både i 2017-løsningen og i 2019-skissen; og
Side:61
- på fartøysiden av søyleventilene på stigerøret et uspesifisert stykke over dettes tilkopling til bunnmodulen på Presentasjonene.
Stridspatentet angir ikke rekkefølgen mellom de to søyleventilene og den hurtigutløsbare koplingen innenfor oppgraderingsmodulen, utover at det foretrukne utførelseseksemplar illustrert i figur 2-4 viser hurtigkoplingen plassert mellom søyleventilene og toppventilen, jf pkt 7.2 ovenfor[198]. Tingretten finner at Vetcos plassering av hurtigkoplingen på fartøysiden av søyleventilene i 2017-løsningen og i 2019-skissen faller direkte innenfor Stridspatentet.
Tingretten finner videre at Presentasjonenes plassering av hurtigkopling på stigerøret utenfor bunnmodulen ekvivalent med Stridspatentets plassering innenfor bunnmodulen. Plasseringen er uten betydning for løsningen av Stridspatentets problem, den er ikke søkt begrunnet i noen teknisk effekt fra Vetcos side, og mellom hurtigkoplingen og bunnmodulen viser Presentasjonene bare fagmessig væskelukkende ventiler som aktiveres ved hurtigfrakopling. Stridspatentets oppfinneriske poeng ligger verken i hurtigkoplingens eller andre enkeltelementers plassering eller utforming, men i måten det doble barrierekrav kan opprettholdes ved tilførsel av væske i brønnen ved hjelp av enkelt-elementenes innbyrdes plassering[199].
Det krever ingen opprinneriske evner fra en Fagperson å plassere en slangeforbindelse som et stigerør mellom bunnmodulen og den hurtigutløsbare kopling som alternativ til å plassere den innenfor bunnmodulen, på samme måte som Vetco har forbundet hele sin påkoplingssøyle med ventiltrekappen med en rør- eller slangeforbindelse (kalt «Flying Lead» eller «Jumper»).
Trekk E krever endelig at påkoplingssøylen skal være påkoplbar til toppventilen. Tingretten finner det mest hensiktsmessig å drøfte dette del-trekk i sammenheng med trekk D umiddelbart nedenfor.
10.3.2 Trekk D
Både Vetcos leverte ventiltrekapper, Presentasjonene, 2017-løsningen og 2019-skissen inneholder/beskriver en modifisert ventiltrekappe som omfatter et mellomrør i Stridspatentets forstand. Som nevnt i pkt 7.2 ovenfor vil også en blokkboring være et mellomrør i Stridspatentets forstand.
Stridspatentets krever endelig at ventiltrekappen skal være koplet til en toppventil ved oppgraderingsmodulens øvre parti, samtidig som påkoplingssøylen også skal være påkoplbar til toppventilen. Dette trekk gjenfinnes direkte i Presentasjonene av 17 og 21
Side:62
juni 2016 som de to ROV-opererte vertikalt plasserte ventilene og som ventil IHCV[200]. Presentasjonene griper derved direkte inn i Stridspatentet.
Derimot viser verken 2017-løsningen eller 2019-skissen noen egen toppventil koplet til ventiltrekappens mellomrør ved oppgraderingsmodulens øvre parti som er egnet for tilkopling av påkoplingssøylen.
2017-løsningen viser et injeksjonshode utstyrt med to ventiler i serie – en tilbakeslagsventil og en kuleventil[201]. Spørsmålet i det følgende blir da, om Vetcos injeksjonshodet med ventiler er ekvivalent med Stridspatentets toppventil i oppgraderingsmodulen. I saken her får ekvivalens-vurderingen både en saklig og en tidsmessig dimensjon. I tillegg er Stridspatentet et kombinasjonspatent som løser mer enn ett problem:
Tingretten finner at injeksjonshodets to ventiler i serie ikke fungerer som en toppventil i Stridspatentets forstand, verken før eller under injeksjonshodets tilkopling, eller under eller etter injeksjonshodets frakopling.
Derimot fungerer de som toppventil etter injeksjonshodets tilkopling mens Stridspatentets formål om å tilføre brønnen væske utøves. Dette gjelder både i tidsperioden selve avleiringsoperasjonen gjennomføres; i eventuelle avbrudds-perioder der den hurtigutløsbare koplingen er utløst; og ellers så lenge toppventilen forblir tilkoplet ventiltrekappen. Også Vetcos 2017-løsning ivaretar derved det doble barrierekrav ved avbrudd, slik at brønnen kan gjenoppta produksjon frem til intervensjonsfartøyet igjen kopler stigerøret til bunnmodulen for å fortsette avleiringsoperasjonen.
I tidsmessig henseende krever Stridspatentet verken at toppventilen må være montert fra før av, eller at toppventilen må forbli montert permanent etter intervensjonsoperasjonens avslutning. Patentkravene omfatter således både
- oppgraderingsmoduler montert originalt samtidig som ventiltreet;
- oppgraderingsmoduler montert på ventiltreet forut for den aktuelle intervensjonsoperasjon; og
- oppgraderingsmoduler som monteres ved den aktuelle intervensjonsoperasjons iverksettelse.
I pkt 7.2 ovenfor fant tingretten at oppgraderings-moduler med toppventil som fjernes etter den enkelte intervensjonsoperasjons avslutning faller utenfor Stridspatentets patentkrav. Dette innebærer imidlertid ikke uten videre, at slike oppgraderingsmoduler også faller utenfor Stridspatentets patentvern for likeverdige eller ekvivalente utførelsesvarianter. I
Side:63
tillegg er det et særskilt spørsmål i saken om 2017-løsningens «toppventil» fjernes etter avsluttet intervensjon, jf nedenfor.
Stridspatentets formål er etter trekk A begrenset til tilførsel av væske til undervannsbrønn for avleiringsbehandling og brønndreping. Hele 2017-løsningens formål faller sentralt innenfor dette. Ekvivalens kan følgelig ikke utelukkes på formålsgrunnlag alene.
Ved vurderingen av om den anførte inngrepsgjenstand løser samme problem som Stridspatentet bygger tingretten på at det rettslig ikke kreves fullstendig overlapp mellom hvilke problemer de to løsninger løser, så lenge løsningenes tekniske virkninger er vesentlig de samme[202].
Stridspatentet karakteriserer selv sitt problem med å opprettholde det doble barrierekrav ved fjerning av ventiltrekappen før «kill and scale»-verktøyet koples til ventiltreet som «betydelig»[203]. Samtidig løser heller ikke Stridspatentet dette problem ved første gangs tilkopling på eksisterende ventiltre. Men problemet er løst ved andregangs og etterfølgende tilkoplinger gjennom toppventilen, såfremt oppgraderingsmodulen blir etterlatt på ventiltreet etter forrige brønnintervensjons avslutning. Samtidig beskriver Stridspatentet etterlatelse av oppgraderingsmodulen bare som et foretrukket, ikke som et obligatorisk, alternativ[204]. Etterfølgende fjerning av oppgraderingsmodulen bringer en således ikke uten videre utenfor Stridspatentets patentvern.
I tillegg kommer at dette ikke utgjør Stridspatentets eneste løste problem, jf gjennomgangen av oppfinnerens subjektive og Stridspatentets objektive problem ovenfor[205]. Stridspatentet løser også problemet med å opprettholde det doble barrierekrav under brønnintervensjonens gjennomføring, inklusive eventuelle frakoplingsperioder[206]. Ved ekvivalensvurderingen må derfor de to problemers viktighet og vesentlighet holdes opp mot hverandre.
Sammenlignet med kjent teknikk finner tingretten at Stridspatentet øker viktigheten av problemet knyttet til hurtigutløst frakopling. Dels skyldes økningen at Stridspatentet kan utøves med lettere og derfor både rimeligere og mer tilgjengelige intervensjonsfartøy, hvilket øker hurtigfrakoplingers hyppighet og varighet. Til tross for dette muliggjør Stridspatentet også planlegging og oppstart av avleiringsbehandlinger i tidsvinduer med dårligere værvarsel enn tidligere, fordi Stridspatentet muliggjør gjenopptakelse av produksjon under hurtigfrakopling. Avleiringssesongen blir derved forlenget.
Side:64
Ved sammenligning av disse to problemers størrelse og betydning finner tingretten veiledning i SSS’ presentasjon sendt Vetco 15 desember 2015[207]. Her anslår SSS den samlede besparelse ved bruk av Stridspatentet på avleiring av én brønn til 54% sammenlignet med kjent teknikk, eller en halvering av samlet gjennomføringstid fra ca 5 til ca 2 ½ dag. Samtidig anslås tidsbruken knyttet til selve installasjonen redusert fra 17 til 4 timer, eller en besparelse på ca 13 timer. Det utgjør knappe 20 % av Stridspatentets samlede påståtte tidsbesparelse. Etter dette fremstår ikke opprettholdelse av dobbel barriere under gjennomføringen av avleiringsoperasjonen som et problem av helt underordnet eller perifer karakter. Tvert om synes dette barriere-problemet vel så vesentlig som å opprettholde barriere ved tilkopling før behandlingens begynnelse.
Ved vurderingen av om Stridspatent og inngrepsgjenstand løser vesentlig samme problem, finner tingretten det også intuitivt nærliggende å legge større vekt på om det utelatte element kan gjenfinnes i den tid oppfinnelsen utøves, enn i den tid den ikke utøves. Dette gjelder selv om selve utøvelsesperioden er vesentlig kortere enn den etterfølgende produksjonsperiode. Det er opplyst at avleiringsbehandlingers hyppighet kan variere med blant annet reservoarets beskaffenhet, men at ønsket hyppighet for Draugen er ca hvert annet år. Til sammenligning angir 2010-presentasjonen av MARS at ønsket hyppighet for Bittern-feltet var ca hver sjette måned[208].
Endelig peker tingretten på, at det ikke er anført at Vetcos avleiringsløsning løser noe annet problem, som ikke også Stridspatentet løser. Tvert om er det opplyst at Vetco som sådan har vært godt kjent med Stridspatentets eksistens og innhold siden 2012[209]; og at også personene i Vetcos utviklingsgruppe var vel kjent med Stridspatentets eksistens og innhold i sitt arbeid med 2017-løsningen.
Samlet har tingretten kommet til at Vetcos avleiringsløsning løser Stridspatentets problem i en utstrekning som både teknisk, tidsmessig og praktisk må anses betydningsfull. Kriteriet om at Vetcos prosjekterte avleiringsløsning løser samme problem som Stridspatentet er da oppfylt, isolert sett.
Ekvivalens-lærens annet vilkår er at den påståtte inngrepsgrenstand må være en «nærliggende modifikasjon» av Stridspatentet. Vilkåret er begrunnet i balansen mellom oppfinners tidsbegrensede enerett i å høste fruktene av egen oppfinnelse på den ene side, og samfunnets interesse i at andre kan bygge videre på oppfinnerens tilgjengeliggjorte tekniske kunnskap allerede fra patentsøknadens offentliggjøring på den annen side. Det er således både lov og ønskelig å «invent around» patenterte oppfinnelser. I Stenviks lærebok heter det om dette blant annet[210]:
Side:65
«Ideelt sett bør ekvivalensbeskyttelsen virke slik at den avholder konkurrentene fra unyttige omgåelsesforsøk, samtidig som den stimulerer dem til å utnytte den tekniske kunnskapen patentet formidler, som grunnlag for nye og nyttige oppfinnelser. Dette tilsier at ekvivalensbeskyttelsen normalt bør dekke nærliggende modifikasjoner, men heller ikke mer. Konkurrentene avholdes fra å forsøke seg på alskens ubetydelige påhitt for å omgå patentet, samtidig som reelle nyvinninger går klar av patentet og kan utnyttes uten patenthaverens tillatelse.» (Uthevet i boken)
Vetco har anført at Vetcos løsning ikke er noen nærliggende modifikasjon, siden det manglende element toppventilen påstås vesentlig for Stridspatentet. Dette fører ikke frem for tingretten:
Stridspatentet er en kombinasjonsoppfinnelse, hvis oppfinneriske bidrag ligger i sammensetningen og anvendelsen av kjente enkeltkomponenter som løser flere problemer på en forbedret måte; ikke i utviklingen av noen ny enkeltkomponent. Som nevnt i pkt 9.3.3 ovenfor, karakteriseres Stridspatentet oppfinneriske bidrag av kombinasjonen av å utstyre ventiltrekappen med en ekstra toppventil for å opprettholde det doble barrierekrav ved tilkopling, og å samtidig utstyre «kill and scale»-verktøyet med to ventiler i serie slik at dette alene opprettholder det doble barrierekrav under brønnintervensjonens gjennomføring inklusive eventuelle nødfrakoplinger.
Ved patentrettslige analyser kan det skilles mellom tillegg, konkretiseringer, endringer og utelatelser, og om disse knytter seg til et karakteristisk/sentralt/vesentlig trekk ved Stridspatentet eller ei. Særspørsmålene der den påståtte inngrepsgjenstand selv er patentbeskyttet oppstår ikke her, siden Vetco ikke har søkt noen av sine prosjekterte løsninger patentbeskyttet.
2017-løsning legger verken til eller konkretiserer, men utelater tilsynelatende toppventilen fra Stridspatentets oppgraderingsmodul. Utelatelsens tekniske effekt begrenses samtidig langt på vei gjennom injeksjonshodets ventiler plassert på den andre siden av tilkoplingsgrensesnittet mellom Stridspatentets oppgraderingsmodul og påkoplingssøyle. Vetcos prosjekterte løsning oppnår derved toppventilens fulle tekniske effekt gjennom hele gjennomføringen av selve avleiringsbehandlingen, inkludert eventuelle nødfrakoplingsperioder.
Vetco har anført at 2017-løsningen ikke kan oppnå toppventilens funksjon også ved tilkopling til den modifiserte ventiltrekappe, fordi Vetcos injeksjonshode med ventiler skal være uegnet for gjensetting til neste avleiringsbehandling. Avgjørende for inngrepsspørsmålet er imidlertid bare hvorvidt 2017-løsning inneholder alle Stridspatentets tekniske trekk i identisk eller ekvivalent form. Det er intet vilkår for ekvivalens at faktisk gjennomføring av inngrep også skal være rasjonelt, lønnsomt eller planlagt, ei heller at en slik tanke skal være tenkt eller utbudt fra Vetcos side. Eventuell tvilsrisiko knyttet til at
Side:66
materialvalg og/eller utførelse ved den fortsatt uferdige 2017-løsningen påstås å være til hinder for inngrep, må på dette stadium påhvile Vetco.
Videre er det uomtvistet at Vetcos bunnmodul med injeksjonshode kan og vil bli etterlatt tilkoplet ventiltrekappen – ved hurtigfrakopling. Spørsmålet om injeksjonshodets etterlatelse er således ikke et enten-eller – spørsmål, men et spørsmål om etterlatelsens varighet.
Verken utvelgelsen av materiale, overflatebehandling eller katodisk beskyttelse tilstrekkelig for permanent gjensettelse av Vetcos injeksjonshode, eller flyttingen av toppventilen fra oppgraderingsmodul-siden til påkoplingssøyle-siden av grensesnittet mellom disse, nødvendiggjør bruk av oppfinneriske evner for en Fagpersonen. De leverte, modifiserte ventiltrekapper synes dertil utstyrt med anoder som vil gi katodisk beskyttelse også av tilkoplet utstyr, jf U s 86. Vetco har samlet sett ikke gjort det mest sannsynlig at 2017-tegningens injeksjonshode, og/eller dennes hele bunnmodul med injeksjonshode, ikke kan gjensettes tilkoplet Vetcos modifiserte ventiltrekapper til neste avleiringsbehandling.
Tingretten finner at Vetcos 2017-løsning også oppfyller vilkåret om nærliggende modifikasjoner for en Fagperson, isolert sett.
Det tredje ekvivalens-vilkår om fri teknikk er begrunnet i at en patentsøker ikke gjennom ekvivalens-læren skal kunne monopolisere utførelseseksempler som tilhørte fri teknikk på Prioritetsdagen[211].
Vetco har anført at 2017-løsningens ventiltrekappe med minikappe var kjent fra Zinc, og injeksjonsverktøyet med to ventiler i serie var kjent fra både Oceaneering AIT og fra MARS. Etter tingrettens syn kjennetegnes imidlertid både Stridspatentet og 2017-løsningen ikke av de enkelte elementers utforming, men av disses kombinasjon og sammensetning for å oppnå en teknisk effekt som løser barriereproblemet både ved tilkopling og ved gjennomføringen av avleiringsoperasjonen. Etter tingrettens syn ville heller ikke 2017-løsningen ha tilhørt fri teknikk pr Prioritetsdagen i mai 2011.
Til slutt må retten foreta en sammenfattende identitetsvurdering av om 2017-løsningens modifikasjoner er å anse som «uvesentlige» eller ei. Tingretten har blant annet sett hen til
Side:67
- at toppventilen er sentral i Stridspatentets løsning av det problem beskrivelsen konkretiserer særskilt, og dertil karakteriserer som «betydelig». Samtidig fremstår det ikke intuitivt å legge avgjørende vekt på om Vetcos modifikasjon er til stede når oppfinnelsen ikke utøves. Tingretten finner det mer vesentlig om toppventilen eller ekvivalent utførelse er til stede under avleiringsoperasjonens gjennomføring;
- at det er lov å «invent around». Men adgangens underliggende begrunnelse er knyttet til samfunnets interesse av videre teknologi-utvikling, ikke til omgåelse av oppfinnerens tidsbegrensede enerett til å høste egen oppfinnelse økonomisk. Sakens kronologi viser at:
- Vetco var vel kjent med Stridspatentets løsning da man i juni 2016 forespeilte en «holistisk» løsning for å redusere usikkerhet og grensesnitt for Shell, driftsklar på feltet sommeren 2017[212]. Presentasjonene griper direkte inn i Stridspatentet;
- Vetco-systemets modifiserte ventiltrekapper ble bestilt i februar 2017, og levert/montert høsten 2017 på et felt hvor avleiringsoperasjoner ønskes gjennomført hvert annet år; men
- Vetcos samlede avleiringsløsning er likevel uferdig og fortsatt under utvikling pr sommeren 2020.
- at Vetcos etterfølgende utviklingsarbeid fremstår mindre rettet mot å utvikle ny teknikk, men heller mot å fjerne så lite som mulig fra den utbudte løsning og samtidig komme klar av Stridspatentets ekvivalensbeskyttelse. I Stenviks lærebok heter det blant annet[213]:
«Der oppfinnelsen løser flere problemer, må utgangspunktet være at det ikke kan kreves at inngrepsgjenstanden løser samtlige problemer, for i så fall ville oppfinnelser som løser flere problemer få et snevrere beskyttelsesomfang enn dem som løser færre problemer. Tredjepart ville i så fall kunne omgå patentet ved å gi avkall på én av de virkninger oppfinnelsen omfatter, og patenthaveren ville ikke få den beskyttelsen han har et rimelig krav på. Utgangspunktet bør derfor trolig være at det er tilstrekkelig om inngrepsgjenstanden løser ett eller noen av de samme problemene som oppfinnelsen. Unntak bør kanskje gjøres der den påståtte inngrepsgjenstanden bare løser et problem av helt underordnet eller perifer karakter, eller ikke løser et problem som er helt sentralt og dominerende. Patentvernet er imidlertid ikke begrenset til de mest fordelaktige utførelsesformene, de som løser samtlige problemer.» (uthevet her)
Tingretten har kommet til at saken her nettopp illustrerer lærebokens typetilfelle, og finner at 2017-løsningens modifikasjoner av Stridspatentet fremstår som uvesentlige. Også 2017-løsningen griper inn i Stridspatentet.
Side:68
I 2019-skissen er injeksjonshodet vist uten noen ventiler mellom den modifiserte ventiltrekappe og Bunnmodulens to serieplasserte ventiler ISV1+2[214]. For øvrig fremstår 2019-skissens innhold etter hovedforhandlingen som uvanlig ufullstendig:
- Dels er 2019-skissen beskrevet som uferdig og under utvikling. Halvparten av skissens tegninger er dertil merket «work in progress – not updated to Rev A»;
- Dels er en rekke elementbokser på de uferdige tegningene sladdet. Sladden skjuler både den enkelte boks’ påtenkte funksjon og på hvilken teknisk måte funksjonen tenkes utført;
- Tegning nr 3 av 6 synes identisk mellom 2017-løsningen og 2019-skissen[215]. Begge inneholder en elementboks «Prevent Back-flow» plassert mellom den modifiserte ventiltrekappe og bunnmodulen. Det vises imidlertid ikke på hvilken teknisk måte tilbakestrøm av væske mellom ventiltrekappe og bunnmodul hindres etter 2019-skissen, utover at alle tidligere mellomliggende ventiler angivelig er fjernet. Valg av løsning her vil kunne ha særlig betydning for en eventuell ekvivalens-vurdering opp mot Stridspatentet; og
- Tegning 3 av 6 viser i tillegg til de sladdete elementbokser også flere elementbokser i både bunnmodulen og ventiltrekappen som omhandler håndtering av «WBE». I henhold til NORSOK Standard antar tingretten at WBE betyr «Well Barrier Element». Det er helt uklart for retten på hvilken teknisk måte brønnbarriere er tenkt opprettholdt i alle disse elementbokser. Også den eller de valgte løsning(er) for opprettholdelse av barriere vil kunne ha stor betydning for en eventuell ekvivalens-vurdering opp mot Stridspatentet.
Den øvrige bevisførsel belyste ikke 2019-skissens tekniske innhold mer utførlig.
Tingretten finner at 2019-skissen ikke griper direkte inn i Stridspatentet. Tingretten har samtidig kommet til, at 2019-skissens innhold er alt for uavklart, usikkert og ufullstendig til at domstolene kan foreta den skjønnsmessige helhets-sammenligning av teknisk identitet en ekvivalensvurdering mellom skissen og Stridspatentet nødvendiggjør.
Tingretten kan derfor ikke ta stilling til om også 2019-skissen griper inn i Stridspatentet eller ei.
10.4 Inngrepsgjenstandenes sannsynliggjorte bruk – hva er utbudt?
Vetco har erkjent å ha utbudt både Presentasjonene og 2017-løsningen til Shell. Tingretten finner det etter omstendighetene åpenbart at SSS ikke har samtykket til Shells anvendelse av Stridspatentets fremgangsmåte, jf patentloven § 3 første ledd nr 2 siste alternativ. Foranlediget at Vetcos anførsel bemerkes at det ikke er noe vilkår at muligheten for å gjensette injeksjonshode med eller uten bunnmodul må være særskilt påtenkt eller utbudt
Side:69
fra Vetcos side. Det er både avgjørende og tilstrekkelig at Vetco har utbudt for fremstilling og salg et system som samlet griper inn i Stridspatentet.
Gjennom de modifiserte ventiltrekapper har Vetco dertil tilvirket, levert og montert en nødvendig, men utilstrekkelig, del av den utbudte inngrepsgjenstand. Etter hovedforhandlingen, hvor ingen fra Shell forklarte seg, finner tingretten både klar sannsynlighetsovervekt for
- at Shell bestilte de modifiserte ventiltrekapper som et element i et samlet og «holistisk» avleiringssystem som - da ventiltrekappene ble bestilt 6 februar 2017 – så vidt tingretten kjenner til bare fremgikk av de patentinngripende Presentasjonene alene. 2017-løsningen på U s 2360, som også er patentinngripende, er datert først 29 juni 2017. Det har en sterk formodning mot seg at Shell betalte 9,8 millioner kr i tillegg til forutgående engineeringskostnader, for å få levert og montert inntil tre ventiltrekapper som isolert sett ikke kunne utføre noe annet, noe billigere eller noe bedre enn de allerede monterte ventiltrekapper kunne. OKEAs utsatte ibruktakelse av de leverte ventiltrekapper i påvente av saken her trekker i samme retning. Det samme gjør vitnet Olsens forklaring om at Vetcos utvikling av et nytt system for avleiring på Draugen skjedde på Shells initiativ. Som nevnt innledningsvis bærer Vetco på Shells forlangende risikoen for patentinngrep ved leveransen av ventiltrekappene[216]; og
- at Shell som operatør på et produserende oljefelt ikke monterer nye komponenter som er ment å inngå i et mer omfattende avleiringssystem for periodisk bruk, uten at også avleiringssystemet som sådant allerede er sikkerhetsvurdert og godkjent av Shell.
Tingretten finner samtidig, at leveransen av ventiltrekappene ikke rammes av noen av de øvrige kategorier inngrepshandlinger etter patentlovens § 3. Disse kategorier er tilvirking, anvendelse, å bringe i omsetning, innførsel eller besittelse av noen inngrepsgjenstand, eller anvendelse eller tilbud om å anvende noen inngripende fremgangsmåte. Særlig nevnes at en ren kontraktsinngåelse faller utenfor lovens inngrepshandlinger[217].
Vetco har begått inngrep i Stridspatentets krav 6 og krav 1 gjennom utbud av Presentasjonene og 2017-løsningen til Shell for bruk i Norge.
Side:70
11. Forbud
Patentloven § 56 a lyder:
«Den som har gjort inngrep i et patent, eller medvirket til det, kan ved dom forbys å gjenta handlingen. Den som har gjort vesentlige forberedelsestiltak, med sikte på å utføre en handling som vil utgjøre inngrep, eller på annen måte har opptrådt slik at det er særlig grunn til å frykte at vedkommende vil gjøre inngrep, kan ved dom forbys å gjennomføre handlingen.»
Vetco har begått inngrep i både anordnings- og fremgangsmåtepatentet gjennom utbud av Presentasjonene og 2017-løsningen, og SSS’ forbudspåstand tas til følge for disse løsningers del.
Side:71
12. Vederlag/erstatning
Det følger av patentloven § 58 at SSS har rett til erstatning og/eller vederlag for forsettlig eller uaktsomt patentinngrep. Bestemmelsen, som ble endret i 2013 for å styrke rettighetshavers stilling gjennom implementeringen av direktiv 2004/48/EF, angir totalt fire alternative utmålingsgrunnlag:
«a) vederlag svarende til en rimelig lisensavgift for utnyttelsen, samt erstatning for skade som følge av inngrepet som ikke ville oppstått ved lisensiering,
b) erstatning for skade som følge av inngrepet, eller
c) vederlag svarende til vinningen som er oppnådd ved inngrepet.»
Dersom det er handlet forsettlig eller grovt uaktsomt, og rettighetshaver krever det, skal inngriperen i henhold til annet ledd i stedet betale vederlag svarende til det dobbelte av en rimelig lisensavgift. Vederlaget/erstatningen skal fastsettes etter det av grunnlagene som er gunstigst for rettighetshaver, anvendt på omfanget og innholdet i det foretatte patentinngrep.
I saken her består det sannsynliggjorte inngrep i gjentatt utbud av et avleiringssystem for tre ventiltrær på Draugen-feltet, hvori inngår tre modifiserte ventiltrekapper som er utviklet og levert. Andre inngrepshandlinger i Norge er ikke sannsynliggjort. SSS har krevd vederlag eller erstatning etter alle de fire alternative grunnlag.
«Rimelig lisensavgift» etter § 58 første ledd bokstav a avgjøres etter lovforarbeidene ut fra vanlig bransjestandard eller praksis på det aktuelle området. I mangel av bransjestandard eller områdepraksis kan veiledning finnes ved å se hen til «tilknyttede eller sammenlignbare områder», eller i mangel av også slike områder en «skjønnsmessig vurdering av hva som ut fra patentets verdi utgjør en rimelig lisensavgift for utnyttelsen» og utnyttelsens omfang[218]. Derimot skal det ses bort fra blant annet inngripers skyldgrad, mottatte vederlag og fortjeneste, og også fra forhold som kan kreves kompensert etter bestemmelsens øvrige alternativer. Et pønalt prevensjons-tillegg faller således utenfor lisensavgifts-alternativet.
Det er ikke sannsynliggjort noe gjengs lisensavgiftsnivå verken for generell brønnhodeteknologi; for avleiringssystemer i sin alminnelighet; eller for Stridspatentet som sådant. SSS har verken solgt eller lisensiert noe produkt som utnytter Stridspatentet, og det foreligger ingen opplysninger om Stridspatentets verdsettelse i transaksjoner mellom uavhengige parter på armlengdes avstand – som eksempelvis ved emisjon mot nye og uforbundne aksjonærer. Lovforarbeidenes henvisning til «patentets verdi» gir i slike tilfeller liten konkret veiledning, fordi et patents verdi normalt vil domineres av avkastnings-beregninger. Fastsettelsen av et sannsynlig lisensavgiftsnivå må derfor bli skjønnsmessig, og bygget på ulike hjelpebetraktninger.
Side:72
Et utgangspunkt kan søkes i at SSS ga Shell tilbud på levering av et avleiringsverktøy i henhold til Stridspatentet pålydende 5 millioner kr pr ventiltre for Draugen; eller 15 millioner kr for tre ventiltrær. SSS’ beregnede fortjeneste ved tilbudet utgjorde ca 3 x 3 = 9 millioner kr, uten at noen særskilt søsterskips-effekt ved tilvirkning eller montering er anført. Ved en eventuell lisensiering for at en annen utfører skulle kunne foreta en tilsvarende leveranse antar tingretten at utførers lisensavgift neppe ville oversteget 25-33 % av den beregnede totalfortjeneste; dvs ca 2,25 – 3 millioner kr. Tingretten finner støtte for sin antakelse i opplysningen om at Vetcos gjennomgående dekningsbidrag ved salg av sine samlede varer og tjenester varierer mellom 5 og 30 %, avhengig av markedsforholdene.
Et annet utgangspunkt kan søkes i at SSS overfor Vetco i juni 2014 anslo en operatørs besparelse ved å implementere Stridspatentet til tre-fire millioner kr pr ventiltre pr avleiringsoperasjon[219]. Her antar tingretten at total-besparelsen både vil måtte forventes fordelt etter markedsforholdene; først mellom operatør og leverandør, og deretter også mellom leverandør og rettighetshaver.
Stridspatentet gir ikke SSS enerett på å gjennomføre avleiringsbehandlinger. Tvert om finner tingretten det mest sannsynlig at operatører flest under ellers like vilkår foretrekker å kjøpe varer og utstyr fra større systemleverandører fremfor innehavere av enkeltpatent, jf også Borsheims epost til vitnet Strand av 6 juni 2014[220]. Både hensynet til å sikre entydig plassering av ansvaret for systemintegrasjon og –funksjon, og tilstrekkelig økonomisk dekningsevne kan tilsi en slik innkjøpsstrategi. Det ligger utenfor lisensavgifts-alternativet å nøytralisere fordelingsvirkningen av det aktuelle markeds innkjøpsstrategi.
Tingretten finner endelig intet grunnlag for å innkalkulere en ballong-betaling i forkant ved beregning av lisensavgiftens sannsynlige størrelse; verken i bransjepraksis eller i praksis fra meklingsnemnda for arbeidstakeroppfinnelser som anført[221]. Ballong-betalinger er lite kjent ved industri-lisensiering, allerminst ved en enkeltstående leveranse omfattende tre enheter til én kunde slik som her.
Tingretten har på samlet og skjønnsmessig grunnlag funnet å burde ta utgangspunkt i at rimelig lisensavgift for utnyttelsen her utgjør tre millioner kr.
Etter tingrettens syn er det ikke sannsynliggjort at SSS er påført økonomisk tap gjennom Vetcos inngrep som ikke ville ha oppstått ved lisensiering:
- Det er ikke anført at SSS er påført særskilte inngreps-utlegg utover sakskostnadene, jf pkt 13 nedenfor;
- Det er ikke anført salg av mindreverdige produkter fra Vetcos side;
Side:73
- Det er ikke sannsynliggjort at Stridspatentets slagkraft er svekket gjennom Vetcos inngrep. Etter tingrettens syn tilsier Shell/OKEAs unnlatelse av å ta i bruk de leverte modifiserte ventiltrekapper heller det motsatte. Det er heller ikke sannsynliggjort at Vetcos inngrep har avholdt mulige kunder fra å kontrahere med SSS. Det er i det hele ikke sannsynliggjort at SSS har forsøkt å selge Stridspatentets løsning til noen andre kunder som har foretrukket Vetcos løsning, andre enn Shell; og
- Det er heller ikke sannsynliggjort noe konkret økonomisk tap knyttet til mangelfull mulighet for å utnytte Stridspatentets vernetid, som utløper først i mai 2031.
Tingretten finner ikke at SSS er påført noe erstatningsmessig tap som følge av inngrepet som overstiger rimelig lisensavgift, jf § 58 første ledd bokstav b.
Tingretten bygger på at Vetcos dekningsbidrag ved salg av varer og tjenester i sin alminnelighet utgjør mellom fem og til 30 %, og at Vetco for de leverte modifiserte ventiltrekapper til Shell med kontraktssum 9,8 millioner kr og ca en million kr for forutgående engineering skal ha oppnådd et dekningsbidrag på 27 %; dvs samlet ca 2 916 000 kr. Noen ytterligere netto vinning etter § 58 første ledd bokstav c finnes ikke sannsynliggjort. Det er således verken sannsynliggjort
- at Vetco har fått tilgang til kunnskap utover hva som følger av Stridspatentets eget innhold;
- at Vetco har oppnådd noe tidsmessig forsprang gjennom tilgang til Stridspatentet før
allmenheten. På dette punkt atskiller saken seg fra eksempelvis NeoDrill-saken[222]; eller
- at leveranse av ventiltrekappene i seg selv vil gi Vetco en fortrinnsrett til å også få oppdragene for å gjennomføre fremtidige avleiringsbehandlinger, eller gi Vetco økt lønnsomhet ved gjennomføringen av disse. Etter det opplyste utfører heller ikke Vetco pr i dag avleiringsbehandlinger selv.
Patentlovens begrep «forsettlig eller grovt uaktsomt» i § 58 annet ledd har samme innhold som i rettssystemet ellers[223]. Forsett omfatter da de tilfeller der inngriper på forhånd regner det som sikkert eller i alle fall mest sannsynlig, at skaden vil inntre som følge av handlingen, og som gjennomfører den likevel. Som grovt uaktsomt anses gjerne den sterkt klanderverdige adferd som skiller seg markert fra vanlig forsvarlig adferd.
Tingretten har kommet til at Presentasjonene griper direkte inn Stridspatentet, mens 2017-løsningen griper inn ved ekvivalens, jf 10.3 ovenfor. For 2017-løsningens vedkommende er spørsmålet om Vetcos modifikasjoner av Stridspatentet fremstår som uvesentlige eller ei. Tingretten må bygge på at alle faktiske elementer som inngår i tingrettens inngrepsvurdering var kjent og tilgjengelig også for Vetco, både da Presentasjonene og 2017-løsningen ble utbudt til Shell.
Side:74
Selve utbudshandlingen er etter sin art forsettlig. Det springende punkt blir da forsvarligheten av Vetcos inngrepsvurdering på de ulike utbudstidspunkter. Tingretten må bygge på at Vetco var vel kjent med Stridspatentet både ved utbudet av Presentasjonene og 2017-løsningen, og på at Vetco vurderte Stridspatentets rekkevidde inngående[224]. Vitnet Olsen forklarte at 2019-skissen i sin tid ble utformet med det særskilte formål å redusere risikoen for patentinngrep.
Samtidig har Vetco valgt å ikke belyse sine interne patentvurderingers innhold, forutsetninger og tidspunkt nærmere. Det er primært Vetco som kan belyse forhold som skulle tilsi at det er grunn til å anse Vetcos bedømmelse av Stridspatentets rekkevidde subjektivt unnskyldelig. Når anførselen som her ikke underbygges mer konkret, har tingretten kommet til at Vetcos inngrep i Stridspatentet i alle fall har vært grovt uaktsomt både ved utbudet av Presentasjonene og 2017-løsningen.
Vilkårene for å kreve vederlag tilsvarende dobbel lisensavgift med seks millioner kr er oppfylt.
Side:75
13. Sakskostnader
Når en sak gjelder flere krav mellom de samme parter avgjøres omkostningskravet på grunnlag av sakens samlede utfall, jf tvisteloven § 20-2 (2) siste punktum. Sakens utfall vurderes med utgangspunkt i påstandene nedlagt i stevning og tilsvar[225].
SSS’ fastsettelseskrav etter markedsføringsloven reist i stevningens påstand post 3 ble endelig avvist etter voldgiftsloven § 7 ved Borgarting lagmannsretts kjennelse av 4 juni 2019[226]. Vetco ble tilkjent sakskostnader med 150 000 kr for tingretten og 45 000 kr for lagmannsretten. Selv om kravet etter markedsføringsloven var en tvistegjenstand, avgjorde ikke avvisningskjennelsen tvistegjenstanden som sådan, og dens utfall og omkostningsavgjørelse faller helt utenfor tingrettens omkostningsavgjørelse her[227].
I stevningen fremmet SSS krav om at også Vetcos HIPPS Cap-løsning grep inn i Stridspatentet[228]. Vetco påsto seg frifunnet[229]. Etter ytterligere saksforberedelse og fremleggelse av dokumentbevis frafalt SSS kravet om at Vetcos HIPPS Cap-løsning grep inn i Stridspatentet i prosesskriv av 3 april 2020, uten at hevningskjennelse for denne del av saken så langt er avsagt[230]. Slik kjennelse avsies nedenfor. Ved omkostningsavgjørelsen her anses Vetco for å ha vunnet inngrepskravet for så vidt gjelder HIPPS Cap.
Derimot har SSS både vunnet kravene om Stridspatentets gyldighet, om inngrep hva gjelder Vetcos avleiringsløsning («Scale Squeeze»), og om forbud. I tillegg har tingretten tilkjent SSS en betydelig økonomisk kompensasjon som dobbel lisensavgift etter patentloven § 58 annet ledd, selv om tilkjent beløp er langt lavere enn hva SSS gjorde gjeldende.
Ingen av partene har derved vunnet saken fullt ut eller i det vesentlige, jf tvisteloven § 20-2 (2). Ingen av partene burde ha akseptert motpartens standpunkt[231]. Derimot har begge parter fått medhold av betydning etter § 20-3. Bestemmelsen lyder:
«En part som har fått medhold av betydning uten å vinne saken, jf. § 20-2, kan helt eller delvis tilkjennes sakskostnader av motparten hvis tungtveiende grunner tilsier det. I tillegg til momentene i § 20-2 tredje ledd annet punktum skal det legges særlig vekt på hvor mye parten har fått medhold, og andelen av sakskostnadene som knytter seg til den delen av saken.»
Kravet om «tungtveiende grunner» innebærer at terskelen for å bli tilkjent sakskostnader helt eller delvis ligger «relativt høyt». Den «klare hovedregel» i slike saker er at
Side:76
sakskostnader ikke tilkjennes[232]. Tingretten finner ingen tungtveiende grunner til at Vetcos omkostningskrav skal føre frem.
SSS’ omkostningskrav krever en nærmere vurdering: Hovedforhandlingens og derved de samlede sakskostnaders tyngdepunkt har ligget i kravene vedrørende ugyldighet og inngrep for Vetcos avleiringsløsning. Dette er et helt sentralt vurderingskriterium ved omkostningsavgjørelsen etter § 20-3[233]. SSS vant begge disse ressurskrevende krav.
Tingretten trenger derfor ikke ta stilling til Vetcos anførsel om at det ved omkostningsavgjørelsen bør legges størst vekt på utfall og ressursbruk knyttet til det prosessutløsende inngrepskrav på bekostning av det påstått defensive og avledete ugyldighetskrav. Retten bemerker likevel, at ordlyden i § 20-3 annet punktum ikke gir anvisning på en vurdering av om kravene er «offensive» eller «defensive», men alene kravenes utfall og ressursbruk. Negative fastsettelsessøksmål ville dertil komplisere anvendelsen av en eventuell slik regel. I tillegg vil en innehaver av immaterielle rettigheter regelmessig måtte håndheve sin enerett ved søksmål, om rettigheten ikke skal forvitre. Et ugyldighets-spørsmål vil lett kunne kreve mer ressurser enn selve inngrepsspørsmålet isolert sett, samtidig som rettighetshavers og den påståtte inngripers ressurstilgang vil kunne være ganske ulik[234]. En systematisk lavere vekting av ugyldighets-kostnader og – utfall på bekostning av inngreps-kravet ved omkostningsavgjørelser etter § 20-3 ville svekke rettighetshavers reelle rettsposisjon på en måte denne tingrett finner uheldig, og som vil kreve klar hjemmel[235]. Slik hjemmel mangler.
I tillegg til sakskostnadenes relative tyngdepunkt og utfall viser § 20-3 også til de tre skjønnsmomentene i § 20-2 (3) bokstav a-c. SSS kan verken bebreides for at det kom til sak, eller for å ha avslått noe rimelig forlikstilbud etter bokstav b. Sakens velferdsmessige betydning og partenes styrkeforhold etter bokstav c trekker isolert sett i retning av at SSS’ omkostningskrav fører frem, men vil vanligvis ikke være avgjørende i tvister mellom næringsdrivende. Bokstav a gjelder det tilfelle at det var god grunn til å få saken prøvd, enten fordi den var tvilsom eller første ble bevismessig avklart etter saksanlegget. SSS trakk inngrepskravet mot HIPPS Cap-løsningen etter at denne ble bevismessig avklart. Ekvivalens-vurderingen av 2017-løsningen opp mot Stridspatentets trekk D var skjønnsmessig i flere ledd, og derved usikker. Tingretten finner imidlertid at Vetco ikke hadde «god grunn» til å få prøvd inngrepsspørsmålet av den grunn. Den profesjonelle part som i næring balanserer på rettsstridsgrensen og tråkker feil, kan ikke forvente å bli fritatt fra å erstatte rettighetshaver de sakskostnader denne derved påføres.
Side:77
Tingretten har samlet kommet til at det foreligger tungtveiende grunner til at Vetco bør erstatte SSS’ ca 75 % av SSS’ rimelige, nødvendige og forholdsmessige sakskostnader. Prosentsatsen er så vidt skjønnsmessig fastsatt at det har lite for seg å anvende den matematisk på et omkostningskrav angitt i øre, i tillegg til kroner. Tingretten finner derfor å burde fastsette Vetcos omkostningsansvar til et skjønnsmessig forsiktig avrundet beløp, jf nedenfor.
SSS har krevd sakskostnader med totalt 6 550 192,02 kr eks mva; med tillegg av rettsgebyr, sideutgifter inkludert de sakkyndige meddommere og godtgjøring for partens eget arbeid etter § 20-5 (1) tredje punktum med 800 timer x 1 500 kr/time eller 1,2 millioner kr. Kostnadene fordeler seg mellom
- Salær prosessfullmektig med 3 851 979,25 kr eks mva, fordelt på sakens tre faser etter § 20-5 (3) med henholdsvis 41,5 timer, 851,75 timer og 238,25 timer med en gjennomsnittlig timesats på henholdsvis 4 286 kr, 3 351 kr og 3 440 kr;
- Salær sakkyndige med 2 457 712 kr eks mva, fordelt mellom
- Patentfullmektig Håmsø 629 437 kr (3 337 kr/t),
- Sakkyndig Herland 568 650 kr (2 550 kr/t),
- Sakkyndig Wessel 969 000 kr (2 550 kr/t), og
- Sakkyndig Fatnes 290 625 kr (1 875 kr/t); og
- Utlegg med 240 500,77 kr eks mva, fordelt mellom
- reise og diett for prosessfullmektig (49 511,77 kr),
- reise og diett for sakkyndige (62 509 kr),
- reise og diett SSS (54 956 kr),
- Tegninger og skisser (62 524 kr), og
- Kostnader til garanti for styrets mulige omkostningsansvar (11 000 kr).
Av Saksøkerne har bare Subsea Smart Solutions AS fradragsrett for inngående merverdiavgift. SSS har oppgitt at sakskostnadene er likedelt mellom de to selskap, og krevd erstattet merverdiavgift for den halvdel av omkostningsoppgaven som er belastet Subsea Solutions AS med ytterligere totalt 831 248,91 kr.
Til sammenligning utgjør Vetcos salæroppgave 7 124 615 kr eks mva med tillegg av rettsgebyr og sideutgifter inkludert de sakkyndige meddommere. Vetcos kostnader domineres av salær prosessfullmektig med 6 093 486 kr, med en gjennomsnittlig timesats i sakens tre faser på henholdsvis 2 539 kr/t, 3 720 kr/t og 5 062 kr/t. I tillegg er krevd dekning av utlegg med til sammen 1 031 129 kr, hvorav 588 829 kr knytter seg til sakkyndig vitne Sangesland, 209 303 kr knytter seg til oversettelser og 137 400 kr knytter seg til tolking under hovedforhandlingen. Vetco har fradragsrett for inngående merverdiavgift.
Begge parter har protestert på den annen parts omkostninger.
Side:78
Begge parters salæroppgaver er høye. Ressursbruken knytter seg særlig til saksforberedelsesfasen fra tilsvar til hovedforhandlingens oppstart. Tingretten finner å ikke burde redusere SSS’ salærutgifter fordi antallet eller omfanget av sakens bevisprovokasjoner overstiger det rimelige, nødvendige eller forholdsmessige, slik Vetco har anført. Saken gjelder utførelsen av en påstått inngrepsgjenstand montert på havets bunn innenfor sikkerhetssonen på et produserende oljefelt. Gjenstandens utførelse vil da regelmessig bare kunne belyses gjennom de bevis den påståtte inngriper selv velger å legge frem. Selv om parten både har sannhets- og opplysningsplikt etter tvisteloven § 21-4 og fremleggelsesplikt etter § 26-5 og § 26-6, vil saksomkostninger knyttet til tvist om bevisfremleggelse lett kunne være en både nødvendig og forholdsmessig del av saksforberedelsen i slike saker.
Avgjørende i saken her blir likevel at tvisten om bevisprovokasjonene ble avgjort av lagmannsretten ved kjennelse 28 oktober 2019[236]. Lagmannsretten fant at ingen av partene vant provokasjonstvisten, og avslo partenes krav om sakskostnader tilknyttet denne for begge instanser. Derved er partenes adgang til å kreve erstattet sine kostnader knyttet til bevisprovokasjonene av motparten allerede avslått av lagmannsretten etter tvistelovens § 20-8 (2), og SSS’ kostnader til disse spørsmål er utelatt fra omkostningsoppgaven. Dette innebærer samtidig, at ressursbruken knyttet til både bevisprovokasjonene og markedsføringsloven her vil være uten betydning for fastsettelsen av sakens øvrige rimelige, nødvendige og forholdsmessige sakskostnaders størrelse.
Vetco valgte å underbygge ugyldighets-påstanden forholdsvis bredt, og anførte seks ulike mothold i prosedyren. En ugyldigkjennelse av meddelt patent har virkning for og imot alle med tilbakevirkende kraft etter patentloven § 52 siste ledd. Det vil derfor normalt være rimelig og nødvendig for en patenthaver å ta alle de anførte mothold på alvor og forberede sitt forsvar, også der retten etter gjennomført hovedforhandling måtte finne at enkelte mothold var klart uten betydning. Vetcos salæroppgave overstiger dertil SSS’ salæroppgave med over 50 %. Tingretten tar SSS’ salæroppgave til følge hva gjelder prosessfullmektigs salær.
Vetco har videre protestert på SSS’ samlede utgifter til teknisk sakkyndige, som også er høye:
For vitnet Fatnes bygger tingretten på at han bistod SSS med sikte på å opptre som sakkyndig vitne under hovedforhandlingen. Hans navn og arbeidsgiver (Weatherford) ble oppgitt i saken 22 april 2020[237]. 29 april 2020 trakk imidlertid Fatnes seg fra saken på initiativ fra lederen av Weatherfords globale prosedyreavdeling i Houston, Texas[238].
Side:79
Tingretten bygger på at Vetco den 28 april opplyste Weatherford om Fatnes’ forestående oppdrag som partsoppnevnt sakkyndig vitne i saken, ved en epost til en senior-advokat i Weatherfords immaterialretts-avdeling også i Houston, Texas[239]. Vetco anfører å verken ha bedt eller presset Weatherford å forhindre Fatnes’ forklaring i saken, utover å gjøre forholdet kjent for arbeidsgiveren. Samtidig etterspurte Vetco også respons på et mulig krysslisens-arrangement i en pågående sak mellom de to firma.
Fatnes meddelte til SSS at har var «bedt om å holde meg vekke fra saken for å opprettholde det gode samarbeidet mellom Baker Hughes og Weatherford i USA.». Verken Fatnes selv, lederen i Weatherfords prosedyreavdeling som kontaktet Fatnes eller senior-advokaten i immaterialretts-avdeling som mottok henvendelsen fra Vetco forklarte seg for tingretten. Eventuell muntlig kontakt utover de fremlagte eposter er derfor ikke belyst. Belyst ble heller ikke rammene for Fatnes’ adgang til å påta seg tekniske konsulentoppdrag for tredjemann, eller hvilket lands rett som regulerer Fatnes’ ansettelsesforhold.
SSS har krevd kostnadene til Fatnes dekket etter tvisteloven § 20-4 uavhengig av sakens utfall og anført at kostnadene skyldes «motpartens forsømmelser». Bestemmelsen tar særlig sikte på merkostnader som skyldes kritikkverdige prosesshandlinger eller unnlatelser som innebærer at saken blir vidløftiggjort eller trukket i langdrag[240]. Det er ikke avklart i hvilken grad bestemmelsen omfatter forsømmelser som ikke er knyttet til særskilt regulering i tvisteloven[241].
Tingretten finner ikke at Vetcos henvendelse til Weatherford om Fatnes’ oppdrag som privat sakkyndig vitne for SSS var en «forsømmelse» i tvistelovens forstand. Kostnadene faller derfor utenfor § 20-4.
Samtidig finner tingretten klar årsakssammenheng mellom Vetcos henvendelse til Weatherford og størrelsen av SSS’ samlede utgifter til teknisk sakkyndighet i saken. Kostnadene har blitt uvanlig høye både ved at kostnadene til Fatnes ble forspilt, og ved at SSS i løpet av ca en kalendermåned måtte finne ny teknisk kyndighet som kunne sette seg inn i sakens omfattende tekniske materiale, utarbeide en sakkyndig erklæring[242], og være til stede under hele hovedforhandlingen med oppstart 26 mai 2020. Arbeidsmengden under tidspress økte ytterligere gjennom Vetcos omfattende fremleggelse av ny teknisk dokumentasjon så sent som 5 mai 2020[243]. Vetco frafalt deretter brorparten av den tekniske dokumentasjon 18 mai 2020[244].
I kjennelse av 20 mai 2020 fant tingretten at fremleggelsene verken begrunnet omberamming av hovedforhandlingen eller avskjæring av referanse-dokumentene[245]. Ved
Side:80
omkostningsavgjørelsen etter § 20-3 finner samtidig tingretten, at SSS derved ble kastet ut i en situasjon der vanlige prinsipper for kostnadseffektivitet og ressursbruk måtte vike som følge av stort, uventet og uforskyldt tidspress. Tingretten finner etter dette ikke grunnlag for å redusere Vetcos omkostningsansvar på det grunnlag at SSS’ kostnader til teknisk sakkyndighet samlet ble uvanlig høye.
Vetco har ikke hatt merknader til SSS’ øvrige utlegg, og tingretten tar sakskostnadsoppgaven til følge.
Endelig har SSS krevd godtgjøring for Borsheims eget arbeid med saken, anslått til 800 timer til 1 500 kr/t, totalt 1,2 millioner kr. Vetco har anført at kostnader til ytterligere teknisk bistand utover de fire sakkyndige har vært urimelig. Tvisteloven § 20-5 (1) lyder:
«Full erstatning for sakskostnader skal dekke alle partens nødvendige kostnader ved saken som ikke særlige regler gir grunnlag for å unnta. Ved vurderingen av om kostnadene har vært nødvendige, legges det vekt på om det ut fra betydningen av saken har vært rimelig å pådra dem. Parten kan kreve rimelig godtgjøring for eget arbeid med saken når det har vært særlig omfattende eller det ellers måtte ha vært utført av en prosessfullmektig eller annen fagkyndig hjelper.» (understreket her)
Regelen er langt på vei en kodifisering av rettspraksis etter tvistemålsloven § 176 første ledd. Når parten er et aksjeselskap slik som her vil også dettes styreleder falle inn under bestemmelsen som selskapets stedfortreder[246]. Borsheim er både daglig leder og styreleder i Smart Solutions AS, mens han i Subsea Smart Solutions AS «bare» er daglig leder og har prokura. Styreleder i Subsea Smart Solutions AS er imidlertid Ole Olsen Hodnefjell. Tingretten trenger imidlertid ikke ta stilling til om en eventuell godtgjørelse allerede på dette grunnlag må bli å halvere.
Vilkårene for å tilkjenne godtgjørelse for partens eller stedfortreders eget arbeid med saken er i alle tilfeller at arbeidet har vært «særlig omfattende», eller at det «ellers måtte vært utført av prosessfullmektig eller annen fagkyndig hjelper». Hovedregelen og utgangspunktet er at arbeid i egen sak ikke gir krav på sakskostnader[247]. Lovforarbeidene har flere ganger peker på at «... en part må som et utgangspunkt finne seg i å bruke tid og arbeid på sine forretningsmessige og private affærer, også om de leder til rettstvist, uten at kostnadene kan belastes andre»[248]. I tillegg til arbeidets omfang ses også hen til om parten som følge av egeninnsatsen har unnlatt å engasjere prosessfullmektig eller annen teknisk bistand. Det kan også legges vekt på om parten har tapt arbeidsfortjeneste som følge av arbeidet med saken eller ei.
Side:81
SSS har i saken vært bistått av to prosessfullmektiger og en rettslig medhjelper, i tillegg til totalt fire tekniske eksperter. Kostnadene til samlet ekstern bistand har vært betydelige, og utgjør i størrelsesorden 1 million kr pr rettsdag. Dette er høyt, selv for patentsaker der både gyldighet og inngrep prøves. Borsheims innsats har ikke fremgått av sakens dokumenter underveis. Det er heller ikke levert timelister eller annen dokumentasjon for Borsheims arbeids omfang og innhold. De anslåtte 800 timer utgjør omtrent et halvt årsverk i løpet av de to kalenderår som ligger mellom stevning og hovedforhandling. Den foreslåtte timesats på 1 200 kr/t er ikke nærmere forklart eller underbygget. Det er heller ikke dokumentert tapt arbeidsfortjeneste hos Borsheim som følge av saken.
Etter en samlet vurdering finner tingretten at det ikke er grunnlag for å fravike fra hovedregelen og utgangspunktet om at partens stedfortreder ikke kan kreve vederlag for egen tidsbruk i saken, jf § 20-5 (1) tredje punktum.
Ved rettsgebyr-beregningen belastes både SSS og Vetco med åpningsgebyr med 5 x R i henhold til rettsgebyrloven § 8 annet ledd. For de påfølgende syv hovedforhandlingsdager belastes SSS med ytterligere 3x4 + 4x2 = 20 R, jf rettsgebyrloven § 8 første ledd annet punktum. Rettsgebyret utgjorde 1 130 kr i 2018. SSS’ samlede rettsgebyr blir etter dette 25 R = 28 250 kr.
Samlet fastsetter tingretten Vetcos omkostningsansvar etter § 20-3 til (6 550 192 kr med tillegg av rettsgebyr med 28 250 kr) x 75 %, totalt kr 4 933 831 kr, med tillegg av påført mva på Subsea Solutions AS’ hånd med ytterligere (831 248 kr x 75% =) 623 436 kr, totalt 5 557 267 kr inkl mva.
Begge parter begjærte retten satt med fagkyndige meddommere[249]. Kostnadene til meddommere bæres da i første hånd av partene med en halvpart på hver, jf rettsgebyrloven § 2; samtidig som kostnadene inngår i grunnlaget for hver av partenes sakskostnadskrav. Størrelsen av kostnadene til de fagkyndige meddommere fastsettes i særskilt beslutning etter domsavsigelsen. Tingretten gir derfor fastsettelsesdom for Vetcos plikt til å erstatte SSS ca 75 % av SSS’ kostnader til fagkyndige meddommere for tingretten i tillegg til beløpet i slutningens post 5.
Dommen er enstemmig.
Dommen er ikke avsagt innen lovens frist. Grunnen er sakens omfang og kompleksitet.
Side:82
1. Patent NO 332 486 er gyldig.
2. Vetco Gray Scandinavia AS forbys å tilvirke, utby, bringe i omsetning eller anvende den anordning som omhandles i Presentasjonene og 2017-løsningen fremlagt som tingrettssakens faktiske utdrag s 1696-1745, s 1746-92, s 2252-53, s 2359-64 og s 2517, samt å innføre eller besitte nevnte anordning i slik hensikt.
3. Vetco Gray Scandinavia AS forbys å anvende eller tilby å anvende den fremgangsmåte som omhandles i Presentasjonene og 2017-løsningen fremlagt som tingrettssakens faktiske utdrag s 1696-1745, s 1746-92, s 2252-53, s 2359-64 og s 2517, eller utby den for anvendelse her i riket.
4. Vetco Gray Scandinavia AS betaler økonomisk kompensasjon til Subsea Solutions AS og Subsea Smart Solutions AS for patentinngrep med 6 000 000 – seksmillioner - kroner.
5. Vetco Gray Scandinavia AS betaler sakskostnader til Subsea Solutions AS og Subsea Smart Solutions AS med 5 557 267 – femmillioner femhundreogfemtisjutusen tohundreogsekstisju – kroner, hvorav 623 436 – sekshundreogtjuetretusen firehundreogtrettiseks – kroner utgjør mva.
6. Vetco Gray Scandinavia AS betaler ca 75 prosent av Subsea Solutions AS’ og Subsea Smart Solutions AS’ kostnader til fagkyndige meddommere for tingretten. Disse kostnaders størrelse blir å fastsette i særskilt beslutning.
1. Saken heves for så vidt gjelder kravet om at Vetcos HIPPS cap-løsning griper inn i patent NO 332 486.
Oppfyllelsesfristen for domsslutningens post 4 og 5 er 2 – to – uker fra forkynnelsen av dommen, jf tvisteloven § 19-7 (1) siste punktum. Oppfyllelsesfristen for domsslutningens post 6 er 2 – to – uker fra forkynnelsen av rettens fastsettelse av meddommernes godtgjørelse, jf tvisteloven § 19-7 (1) siste punktum. Når det gjelder spørsmålet om renter av tilkjente sakskostnader vises til regelen i tvangsfullbyrdelsesloven § 4-1 (3).
Kopi av dommen meddeles Patentstyret, jf patentloven § 66.
Noter
- ↑ NO 332 487. I dom av 9 juli 2019 (U s 2155-2201) fant Oslo tingrett at 487-patentet var gyldig, samtidig som saksøkte Siemens ble frifunnet for patentinngrep. Tingrettens dom er påanket og ankeforhandling berammet til oppstart 10 oktober 2020.
- ↑ EP 2 771 538.
- ↑ Benevnt «Fluid Well Intervention Pact» - U s 1234.
- ↑ Henholdsvis U s 184-93, bilag nr 2 til prosesskriv av 27 mai 2020 (sakens dok nr 297) og U s 656-87.
- ↑ U s 1042-57.
- ↑ U s 1028-41.
- ↑ U s 1064.
- ↑ U s 20-40.
- ↑ U s 1129-31.
- ↑ U s 1170, jf U s 1171-93.
- ↑ U s 1237-40, jf U s 1241-71.
- ↑ U s 1236-55.
- ↑ U s 1530.
- ↑ U s 1532, s 1637 og s 1666, sammenholdt med U s 1634.
- ↑ U s 1644-45.
- ↑ U s 1658 og s 1666 feildatert til 4 mai 2015, jf signaturfeltet på U s 1662 og s 1670.
- ↑ U s 1673, jf U s 1675.
- ↑ U s 1677.
- ↑ Dok # 9.
- ↑ U s 1646-57.
- ↑ U s 1696-1745.
- ↑ U s 1746-1792.
- ↑ U s 1793-1837.
- ↑ U s 1838-50.
- ↑ U s 1855-58 og TU s 727-31 sammenholdt med Vetcos tilbud U s 1851-54 (engineering) og TU s 723-26 (tre modifiserte ventiltrekapper).
- ↑ TU s 728.
- ↑ U s 1916-17.
- ↑ U s 1901-13, U s 1920, U s 1972, U s 1973-80, U s 1981-84, U s 1985-86, U s 2002-03 og U s 2004.
- ↑ U s 2006-21.
- ↑ U s 2027-44.
- ↑ U s 2104-10.
- ↑ U s 2279-93.
- ↑ U s 2397-2401.
- ↑ U s 2530-32.
- ↑ U s 2464-2523.
- ↑ Frafallet gjaldt bilag 4-38 til dok nr 246, men ikke bilag nr 3-7 til dok 224, jf U s 852-53.
- ↑ TU s 877-950.
- ↑ Henholdsvis U s 656-87 og U s 184-93.
- ↑ U s 1094.
- ↑ U s 2360, jf TU s 981 som også er fremlagt som dok # 1.
- ↑ U s 2253.
- ↑ Dvs både etter opprinnelig berammet hovedforhandling og etter at professor Sangesland ble engasjert i saken i oktober 2018 – U s 2326.
- ↑ U s 2517.
- ↑ Dvs to dager før Borsheim ba Strand signere konfidensialitetserklæring 4 mai samme år – U s 1658 og s 1666. En eventuell illojalitet i dette tidsvindu anføres å ligge på Vetcos og ikke SSS’ hånd.
- ↑ TU s 729.
- ↑ U s 1029 linje 14 – 16.
- ↑ OTC 7284 – U s 158-65.
- ↑ OTC 10970 – U s 166-73.
- ↑ WO 86/01852 – U s 98-115.
- ↑ U s 656-87.
- ↑ U s 184-93.
- ↑ Beskrevet i dataark U s 584 og i offentlig tidsskrift U s 653-55.
- ↑ U s 2250-51, jf fotografier på U s 81, 86 og 88.
- ↑ U s 2359-60.
- ↑ U s 2326-29.
- ↑ U s 1718-19.
- ↑ SSM er inntegnet på U s 2360.
- ↑ U s 2360.
- ↑ U s 1165.
- ↑ U s 2034.
- ↑ Jf domstolloven § 136 første ledd siste punktum.
- ↑ U s 1658 og s 1666.
- ↑ U s 1037.
- ↑ U s 1036.
- ↑ U s 1029 – s 1030 linje 5.
- ↑ U s 1030 linje 6 – s 1032 linje 2.
- ↑ U s 1032 linje 3 – s 1035 linje 11.
- ↑ Jf Stenvik, Patentrett, 2020, s 367.
- ↑ En BOP vil typisk kunne veie opp til ca 400 tonn, sammenlignet med et undervanns ventiltre som typisk vil kunne veie opp til ca 45 tonn.
- ↑ U s 1029 linje 23-24.
- ↑ U s 1035 linje 10-11.
- ↑ Jf U s 1313 og 1315.
- ↑ U s 1030 linje 27, U s 1030 linje 34 sammenholdt med U s 1031 linje 7og U s 1033 linje 1.
- ↑ U s 1272 følgende, særlig U s 1288 sammenholdt med U s 1313 for vertikale ventiltrær og U s 1315 for horisontale ventiltrær.
- ↑ U s 1029 linje 20-21.
- ↑ TU s 982.
- ↑ U s 2473-74.
- ↑ «swab ventil» kalt «ASV» i ISO-standarden på U s 1315.
- ↑ U s 1029 linje 20-22.
- ↑ U s 1033 linje 2-3.
- ↑ U s 1033 linje 6-8.
- ↑ U s 1030 linje 24-25
- ↑ U s 1033 linje 31-32.
- ↑ U s 1033 linje 5-9.
- ↑ U s 1030 linje 23.
- ↑ U s 1031 linje 2 og 9, samt s 1035 linje 9.
- ↑ Jf U s 1030 linje 12, U s 1031 linje 17 og U s 1033 linje 8.
- ↑ Store norske leksikon.
- ↑ Wikipedia oversatt fra engelsk.
- ↑ Wikipedia nynorsk.
- ↑ U s 1031 linje 28-32, jf det viste utførelseseksemplar i U s 1033 linje 9-10.
- ↑ U s 1030 s 27.
- ↑ U s 1031 linje 10-11.
- ↑ U s 1033 linje 8-9.
- ↑ U s 1029 linje 17-22 og U s 1030 linje 2-3.
- ↑ U s 1030 linje 10-12.
- ↑ U s 1030 linje 27-30.
- ↑ U s 1030 linje 27-28.
- ↑ U s 1031 linje 28-29.
- ↑ U s 1034 linje 3-4 og figur 2.
- ↑ U s 1031 linje 24-25.
- ↑ U s 1034 linje 5-8 og figur 2.
- ↑ U s 1034 linje 5-8.
- ↑ U s 1030 linje 31.
- ↑ U s 1034 linje 1, 32 og 33 og U s 1035 linje 1 og 3.
- ↑ U s 1032 linje 16, 20 og 30; U s 1033 linje 2, 4 og 7; og U s 1034 linje 13 og 33.
- ↑ OTC 7284 - fremlagt som U s 158-65. Zinc er nærmere vurdert av de partsoppnevnt sakkyndige på henholdsvis U s 2493-95 og TU s 901-04.
- ↑ U s 158, høyre spalte første avsnitt.
- ↑ U s 158, venstre spalte annet avsnitt.
- ↑ U s 163, høyre spalte, første hele avsnitt.
- ↑ U s 162, høyre spalte første avsnitt.
- ↑ U s 163, venstre spalte siste hele avsnitt.
- ↑ U s 163 høyre spalte siste tekstavsnitt.
- ↑ OTC 10970 - fremlagt som U s 166-73. Prado er nærmere vurdert av de partsoppnevnt sakkyndige på henholdsvis U s 2495-99 og TU s 904-08.
- ↑ U s 169 midt på høyre spalte.
- ↑ U s 166 høyre spalte åttende avsnitt sammenholdt med figur nr 2 og 8 (U s 170 og 173).
- ↑ En « 13-5/8‘’ – 5 000 psi wp hub» ble foretrukket foran en «mandrel» profil på grunn av havdypets størrelse, jf U s 169 nest siste avsnitt.
- ↑ U s 169 annen spalte første hele avsnitt.
- ↑ Jf U s 169 venstre spalte femte hele avsnitt («Tree Cap and Tree Running Tool») og figur 2 jf figur 8.
- ↑ WO 86/01852 - fremlagt som U s 98-115. Doyle er nærmere vurdert av de partsoppnevnt sakkyndige på henholdsvis U s 2505-06 og TU s 917-19.
- ↑ U s 104 linje 23 – s 105 linje 1.
- ↑ U s 105 linje 16-19: «... smaller access and mounting location for a small wireline BOP system thus simplifying requirements for general wireline workover and re-entry.»
- ↑ U s 111 krav 6: «A well head as claimed in any preceding claim having a tree cap, which cap comprises two portions of which a primary portion interfaces with the tree body and provides containment for the tubing hanger, and a secondary portion mounted on the primary portion and adapted to provide for wireline access.»
- ↑ U s 105 linje 19-24: «... A swab valve 18 mounted in the primary cap section ensures additional safety during the wireline operation and secondary tree cap removal. This is backed up by the wireline removable crown plug 12 in the top entry part of the tubing hanger manifold body.»
- ↑ PowerPoint presentasjon fremlagt som U s 656-87, jf møteinvitasjon i TU s 472. Frokostpresentasjonen er nærmere omtalt av de partsoppnevnt sakkyndige på henholdsvis U s 2511 og 2514 og TU s 920-23.
- ↑ U s 731.
- ↑ U s 50.
- ↑ U s 510 og TU s 656.
- ↑ Jf U s 661, jf U s 50 som ikke er sikkert tidfestet. I U s 50 fremholdes endog som en fordel med MARS via Choke at endringer av ventiltreet og eksisterende undervannsarkitektur unngås.
- ↑ Jf U s 510-12 og U s 731.
- ↑ Som har blitt til ni figurer på TU s 656 - etter Prioritetsdatoen. Den niende figur er benevnt «well Stimulation» og viser ren væsketilførsel gjennom MARS – så vidt skjønnes i en enkel-boret utførelse. «WI/WAG» antas å bety henholdsvis «Water Injection» og «Water Alternating Gas».
- ↑ U s 665 – henholdsvis «... gained a new safe access point into both their reservoir and pipeline system» og «(P)roduction is optimised due to safer, faster and less expensive (and therefore more frequent) scale squeeze operations.» Tilsvarende beskriver presentasjonen på U s 734 at Bittern- og Pierce-feltene ga et permanent lav-risiko adgangspunkt til både reservoar og rørledninger via ventiltreet – formentlig ved å benytte MARS via Choke.
- ↑ U s 735.
- ↑ U s 736: «greenfield and new well developments».
- ↑ Schiehallion-feltet - U s 738-39.
- ↑ U s 671 sammenholdt med U s 684 som beskriver «breakaway with shut-off» som en oppnådd funksjon.
- ↑ U s 735.
- ↑ U s 675-85, særlig U s 681.
- ↑ U s 508 og U s 532.
- ↑ U s 733.
- ↑ U s 732. Samme bruk vises også i en udatert og antatt senere presentasjon på U s 51.
- ↑ U s 737: «Each of the two subsea multiphase pumps were installed on separate foundations adjacent to the existing wellheads. The MARS system was installed onto a universal work platform which in turn presented two vertical Cameron Vertical Connection (CVC™) hubs to enable jumpers to be installed from pump to tree.»
- ↑ U s 734.
- ↑ U s 184-93. US 514-patentet er nærmere vurdert av de partsoppnevnt sakkyndige på henholdsvis U s 2510-14 og TU s 923-26. Patentets sammendrag betegner seg som et kombinert fremgangsmåte- og anordningspatent, men patentkravene på U s 193 er imidlertid utformet som rene fremgangsmåtekrav.
- ↑ U s 191 spalte 1 linje 27-57.
- ↑ U s 191 spalte 1 linje 62 – spalte 2 linje 3.
- ↑ U s 191 spalte 2 linje 4 – 56.
- ↑ U s 191 spalte 2 linje 25-26.
- ↑ U s 191 spalte 2 linje 29 – 32.
- ↑ U s 191 spalte 2 linje 33 – 36 – både høytrykks vann, elektrisitet fra fast eller flytende installasjon, flytebøye eller gass nevnes.
- ↑ U s 191 spalte 2 linje 37 – 40.
- ↑ U s 191 spalte 2 linje 40 – 56.
- ↑ U s 689 sammenholdt med datablad på U s 584-86 og artikkel fra bransjetidsskriftet E&P Magazine på U s 653-55. Oceaneering AIT er nærmere omtalt av de partsoppnevnte sakkyndige på henholdsvis U s 2506-09 og TU s 926-30.
- ↑ U s 654 siste avsnitt.
- ↑ Ved å pumpe vann ned det ene og opp gjennom det andre kveilerøret samtidig - U s 654.
- ↑ «Tree Running Tool – TRT», jf U s 654, fjerde hele avsnitt.
- ↑ U s 1029.
- ↑ Jf Stenvik, Patentrett 2020 s 198-200 (JU Vetco s 198-200); Patentretningslinjene del C kapittel IV pkt 5.3 (JU Vetco s 924-25); EPO Guidelines del G kapittel VII pkt 3 (JU Vetco s 881 nederst – 883) og EPO Case Law 2019 s 203-07 (JU SSS s 944-48).
- ↑ Jf Stenvik, Patentrett 2020 s 203-04 (JU Vetco s 203-04).
- ↑ Patenteringsretningslinjene Del C kapittel III pkt 4.3 (JU Vetco s 920), sammenholdt med Stenvik Patentrett 2020 s 203 annet avsnitt med note 449 (JU Vetco s 740); Visser, The annotated European Patent Convention 2017 s 80 (JU SSS s 815); og T 153/85 Amoco s 14 (JU SSS s 316).
- ↑ Hydratdannelse krever tilstedeværelse av fritt vann og lette gassmolekyler samt relativt høyt trykk og lav temperatur. Hydratkurven kan beregnes matematisk for et fluid med god nøyaktighet.
- ↑ Eksempelvis angir Frokostpresentasjonen på U s 666 at avleiringer finnes av flere slag, som kalsiumkarbonat, kalsiumsulfat, bariumsulfat og strontium sulfat. Hydrat sees ikke omtalt som en type avleiring.
- ↑ Jf Stenvik, Patentrett 2020 s 228-29 (JU Vetco s 758-59); Patenteringsretningslinjene C, IV, 5.5.1 (JU Vetco s 926-27); EPO Guidelines G, VII punkt 5.1 (JU Vetco s 883-85) og EPOs Case Law, 2016 s 168 (JU Vetco s 522).
- ↑ AITs kjemikalier synes rettet mot å rense fjellporene ute i formasjonen i stedet for å rense produksjonsrørets tverrsnitt, jf U s 653 tredje avsnitt som omtaler «sufficient chemical capacity to complete the reservoir stimulation». Samtidig passerer AITs kjemikalier med nødvendighet produksjonsrøret på sin vei mot reservoaret.
- ↑ U s 158 høyre spalte første avsnitt.
- ↑ Stenvik, Patentrett 2020 s 229 (JU Vetco s 759), Patenteringsretningslinjene C, IV, 5.5.2 (JU SSS s 1245-46 og Vetco s 927-28).
- ↑ Stenvik, Patentrett 2020 s 230 (JU Vetco s 760); EPO Guidelines G, VII punkt 5.3 (JU Vetco s 887) og EPOs Case Law 2016 s 183 (JU Vetco s 537).
- ↑ Jf blant annet Rt-2009-1055 Donepezil avsnitt 25-30 (JU SSS s 82-83) og Rt-1997-1749 Lift-Up s 6-7/8 (JU SSS s 61-62), oppsummert i Stenvik, Patentrett 2000 s 354-59 (JU Vetco s 784-89).
- ↑ Jf Rt-2009-1055 Donepezil avsnitt 28-30 (JU SSS s 82-83); Stenvik, Patentrett 2000 s 376-403 (JU Vetco s 806-33); og Ringnes, i Lov Sannhet Rett Norges Høyesterett 200 år, redigert av Schei, Skoghøy og Øie, 2015 s 891-93 (JU Vetco s 502-04).
- ↑ Fremlagt som henholdsvis «Shell Draugen Scale Squeeze» U s 1646-57, «Shell Draugen Scale Squeeze System» U s 1696-1745 og «Shell Draugen Scale Squeeze System» U s 1746-92.
- ↑ Henholdsvis U s 1851-54 (tilbud engineering); TU s 723-26 (tilbud kapper); U s 1855-58 (innkjøpsordre engineering) og TU s 727-31 (innkjøpsordre kapper).
- ↑ Henholdsvis U s 2250-51 og U s 81-88, særlig s 81, 86 og 88.
- ↑ Både inntatt i U s 2359-64, TU s 981 og dok # 1.
- ↑ Antakelig skrivefeil for «redacted».
- ↑ U s 2252-53.
- ↑ U s 2326-31.
- ↑ U s 2338 – prosesskriv av 6 desember 2019.
- ↑ U s 2517. 2020-tegningen er kommentert av de partsoppnevnt sakkyndige på henholdsvis U s 2518-22 og TU s 937-40.
- ↑ Herunder U s 1711-13 og s 1718-21 sammenholdt med U s 1758-61, s 1763-67 og 1775.
- ↑ De hurtigutløsbare koplingene kan utløses også på annet vis, uten at det har betydning for saken.
- ↑ Spesifisert som «3’’ flying lead 10 000 psi» både i 2017- og 2020-tegningen, men uten særskilte spesifikasjoner i 2018-tegningen.
- ↑ 2018- og 2020-tegningen gir ROV-kontroll over PSV-ventilen. I følge vitnet Olsen lider 2017-tegningen her av en speilvendt tegnefeil, som ble rettet opp i den ellers identiske 2020-tegningen.
- ↑ Spesifisert som to tommers hydrauliske forbindelser som kan holde væske tilbake («fluid retention»).
- ↑ U s 1713 gjentatt på U s 1712, 1758 og 1767, sammenholdt med U s 1711 gjentatt på U s 1761.
- ↑ U s 1732 tredje kulepunkt og U s 1733 annet kulepunkt.
- ↑ U s 1734 tredje stikkordsgruppe.
- ↑ U s 1718-19.
- ↑ Særlig U s 1718-19.
- ↑ U s 1701 første og annet kulepunkt, sammenholdt med U s 1755 fjerde punkt.
- ↑ U s 1718 bilde 1-2, gjentatt i U s 1720 bilde 1-2, s 1764 bilde 3 og s 1765 bilde 1, og s 1766 bilde 2-3.
- ↑ U s 1718 bilde 3 og s 1719 bilde 1, gjentatt i U s 1765 bilde 2-3, sammenholdt med U s 1713 som er gjentatt i U s 1712 og s 1758.
- ↑ U s 1719 bilde 1 og U s 1721 bilde 1 sammenholdt med U s 1763 bilde 4 og U s 1765 bilde 3.
- ↑ U s 1709 og s 1759 første og annet kulepunkt, sammenholdt med illustrasjon.
- ↑ U s 1719 bilde 2-3, gjentatt i U s 1721 bilde 2-3 og U 1766 bilde 1-3.
- ↑ U s 1711-12, gjentatt i U s 1767.
- ↑ U s 1702 fjerde strekpunkt og U 1753 siste punkt.
- ↑ U s 1753 nest siste punkt sammenholdt med U s 1754 tredje pilpunkt.
- ↑ U s 1039-41.
- ↑ Stridspatentet gir ingen anvisning på hurtigkoplingens utførelse, og lærer i beskrivelsen av det det foretrukne utførelseseksemplar at denne «... er av i og for seg kjent utførelse, ...», jf U s 1034 linje 6-7.
- ↑ Henholdsvis U s 1709 og s 1759.
- ↑ U s 2360, s 2253 og s 2517.
- ↑ Jf i større detalj Stenvik, Patentrett, 2020 s 383-84 (JU Vetco s 813-14).
- ↑ Jf U s 1029 linje 17-18 og s 1030 linje 27-30, jf NPIs patenterbarhetsvurdering I U s 1094.
- ↑ Jf U s 1035 linje 9-10, sammenholdt med U s 1032 linje 3-4.
- ↑ Henholdsvis pkt 9.3.1 og pkt 9.3.2.
- ↑ Jf Beskrivelsens utførelseseksemplar i U s 1035 linje 3-6.
- ↑ U s 1240, jf s 1241- 71, særlig s 1268-70.
- ↑ U s 734.
- ↑ Jf pkt 2.2 ovenfor.
- ↑ Stenvik: Patentrett, 2020 s 385 (JU Vetco s 815).
- ↑ Jf Stenvik, Patentrett 2020 s 394-95 (JU Vetco s 824-25).
- ↑ U s 1728 og 1775, sammenholdt med U s 1749.
- ↑ Stenvik: Patentrett 2020 s 384 (JU Vetco s 814)
- ↑ U s 2326-31, særlig s 2327.
- ↑ U s 2329 sammenholdt med U s 2361.
- ↑ TU s 728.
- ↑ Jf Stenvik, Patentrett 2020 s 300 (JU Vetco s 781) og Rt-1933-529 (Akre Vickery).
- ↑ Jf Pop. 81 L s 95-96 (JU SSS s 26-27 og JU Vetco s 83-84).
- ↑ U s 1169.
- ↑ U s 1163 og 1170.
- ↑ JU SSS s 512-40.
- ↑ I sak nr 17-82749TVI-OTIR/03 hadde inngriperen fått tilgang til Stridspatentet ca halvannet år før det ble offentlig tilgjengelig. Dette muliggjorde fremskutt utvikling og ibruktakelse av inngrepsgjenstanden, som ble funnet å øke inngripers vinning.
- ↑ Prop. 81 L (2012-2913) s 99 (JU SSS s 30 og JU Vetco s 88).
- ↑ Jf Vetcos brev av 30 november 2017 (U s 1916-17).
- ↑ Schei med flere: Tvisteloven kommentarutgave, 2013 s 700.
- ↑ U s 2021.
- ↑ Jf tvisteloven § 20-8 (2) og Rt-2011-1034 avsnitt 20.
- ↑ U s 2015.
- ↑ U s 2034 og s 2039.
- ↑ U s 2450.
- ↑ Rt-2011-1294 avsnitt 19.
- ↑ Jf Ot prp nr 51 (2004-2005) s 446, Rt-2011-1294 avsnitt 23 og Schei med flere: Tvisteloven kommentarutgave, 2013 s 713.
- ↑ Jf bestemmelsens annet punktum og Rt-2013-1112 avsnitt 33.
- ↑ I saken her henførte eksempelvis SSS 70 % av sine sakskostnader til ugyldighetsspørsmålet, 30 % til inngrepsspørsmålet, og intet til de øvrige krav.
- ↑ Om denne, se blant annet Rognstad-Stenvik: Hva er immaterialretten verd?, i Bonus Pater Familias: Festskrift til Peter Lødrup, 2002, s 511-48.
- ↑ Sak nr 19-148954ASK-BORG/04, ikke inntatt i sakens utdrag.
- ↑ U s 2526.
- ↑ U s 2543, fremlagt usladdet som TU s 860.
- ↑ TU s 855, jf s 852.
- ↑ Rt-2013-338 avsnitt 27 og Schei m fl: Tvisteloven kommentarutgave, 2013 s 718.
- ↑ Rt-2009-627 avsnitt 18.
- ↑ TU s 877-950.
- ↑ TU s 817-23.
- ↑ U s 852.
- ↑ TU s 861-69.
- ↑ Rt-1998-1882 sammenholdt med tvisteloven § 2-5 (1) og domstolloven § 191.
- ↑ Rt-2004-1756.
- ↑ Opprinnelig i Ot prp nr 30 (1972-73) s 14, også sitert i Ot prp nr 51 (2004-2005) s 448.
- ↑ U s 2073.
